GM Service Manual Online
For 1990-2009 cars only

Tools Required

    • J 24433 Pinion Cone and Side Bearing Installer
    • J 25070 Heat Gun
    • J 42194 Getrag Axle Bearing Race Remover
    • J 45008 Getrag Axle Bearing Race Remover

    Object Number: 777522  Size: SH
  1. Remove the bearing carrier bolts from the pinion cage.

  2. Object Number: 777519  Size: SH
  3. Using the J 25070 , heat around the pinion bearing cage to ease pinion removal.
  4. Place 2 bolts in the jackscrew holes (1) and (2).
  5. Tighten the bolts equally to push out the pinion bearing cage assembly.

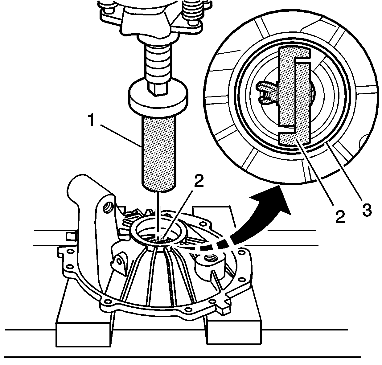
  6. Object Number: 777524  Size: SH

    Important: Mark or tag the shims for reassembly.

  7. Remove the pinion cage assembly (1), shims (2) and O-ring seal (3) from the differential carrier.

  8. Object Number: 777526  Size: SH
  9. Remove the 9 carrier cover bolts (6).
  10. Using the pry tabs (4, 5, 7), remove the carrier cover (3) from the differential carrier (1).
  11. Remove the O-ring seal (2) from the cover (3).

  12. Object Number: 777529  Size: SH
  13. Remove the differential assembly (2) from the carrier (1).

  14. Object Number: 777532  Size: SH
  15. Remove the axle oil seal (1) from the carrier cover (2) using J 24433 and hammer from inside the cover.

  16. Object Number: 777533  Size: SH
  17. Install the J 45008  (2) behind the bearing cup (3).
  18. Important: Mark or tag the shim and cup cover.

  19. Place the carrier cover in a press.
  20. Place J 24433 against J 45008 and press out the bearing cup and shim.

  21. Object Number: 777536  Size: SH
  22. Remove the axle oil seal from the carrier using J 24433 and hammer. Drive out the seal.

  23. Object Number: 777537  Size: SH
  24. Install the J 45008  (2) behind the bearing cup (3).
  25. Important: Mark or tag the shim and the race carrier.

  26. Place the carrier in a press.
  27. Place J 24433  (1) against J 45008  (2) and press out the cup.