GM Service Manual Online
For 1990-2009 cars only
Figure 1:

ECM, IC, and TP Sensor


Object Number: 803063  Size: LF
(1)Ignition Control Module (IC) Bank 2
(2)Throttle Position (TP) Sensor
(3)Throttle Position (TP) Sensor Connector
(4)Engine Control Module (ECM) C2
(5)Engine Control Module (ECM)
(6)ECM Eyelet Ground
(7)Engine Control Module (ECM) C1
(8)Ignition Control Module (IC) Bank 1 Connector
(9)Ignition Control Module (IC) Bank 1
Figure 2:

Engine Sensors and Switches


Object Number: 803066  Size: LF
(1)Intake Manifold Runner Control (IMRC) Solenoid
(2)Intake Manifold Runner Control (IMRC) Solenoid Connector
(3)Knock Sensor (KS) 2
(4)Engine Oil Pressure (EOP) Switch
Figure 3:

Fuel Pump and Sender Assembly


Object Number: 803068  Size: LF
(1)Fuel Return Line
(2)Fuel Tank Connection Cover
(3)Air Reference Hose
(4)Fuel Tank Pressure (FTP) Sensor
(5)Fuel Pressure Line
(6)Fuel Tank Pressure (FTP) Sensor Connector
Figure 4:

Accelerator Pedal


Object Number: 803074  Size: LF
(1)Accelerator Pedal Position (APP) Sensor
(2)Accelerator Pedal
(3)Brake Pedal
Figure 5:

Engine Sensors


Object Number: 803096  Size: LF
(1)Fuel Pressure Regulator
(2)Engine Coolant Temperature (ECT) Sensor
(3)Camshaft Position (CMP) Sensor
(4)Evaporarive Emissions (EVAP) Canister Purge Valve
Figure 6:

Engine Sensors


Object Number: 803100  Size: LF
(1)Intake Manifold Tuning Valve (IMTV) Solenoid
(2)Intake Manifold Runner Control (IMRC) Solenoid
(3)Mass Air Flow (MAF) Sensor
(4)Intake Resonance Switch-Over Valve
(5)Intake Resonance Switch-Over Solenoid Valve
(6)Knock Sensor (KS) 1
Figure 7:

CMP and Bank 2 Knock Sensor


Object Number: 803102  Size: LF
(1)Knock Sensor (KS) 2
(2)Camshaft Position (CMP) Sensor
Figure 8:

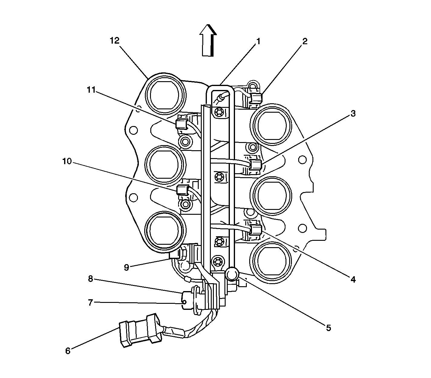
Top of the Engine - Fuel Rail and Injectors


Object Number: 803104  Size: LF
(1)Fuel Rail
(2)Fuel Injector 1
(3)Fuel Injector 3
(4)Fuel Injector 5
(5)Fuel Pressure Service Port
(6)C112
(7)Fuel Pressure Regulator Atmosphere Vent Port
(8)Fuel Pressure Regulator
(9)Fuel Injector 6
(10)Fuel Injector 4
(11)Fuel Injector 2
(12)Intake Manifold (Bottom View)
Figure 9:

Oxygen Sensors


Object Number: 803105  Size: LF
(1)Heated Oxygen Sensor (HO2S) Bank 1 Sensor 2
(2)Catalytic Converter-Right
(3)Heated Oxygen Sensor (HO2S) Bank 1 Sensor 1
(4)Heated Oxygen Sensor (HO2S) Bank 2Sensor 1
(5)Catalytic Converter-Left
(6)Heated Oxygen Sensor (HO2S) Bank 2 Sensor 2