GM Service Manual Online
For 1990-2009 cars only

Removal Procedure

  1. Remove the rear compartment lid trim. Refer to Rear Compartment Lid Inner Panel Trim Replacement .

  2. Object Number: 749173  Size: SH
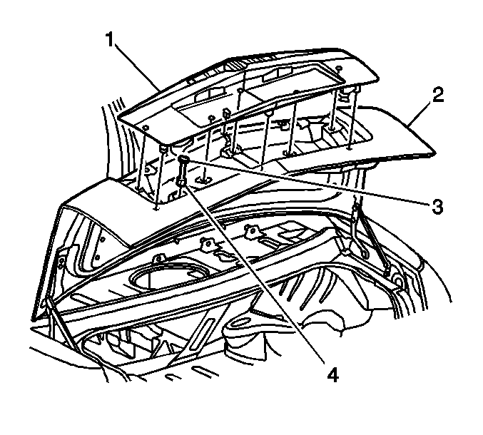
  3. Disconnect the rear compartment lid applique electrical connector (4).
  4. Remove the fasteners that retain the rear compartment lid applique (1) to the rear compartment lid (2).
  5. Remove the rear compartment lid applique (1) from the rear compartment lid (2).
  6. Remove the rear compartment lid applique electrical harness pass through (3) from the rear compartment lid (2).

Installation Procedure


    Object Number: 749173  Size: SH
  1. Position the rear compartment lid applique (1) near the rear compartment lid (2).
  2. Install the rear compartment lid applique electrical harness pass through (3) into the hole in the rear compartment lid (2).
  3. Install the rear compartment lid applique (1) to the rear compartment lid (2).
  4. Notice: Use the correct fastener in the correct location. Replacement fasteners must be the correct part number for that application. Fasteners requiring replacement or fasteners requiring the use of thread locking compound or sealant are identified in the service procedure. Do not use paints, lubricants, or corrosion inhibitors on fasteners or fastener joint surfaces unless specified. These coatings affect fastener torque and joint clamping force and may damage the fastener. Use the correct tightening sequence and specifications when installing fasteners in order to avoid damage to parts and systems.

  5. Install the rear compartment lid applique fasteners.
  6. Tighten
    Tighten the fasteners to 6 N·m (53 lb in).

  7. Install the rear compartment lid trim. Refer to Rear Compartment Lid Inner Panel Trim Replacement .