GM Service Manual Online
For 1990-2009 cars only

Water Leak Guide - Rear Passenger Floor Carpet Wet/Musty Odor and/or Spare Tire Well Wet (Apply Sealer)

Subject:Waterleak Guide -- Rear Passenger Floor Carpet Wet/Musty Odor and/or Spare Tire Well Wet (Apply Sealer)

Models:2003 Cadillac CTS



This bulletin contains repair information for the following conditions:

    • Condition 1 -- LH and/or RH Rear Passenger Floor Carpet Wet/Musty Odor
    • Condition 2 -- Spare Tire Well Wet

Condition 1

LH and/or RH rear passenger floor carpet or foot well may be wet or has a musty odor. Technicians may find evidence of water along the inner rocker panel, in the rear floor pan area and in the foam backing of the rear floor carpet.

Cause


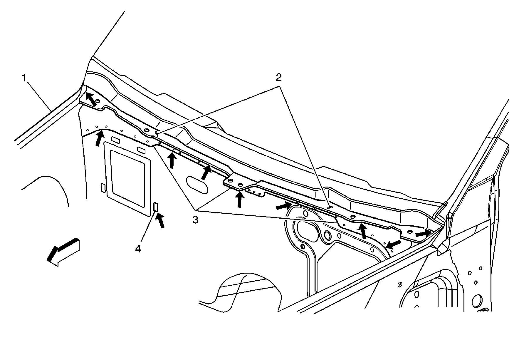
Object Number: 891787  Size: MF

This condition may be due to excessive amounts of water passing over the air inlet grille panels and entering the passenger compartment through gaps, skips or missing sealant (refer to the arrows in the illustration) between the plenum panel (2), the front of dash panels (3) and the front compartment outer side rail panels (1).

In addition, the water leak may be due to sealant interfering with the mating of the passenger compartment air filter box seal (4).

Correction

  1. Refer to the removal procedures in the Service Manual for the following:
  2. 1.1. Remove the RH and LH wiper arms.
    1.2. Remove the wiper motor module assembly.
    1.3. Remove the battery assembly.

    Object Number: 892186  Size: SH
  3. Clean the area along the joint/seam (5) and edges (6) of the plenum panel and front compartment outer side rail panel.
  4. Along the joint/seam (5) and edges (6), apply 3M® Strip-Calk, P/N 08578, or an equivalent thumb grade sealer. Ensure all voids are filled and the sealer is smoothed.

  5. Object Number: 892187  Size: SH
  6. Clean the area along the edges (7) and joint/seam (8) of the plenum panel and the front of dash panel.
  7. Along the edges (7) and joint/seam (8), apply GM Seam-Sealer Tape, P/N 12378196 ( in Canada, P/N 10953435), or an equivalent body seam sealer. Ensure all voids are filled and the sealer is smoothed.

  8. Object Number: 892675  Size: SH
  9. Inspect the passenger air filter box to ensure the retaining clips are fully seated and that the mating surface (9) of the filter box seal is free of sealant and debris.
  10. Refer to the installation procedures in the Service Manual for the following:
  11. 7.1. Install the battery assembly.
    7.2. Install the wiper motor module assembly.
    7.3. Install the RH and LH wiper arms.

Condition 2

The rear compartment or spare tire well may be wet.

Cause


Object Number: 890847  Size: MF

This condition may be due to water entering the rear compartment through gaps, skips or missing sealant (refer to the arrows in the illustration) between the rear compartment lid lower panel (3) and upper panel (4) and between the rear window drain panel (5) and rear outer quarter panel (6).

In addition, the water leak may be due to an improperly positioned rear compartment lid weatherstrip and/or tail lamp harness pass-through grommet.

Correction


Object Number: 890841  Size: SH
  1. Open the rear compartment lid and remove the bumpers and seals (7).
  2. Inspect the bumper and seal ends for evidence of water.
  3. • If the ends are wet, go to Step 3.
    • If the ends are NOT wet, go to Step 7.

    Object Number: 890847  Size: MF
  4. Refer to the removal procedures in the Service Manual for the following:
  5. 3.1. Remove the rear compartment lid inner panel trim (2).
    3.2. Remove the rear compartment lid applique/high mount stop lamp assembly (1).
  6. Clean the area along the joint/seam (refer to the arrows in the illustration) of the rear compartment lid lower panel (3) and upper panel (4).
  7. Over the existing sealant, apply 3M® Ultrapro™ Urethane Seam Sealer, P/N 08360 or 08361, or an equivalent brush-on type seam sealer or body seam sealant. Ensure all voids are filled and the sealer is smoothed.
  8. Refer to the installation procedures in the Service Manual for the following:
  9. 6.1. Install the rear compartment lid applique/high mount stop lamp assembly.
    6.2. Install the rear compartment lid inner panel trim.
  10. Water test the area along the joint/seam (refer to the arrows in the illustration) of the rear window drain panel (5) and the rear outer quarter panel (6).
  11. • If water is leaking from this area into the rear compartment, go to Step 8.
    • If water is NOT leaking from this area, go to Step 10.
  12. Clean the area along the joint/seam.
  13. Over the existing sealant, apply 3M® Strip-Calk, P/N 08578, or an equivalent thumb grade sealant. Ensure all voids are filled and the sealer is smoothed.
  14. Inspect the rear compartment lid weatherstrip to ensure the seal has not "rolled out".
  15. 10.1. Use the powder test to check for even contact.
    10.2. If necessary, adjust the seal.

Parts Information

    • GM Seam-Sealer Tape, P/N 12378196 (in Canada, P/N 10953435)
    • 3M® Strip-Calk, P/N 08578
    • 3M® Ultrapro™ Autobody Sealant
    • 3M® Ultrapro™ Urethane Seam Sealer (Brushable), P/N 08360 or 08361