GM Service Manual Online
For 1990-2009 cars only

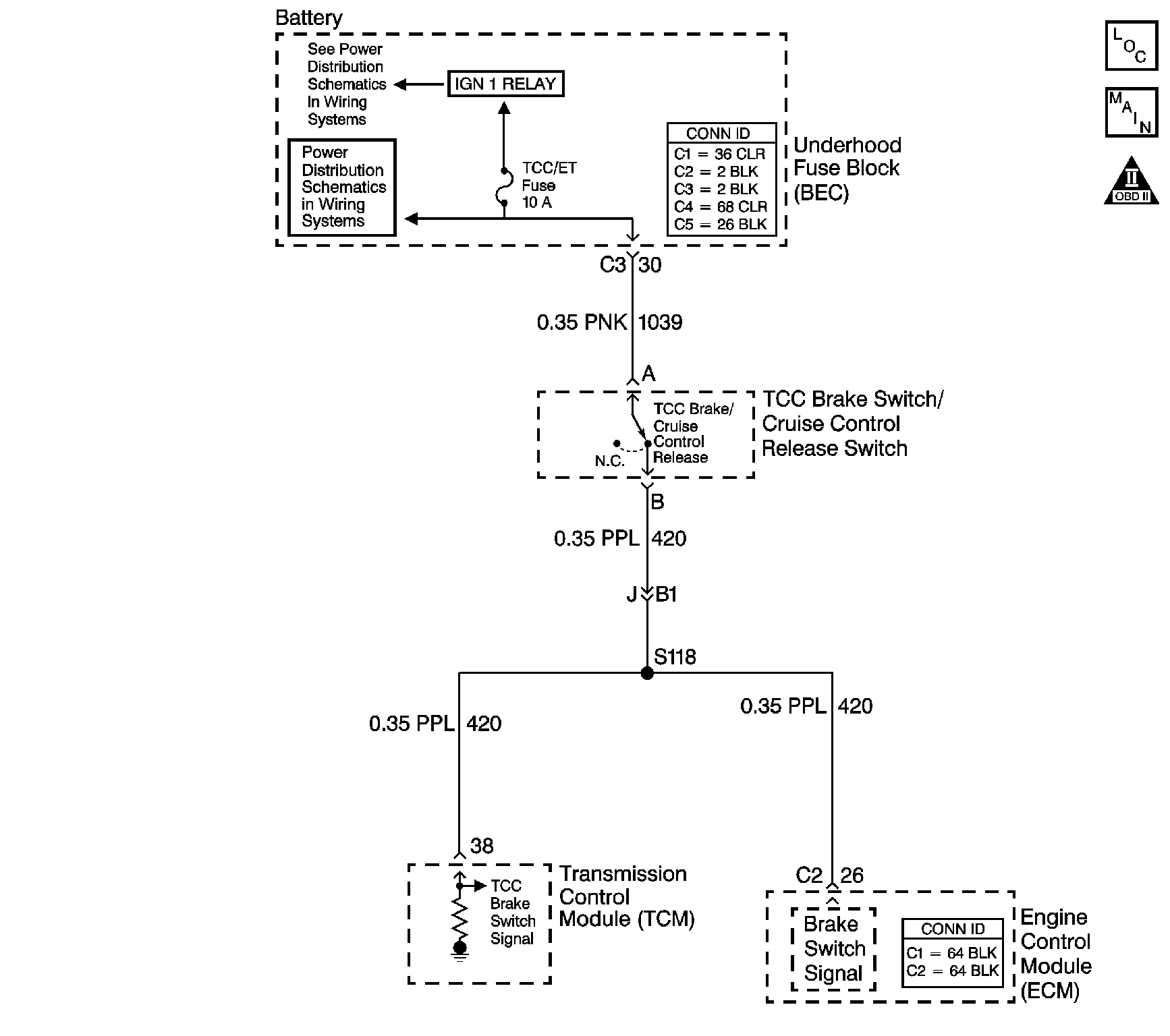
Object Number: 798822  Size: LF
Master Electrical Component List
Automatic Transmission Controls Schematics
OBD II Symbol Description Notice

Circuit Description

The torque converter clutch (TCC) brake switch is used to indicate the status of the brake pedal, applied or released, to the transmission control module (TCM). The normally-closed TCC brake switch supplies an ignition voltage input to the TCM. Applying the brake pedal opens the switch, interrupting voltage to the TCM. Releasing the brake pedal resumes voltage to the TCM. When the TCM senses 0 volts at the TCC brake switch input, the TCM de-energizes the TCC solenoid valve.

If the TCM detects a closed TCC brake switch, stuck OFF, during decelerations, then DTC P0724 sets. DTC P0724 is a type C DTC.

Conditions for Running the DTC

    • No OSS DTCs P0722 or P0723.
    • DTC P0724 has not passed this ignition cycle.
    • The system voltage is 8-18 volts.

Conditions for Setting the DTC

The TCC brake switch input indicates ignition voltage and the following conditions occur eight times without a status change on the TCC brake input:

    • The vehicle speed is greater than 32 km/h (20 mph) for 6 seconds, then;
    • The vehicle speed is between 32 km/h (20 mph) and 8 km/h (5 mph) for at least 3 seconds, but no more than 7 seconds, then;
    • The vehicle speed is less than 8 km/h (5 mph).

Action Taken When the DTC Sets

    • The TCM does not request the ECM to illuminate the malfunction indicator lamp (MIL).
    • The TCM records the operating conditions when the Conditions for Setting the DTC are met. The TCM stores this information as a Failure Record.
    • The TCM stores DTC P0724 in TCM history.

Conditions for Clearing the DIC/DTC

    • The TCM clears the DIC message when the condition no longer exists.
    • The TCC brake switch input indicates 0 volts for 2 seconds.
    • A scan tool can clear the DTC.
    • The TCM clears the DTC from TCM history if the vehicle completes 40 warm-up cycles without a non emission related diagnostic fault occurring.
    • The TCM cancels the DTC default actions when the fault no longer exists and the DTC passes.

Test Description

The numbers below refer to the step numbers on the diagnostic table.

  1. Disconnecting the brake switch connector, and observing a status change, isolates the brake switch as the source of the DTC.

  2. This step inspects the signal circuit for a short to voltage, if the brake switch status on the scan tool did not change in Step 2.

  3. If the brake switch is properly adjusted, then the brake switch must be replaced.

  4. Replace the TCM only after you have completed the preceding diagnostic steps.

Step

Action

Value(s)

Yes

No

1

Did you perform the Diagnostic System Check - Engine Controls?

--

Go to Step 2

Go to Diagnostic System Check - Engine Controls in Engine Controls - 2.6L and 3.2L

2

  1. Install a scan tool.
  2. Turn ON the ignition, with the engine OFF.
  3. Important: 

       • Before clearing the DTC, use the scan tool in order to record the ECM and the TCM Failure Records. Using the Clear Info function erases the Failure Records from the ECM and TCM.
       • Using the Clear Info function erases stored DTCs in both the ECM and TCM.

  4. Record the DTC Failure Records.
  5. Clear the DTC.
  6. Select TCC Brake Switch on the scan tool.
  7. Disconnect the TCC brake switch connector.

Does the TCC brake switch status change from OFF to ON?

--

Go to Step 4

Go to Step 3

3

Test the TCC brake switch/cruise control release switch signal circuit (CKT 420) of the TCC brake switch for a short to voltage.

Refer to Testing for a Short to Voltage in Wiring Systems.

Did you find and correct the condition?

--

Go to Step 6

Go to Step 5

4

Replace the TCC brake switch.

Refer to Torque Converter Clutch/Cruise Control Release Switch Replacement .

Did you complete the replacement?

--

Go to Step 6

--

5

Replace the TCM. Refer to Transmission Control Module Replacement .

Did you complete the replacement?

--

Go to Step 6

--

6

Perform the following procedure in order to verify the repair:

  1. Select DTC.
  2. Select Clear Info.
  3. Operate the vehicle under the following conditions:
  4. • Turn ON the ignition, with the engine OFF.
    • Apply the brake pedal for at least 2 seconds, then release it.
  5. Select Specific DTC.
  6. Enter DTC P0724.

Has the test run and passed?

--

Go to Step 7

Go to Step 2

7

With the scan tool, observe the stored information, capture info and DTC info.

Does the scan tool display any DTCs that you have not diagnosed?

--

Go to Diagnostic Trouble Code (DTC) List in Engine Controls - 2.6L and 3.2L

System OK