GM Service Manual Online
For 1990-2009 cars only

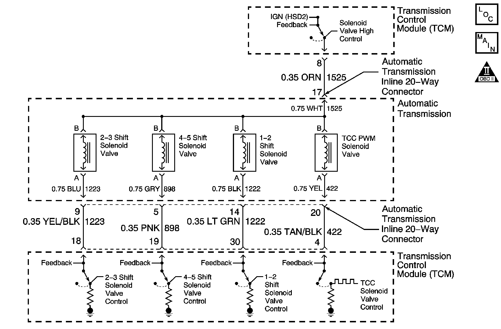
Object Number: 821279  Size: MF
Master Electrical Component List
Automatic Transmission Controls Schematics
OBD II Symbol Description Notice

Circuit Description

The transmission control module (TCM) provides voltage to the torque converter clutch pulse width modulated (TCC PWM) solenoid valve through High Side Driver 2 (HSD2). The TCM controls the ON and OFF time of the solenoid by providing a ground through the output driver module (ODM) . The TCM uses a PWM duty cycle, in order to control application and release of the TCC. When the solenoid is commanded OFF, the TCM senses high voltage. When the solenoid is commanded ON, the TCM senses low voltage.

When the TCM detects a continuous open or short to ground in the TCC PWM Solenoid valve circuit, then DTC P1867 sets. DTC P1867 is a type B DTC.

Conditions for Running the DTC

    • The system voltage is 8-18 volts.
    • The engine run time is greater than 5 seconds.
    • HSD2 is commanded ON.

Conditions for Setting the DTC

DTC P1867 sets when the TCM detects an short to voltage in the TCC PWM solenoid valve circuit when the PWM duty cycle is 45 percent or greater.

Action Taken When the DTC Sets

    • The TCM requests the ECM to illuminate the malfunction indicator lamp (MIL) during the second consecutive drive trip in which the Conditions for Setting the DTC are met.
    • The TCM inhibits fifth gear if the transmission is in Hot Mode.
    • The TCM inhibits the TCC.
    • The TCM discontinues updating transmission adaptive pressure (TAP) memory cells.
    • At the time of the first failure, the TCM records the operating conditions when the Conditions for Setting the DTC are met. The TCM stores this information as a Failure Record.
    • At the time of the second failure, the ECM records the operating conditions when the Conditions for Setting the DTC are met. The ECM stores this information as a Freeze Frame.
    • The TCM stores DTC P1867 in TCM history.

Conditions for Clearing the MIL/DTC

    • The ECM turns OFF the MIL after the sixth consecutive drive trip in which the TCM does not send a MIL illumination request.
    • A scan tool can clear the MIL/DTC.
    • The TCM clears the DTC from TCM history if the vehicle completes 40 warm-up cycles without an emission related diagnostic fault occurring.
    • The TCM cancels the default actions when the ignition is OFF long enough in order to power down the TCM.

Test Description

The number below refers to the step number on the diagnostic table.

  1. Listen for a soft rattling sound when the solenoid energizes. Use a stethoscope if necessary.

Step

Action

Value(s)

Yes

No

1

Did you perform the Diagnostic System Check - Engine Controls?

--

Go to Step 2

Go to Diagnostic System Check - Engine Controls in Engine Controls - 2.6L and 3.2L

2

  1. Install a scan tool.
  2. Turn ON the ignition with the engine OFF.
  3. Important: 

       • Before clearing the DTC, use the scan tool in order to record the ECM Freeze Frame and the TCM Failure Records. Using the Clear Info function erases the Freeze Frame and Failure Records from the ECM and the TCM.
       • Using the Clear Info function erases stored DTCs in both the ECM and TCM.

  4. Record the DTC Freeze Frame and Failure Records.
  5. Clear the DTC.
  6. Use the scan tool in order to command the TCC PWM solenoid ON.

Does the solenoid operate?

--

Go to Step 8

Go to Step 3

3

  1. Turn OFF the ignition.
  2. Disconnect the AT 20-way inline harness connector.
  3. Install the J 45681 jumper harness to the TCM side of the 20-way connector.
  4. Turn ON the ignition with the engine OFF.
  5. With the test lamp connected to ground, probe the HSD2 circuit, terminal 17, of the J 45681 .

Does the test lamp illuminate?

--

Go to Step 4

Go to Step 6

4

  1. Turn OFF the ignition.
  2. Install the J 45681 to the transmission side of the 20-way connector.
  3. Using the DMM, measure the resistance between terminal 17 and 20 of the J 45681 .
  4. Refer to Component Resistance .

Is the resistance within the specified range?

10.0-13.6ohms

Go to Step 5

Go to Step 7

5

  1. Disconnect the TCM.
  2. Test the TCC PWM solenoid valve control circuit (CKT 422) for a short to voltage. Refer to Testing for a Short to Voltage in Wiring Systems.

Did you find a condition?

--

Go to Step 9

Go to Step 8

6

  1. Turn OFF the ignition.
  2. Disconnect the TCM.
  3. Test the HSD2 circuit from the TCM to the TCC PWM solenoid (CKT 1525) for an open circuit. Refer to Testing for Continuity in Wiring Systems.

Did you find a condition?

--

Go to Step 9

Go to Step 8

7

  1. Remove the transmission oil pan.
  2. Test the TCC PWM solenoid wiring from the 20-way connector to the TCC PWM solenoid connector for a short to voltage. Refer to Testing for a Short to Voltage in Wiring Systems.

Did you find a condition?

--

Go to Step 10

Go to Step 11

8

Replace the TCM. Refer to Transmission Control Module Replacement .

Is the action complete?

--

Go to Step 12

--

9

Perform the necessary wiring repairs. Refer to Wiring Repairs in Wiring Systems.

Is the action complete?

--

Go to Step 12

--

10

Replace the AT internal transmission wiring harness. Refer to Transmission Internal Electrical Harness Replacement .

Is the action complete?

--

Go to Step 12

--

11

Replace the TCC PWM solenoid valve. Refer to Torque Converter Clutch Solenoid Replacement .

Is the action complete?

--

Go to Step 12

--

12

Perform the following procedure in order to verify the repair:

  1. Select DTC.
  2. Select Clear Info.
  3. Turn ON the ignition, with the engine OFF.
  4. Select Specific DTC.
  5. Enter DTC P1867.

Has the test run and passed?

--

Go to Step 13

Go to Step 2

13

With the scan tool, observe the stored information, capture info and DTC info.

Does the scan tool display any DTCs that you have not diagnosed?

--

Go to Diagnostic Trouble Code (DTC) List in Engine Controls - 2.6L and 3.2L

System OK