GM Service Manual Online
For 1990-2009 cars only
Makes
🢒
Cadillac
🢒
2004
🢒
CTS
🢒
Engine
🢒
Engine Mechanical - 5.7L
🢒 Disassembled Views
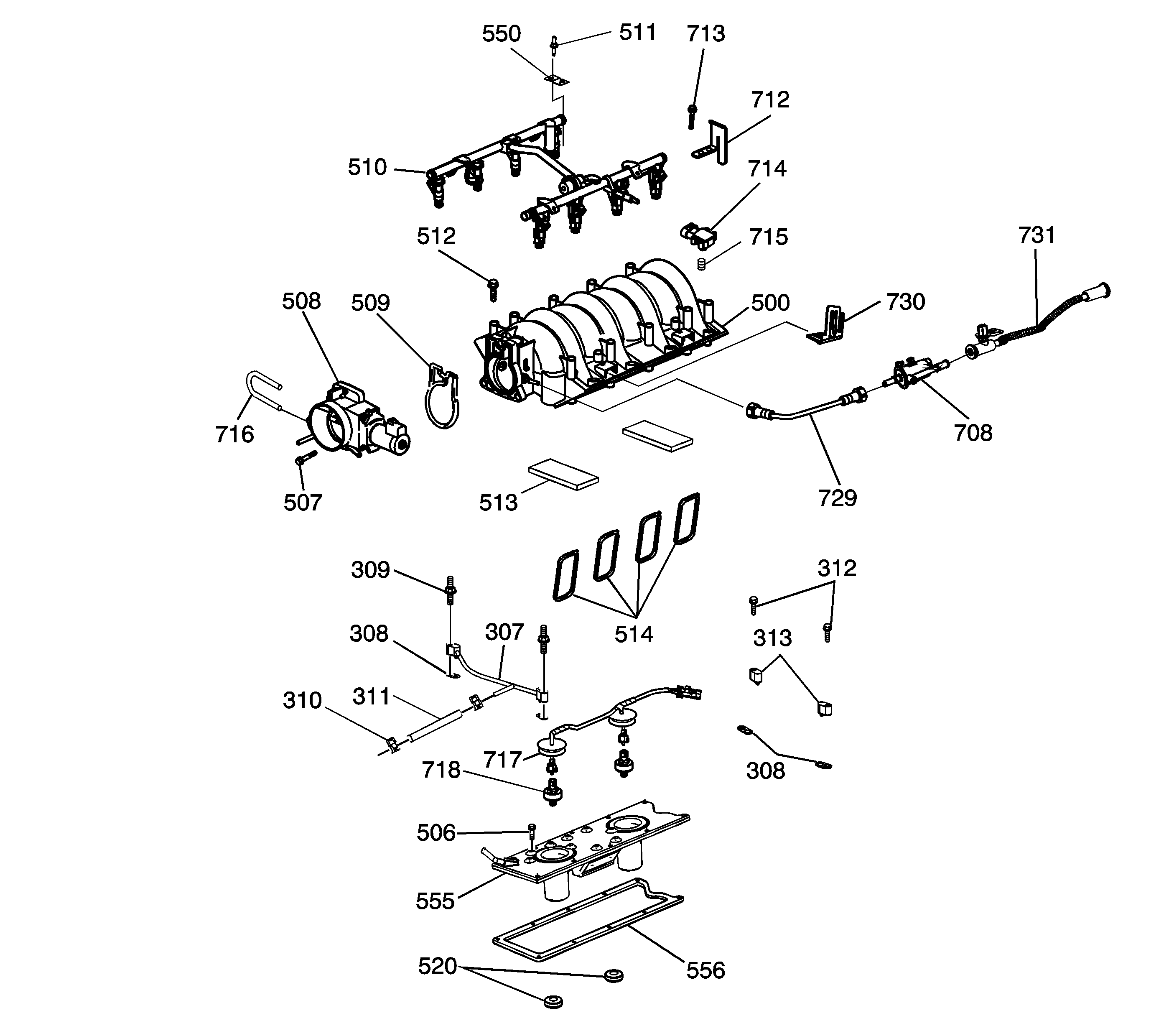
Figure
1:
Intake Manifold/Upper Engine
(307)
Engine Coolant Air Bleed Pipe
(308)
Engine Coolant Air Bleed Pipe/Cover Gasket
(308)
Engine Coolant Air Bleed Pipe/Cover Gasket
(309)
Engine Coolant Air Bleed Pipe Stud
(310)
Engine Coolant Air Bleed Hose Clamp
(311)
Engine Coolant Air Bleed Hose
(312)
Engine Coolant Air Bleed Cover Bolt
(313)
Engine Coolant Air Bleed Cover
(500)
Intake Manifold
(506)
Valley Cover Bolt
(507)
Throttle Body Bolt
(508)
Throttle Body
(509)
Throttle Body Gasket
(510)
Fuel Rail with Injectors
(511)
Fuel Rail Bolt
(512)
Intake Manifold Bolt
(513)
Intake Manifold Insulator
(514)
Intake Manifold Gaskets
(520)
Knock Sensor Oil Seals
(550)
Fuel Rail Ground Strap
(555)
Valley Cover
(556)
Valley Cover Gasket
(708)
EVAP Purge Valve
(712)
Fuel Rail Stop Bracket
(713)
Intake Manifold Bolt
(714)
MAP Sensor
(715)
MAP Sensor Grommet
(716)
PCV Hose
(717)
Knock Sensor Wire Harness
(718)
Knock Sensor
(729)
EVAP Purge Valve Hose
(730)
EVAP Purge Valve Bracket
(731)
EVAP Purge Valve Hose
Figure
2:
Cylinder Head/Upper Engine
(209)
Valve Lifter
(210)
Valve Lifter Guide
(211)
Valve Lifter Guide Bolt
(212)
Pushrod
(213)
Rocker Arm
(214)
Rocker Arm Bolt
(215)
Rocker Arm Pedestal
(216)
Expansion Plug
(217)
Cylinder Head Gasket
(218)
Cylinder Head
(219)
Cylinder Head Bolt - M8 Short
(220)
Cylinder Head Bolt - M11 Medium
(221)
Cylinder Head Bolt - M11 Long - First Design
(222)
Valve Stem Oil Seal and Shim
(222)
Valve Stem Oil Seal and Shim
(223)
Valve Spring
(223)
Valve Spring
(224)
Valve Spring Cap
(224)
Valve Spring Cap
(225)
Valve Stem Key
(226)
Expansion Plug
(227)
Intake Valve
(228)
Exhaust Valve
(229)
Cylinder Head Coolant Plug
(230)
Cylinder Head Locating Pin
(422)
Oil Fill Tube O-Ring
(423)
Oil Fill Tube
(424)
Oil Fill Cap
(450)
Oil Fill Cap O-Ring
(504)
Valve Cover Gasket
(504)
Valve Cover Gasket
(505)
Valve Cover
(505)
Valve Cover
(515)
Valve Cover Bolt Grommet
(516)
Valve Cover Bolt
(557)
Valve Cover Grommet
(558)
Valve Cover Grommet Plug
(600)
Exhaust Manifold
(601)
Exhaust Manifold Gasket
(602)
Exhaust Manifold Bolt
(603)
Exhaust Manifold Heat Shield
(604)
Exhaust Manifold Heat Shield Bolt
(605)
Takedown Pipe Stud
(700)
Fresh Air Hose
(719)
Ignition Coil and Bracket Assembly
(720)
Ignition Coil and Bracket Assembly Bolt
(721)
Ignition Coil Wire Harness
(722)
Ignition Coil
(723)
Ignition Coil Bolt
(724)
Spark Plug Wire
(725)
Coolant Temperature Sensor
(726)
Spark Plug
Figure
3:
Front of Engine
(100)
Engine Block
(138)
Crankshaft Balancer
(139)
Crankshaft Balancer Bolt
(140)
Crankshaft Front Oil Seal
(143)
Balance Weight - Manual Transmission
(200)
Camshaft
(201)
Camshaft Bearings
(202)
Camshaft Sprocket Locating Pin
(203)
Camshaft Retainer Plate
(204)
Bolt
(205)
Camshaft Sprocket
(206)
Bolt
(207)
Crankshaft Sprocket
(208)
Timing Chain
(231)
Bolt
(232)
Timing Chain Dampener
(300)
Water Pump
(301)
Bolt
(302)
Bolt
(303)
Water Inlet Housing
(304)
O-Ring
(305)
Thermostat
(306)
Water Pump Gaskets
(404)
Nut
(405)
Bolt
(406)
Oil Pump Screen O-Ring
(407)
Oil Pump Screen
(408)
Bolt
(409)
Oil Pump Cover
(410)
Drive Gear
(411)
Bolt
(412)
Driven Gear
(413)
Oil Pump Assembly
(414)
Pressure Relief Valve
(415)
Pressure Relief Valve Spring
(416)
Plug
(417)
Oil Level Indicator O-Ring
(418)
Oil Level Indicator
(419)
Bolt
(420)
Oil Level Indicator Tube
(421)
Oil Level Indicator Tube O-Ring
(501)
Bolt
(502)
Engine Front Cover
(503)
Engine Front Cover Gasket
Figure
4:
Rear of Engine
(100)
Engine Block
(123)
Clutch Pilot Bearing - Manual Transmission
(133)
Bolt
(134)
Flywheel - Manual Transmission
(135)
Clutch Disc - Manual Transmission
(136)
Pressure Plate - Manual Transmission
(137)
Pressure Plate Bolt - Manual Transmission
(141)
Crankshaft Rear Oil Seal
(142)
Pressure Plate Locating Pin - Manual Transmission
(144)
Balance Weight - Manual Transmission
(517)
Bolt
(518)
Rear Cover
(519)
Rear Cover Gasket
Figure
5:
Lower Engine Assembly
(100)
Engine Block
(102)
Connecting Rod Bolt
(103)
Connecting Rod Cap
(104)
Connecting Rod Bearings
(105)
Connecting Rod
(106)
Piston Pin
(107)
Piston
(108)
Piston Rings
(109)
Piston Pin Clip - Second Design with Full-Floating Pin
(120)
Crankshaft Thrust Bearing
(120)
Crankshaft Thrust Bearing
(121)
Crankshaft Main Bearing
(121)
Crankshaft Main Bearing
(122)
Crankshaft Sprocket Key
(123)
Clutch Pilot Bearing - Manual Transmission
(124)
Crankshaft
(126)
Bearing Cap
(127)
Bearing Cap Side Bolt
(128)
Bearing Cap Bolt/Stud
(129)
Bearing Cap Bolt
(400)
Oil Pan
(401)
Closeout Cover - Right
(402)
Closeout Cover Bolt - Right
(403)
Crankshaft Oil Deflector Nut
(425)
Crankshaft Oil Deflector
(426)
Oil Pan Gasket
(427)
Oil Pan Baffle Bolt
(428)
Oil Pan Baffle
(429)
Oil Pan Drain Plug O-Ring
(430)
Oil Pan Drain Plug
(431)
Closeout Cover - Left
(432)
Closeout Cover Bolt - Left
(433)
Oil Pan Cover Gasket
(434)
Oil Pan Cover
(435)
Oil Pan Cover Bolts
(436)
Oil Filter Bypass Valve
(437)
Oil Filter
(438)
Oil Filter Fitting
(439)
Oil Pan Bolt
(700)
Crankshaft Position Sensor Bolt
(701)
Crankshaft Position Sensor
(702)
Crankshaft Position Sensor O-Ring
(727)
Oil Level Sensor
(728)
Oil Level Sensor O-Ring
(732)
Oil Temperature Sensor
Figure
6:
Engine Block Plugs/Sensors
(100)
Engine Block
(101)
Engine Block Front Oil Gallery Plug
(110)
Engine Block Rear Oil Gallery Plug O-Ring
(110)
Engine Block Rear Oil Gallery Plug O-Ring
(111)
Engine Block Rear Oil Gallery Plug
(111)
Engine Block Rear Oil Gallery Plug
(112)
Oil Gallery Plug
(113)
Oil Gallery Plug Washer
(114)
Coolant Heater
(115)
Coolant Heater Washer
(116)
Oil Gallery Plug
(117)
Oil Gallery Plug Washer
(130)
Transmission Housing Locating Pin
(145)
Coolant Drain Plug Washer - Right
(146)
Coolant Drain Plug - Right
(700)
Crankshaft Position Sensor Bolt
(701)
Crankshaft Position Sensor
(702)
Crankshaft Position Sensor O-Ring
(703)
Camshaft Position Sensor
(704)
Camshaft Position Sensor O-Ring
(705)
Camshaft Position Sensor Bolt
(706)
Oil Pressure Sensor
(707)
Oil Pressure Sensor Washer
Figure
7:
Oil Pump Assembly
(408)
Cover Bolt
(409)
Cover
(410)
Drive Gear
(412)
Driven Gear
(413)
Oil Pump
(414)
Pressure Relief Valve
(415)
Pressure Relief Valve Spring
(416)
Plug