GM Service Manual Online
For 1990-2009 cars only

Tools Required

J 42162 Getrag Axle Side Gear Compressor


    Object Number: 1387319  Size: SH
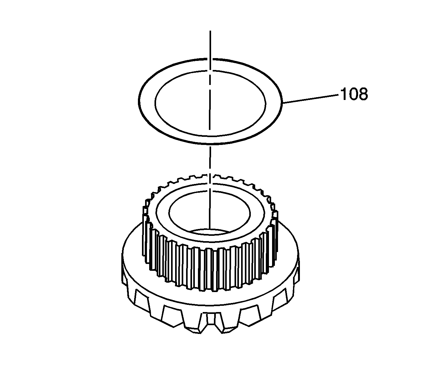
  1. Install a beveled washer (108) on the axle side gear with bevel facing out.

  2. Object Number: 1387318  Size: SH
  3. Install a thick pressure plate (109) with friction material facing away from the gear teeth.

  4. Object Number: 1387320  Size: SH

    Important: Friction discs and separator plates develop specific wear patterns. During disc and plate installation, keep the components in the order in which they were removed.

  5. Install the steel plate against friction material of the pressure plate. Alternate the installation of steel plates and friction discs. Ensure that the last steel plate of the clutch pack (110) is against the case half.
  6. Repeat steps 1 through 3 for the other side.

  7. Object Number: 1387317  Size: SH
  8. Install the assembled axle side gear (107) into the right case half (105).
  9. Align tabs on the steel plates to fit the grooves.

  10. Object Number: 1387326  Size: SH
  11. Install the assembled axle side gear (107) into the left case half (104).
  12. Align tabs on the steel plates to fit the grooves.

  13. Object Number: 1387322  Size: SH
  14. Using J 42162 and a press, apply light pressure on the pinion gears and washers so they align with the pinion differential shaft bores.
  15. Install the differential shaft (103) ensuring that it moves through the washers and gears properly.

  16. Object Number: 1387327  Size: SH
  17. Align bolt holes between the halves and lightly press them together.
  18. If shimming is necessary, refer to Differential Carrier Bearing Preload Adjustment .