GM Service Manual Online
For 1990-2009 cars only

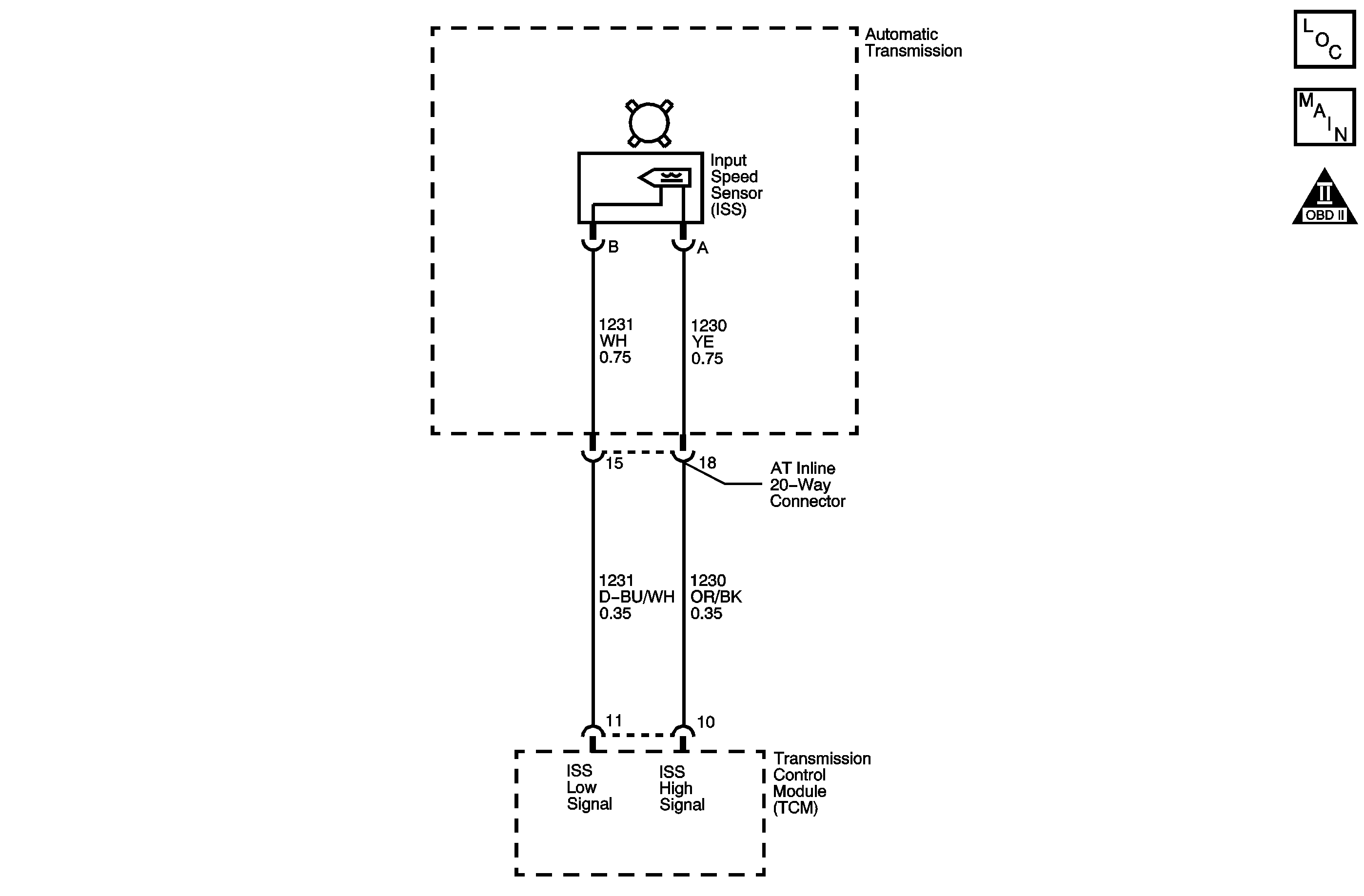
Object Number: 1285483  Size: MF
Master Electrical Component List
Automatic Transmission Controls Schematics
OBD II Symbol Description Notice

Circuit Description

The input shaft speed (ISS) sensor is a permanent magnet generator. The ISS sensor mounts in the transmission case in front of the valve body assembly. The sensor faces the reverse clutch housing machined teeth surface. As the reverse clutch housing rotates, an AC voltage is induced and transmitted to the transmission control module (TCM). The AC voltage level and the number of pulses increase as the speed of the reverse clutch housing increases. The TCM converts the AC voltage into a digital signal. The TCM uses the input shaft speed signal to help determine line pressure, transmission shift patterns, torque converter clutch (TCC) slip speed and gear ratio.

If the TCM detects an unrealistic drop in input shaft speed, DTC P0716 sets. DTC P0716 is a type B DTC.

Conditions for Running the DTC

    • No throttle system DTC P0120.
    • No ISS DTC P0717.
    • No OSS DTCs P0722 or P0723.
    • No 1-2 Shift Solenoid Performance DTC P0752.
    • No 1-2 Shift Solenoid Electrical DTCs P0973 or P0974.
    • The engine run time is greater than 5 seconds.
    • The vehicle speed is greater than 16 km/h (10 mph).
    • The transmission input shaft speed is greater than 1,050 RPM for 2 seconds.
    • The throttle position is greater than 12 percent.
    • One of the following conditions exist:
       - The transmission input shaft speed has not changed for at least 2 seconds.
       - The transmission input shaft speed has increased by greater than 500 RPM within 2 seconds.

Conditions for Setting the DTC

The transmission input shaft speed drops more than 1,000 RPM for at least 4 seconds.

Action Taken When the DTC Sets

    • The TCM illuminates the malfunction indicator lamp (MIL) during the second consecutive trip in which the Conditions for Setting the DTC are met.
    • The TCM commands maximum line pressure.
    • The TCM freezes transmission adaptive functions.
    • The TCM calculates input speed from the automatic transmission output shaft speed sensor and commanded gear.
    • At the time of the first failure, the TCM records the operating conditions when the Conditions for Setting the DTC are met. The TCM stores this information as a Failure Record.
    • At the time of the second failure, the ECM records the operating conditions when the Conditions for Setting the DTC are met. The ECM stores this information as a Freeze Frame.
    • The TCM stores DTC P0716 in TCM history.

Conditions for Clearing the MIL/DTC

    • The ECM turns OFF the MIL after the sixth consecutive drive trip in which the TCM does not send a MIL illumination request.
    • A scan tool can clear the MIL/DTC.
    • The TCM clears the DTC from TCM history if the vehicle completes 40 warm-up cycles without an emission related diagnostic fault occurring.
    • The TCM cancels the default actions when the ignition is OFF long enough in order to power down the TCM.

Diagnostic Aids

Ensure the ISS is properly torqued to the transmission housing.

Test Description

The numbers below refer to the step numbers on the diagnostic table.

  1. The resistance measurement will not change if either the ISS high signal circuit or the ISS low signal circuit, but not both, is shorted to ground. The vehicle speed detector in the TCM and the ISS are matched in such a way that an open or a short to ground in the ISS low signal circuit will not usually cause a loss of speed signal or a DTC P0716 to set.

  2. This step isolates the short between the ISS and the wiring.

  3. Refer to the latest procedures for TCM reprogramming.

Step

Action

Value(s)

Yes

No

1

Did you perform the Diagnostic System Check - Automatic Transmission?

--

Go to Step 2

Go to Diagnostic System Check - Automatic Transmission

2

  1. Install a scan tool.
  2. Turn ON the ignition with the engine OFF.
  3. Important: 

       • Before clearing the DTC, use the scan tool in order to record the ECM Freeze Frame and the TCM Failure Records. Using the Clear Info function erases the Freeze Frame and Failure Records from the ECM and the TCM.
       • Using the Clear Info function erases stored DTCs in both the ECM and TCM.

  4. Record the DTC Freeze Frame and Failure Records.
  5. Clear the DTC.
  6. Start the engine.
  7. Select Transmission ISS on the scan tool.

Does the scan tool display input shaft speed above the specified value?

500 RPM

Go to Intermittent Conditions in Engine Controls - 2.6L and 3.2L or Intermittent Conditions in Engine Controls - 3.6L (LY7)

Go to Step 3

3

  1. Turn OFF the ignition.
  2. Disconnect the TCM.
  3. Using the DMM and the J 35616 GM-terminal test kit, measure the resistance between the ISS high signal and low signal circuits at the TCM connector.

Is the resistance within the specified range?

325-575 ohms

Go to Step 5

Go to Step 4

4

Test the ISS high signal circuit and ISS low signal circuit for the following conditions:

    • An open circuit or high resistance condition
    • ISS high signal circuit and ISS low signal circuit shorted together

Refer to Testing for Continuity in Wiring Systems.

Did you find and correct a condition?

--

Go to Step 12

Go to Step 9

5

Measure the resistance between ISS high signal circuit at the TCM connector and ground.

Is the resistance greater than the specified value?

50K ohms

Go to Step 8

Go to Step 6

6

  1. Leave the DMM connected between the ISS signal circuit and ground.
  2. Disconnect the ISS.
  3. Measure the resistance.

Is the resistance greater than the specified value?

50K ohms

Go to Step 9

Go to Step 7

7

Repair the short to ground in the ISS high signal circuit. Refer to Wiring Repairs in Wiring Systems.

Did you complete the repair?

--

Go to Step 12

--

8

  1. Connect the DMM between the ISS high signal and low signal circuits.
  2. Place the transmission in Park.
  3. Start the engine.

Is the AC voltage equal to or greater than the specified value?

0.5 V

Go to Step 11

Go to Step 9

9

  1. Remove the ISS. Refer to Input Speed Sensor Replacement .
  2. Inspect the ISS and the ISS rotor for the following conditions:
  3. • ISS damage
    • ISS rotor damage
    • Excessive air gap between the reverse clutch input housing assembly (401) rotor and the ISS
    • Incorrect alignment between the ISS and the reverse clutch input housing assembly (401) rotor
  4. Repair or replace any of the above items as necessary.

Did you find and correct a condition?

--

Go to Step 12

Go to Step 10

10

Replace the ISS. Refer to Input Speed Sensor Replacement .

Did you complete the repair?

--

Go to Step 12

--

11

Replace the TCM. Refer to Transmission Control Module Replacement .

Is the action complete?

--

Go to Step 12

--

12

Perform the following procedure in order to verify the repair:

  1. Select DTC.
  2. Select Clear Info.
  3. Start and idle the engine.
  4. Observe Transmission ISS on the scan tool. Input speed must be greater than 550 RPM for 4 seconds.
  5. Select Specific DTC.
  6. Enter DTC P0716.

Has the test run and passed?

--

Go to Step 13

Go to Step 2

13

With the scan tool, observe the stored information, capture info and DTC info.

Does the scan tool display any DTCs that you have not diagnosed?

--

Go to Diagnostic Trouble Code (DTC) List in Engine Controls - 2.6L and 3.2L or Diagnostic Trouble Code (DTC) List in Engine Controls - 3.6L (LY7)

System OK