GM Service Manual Online
For 1990-2009 cars only
Figure 1:

Power, Ground, Serial Data, and Audio Signal Communication


Object Number: 1761545  Size: FS
Master Electrical Component List
Radio/Audio System Description and Operation
Control Module References
Radio Antenna Module and Antennas
Entertainment Schematic Icons
Entertainment Schematic Icons
G402 - 1 of 2
OnStar (VEI)
Entertainment Schematic Icons
Entertainment Schematic Icons
Steering Wheel Controls - 2.8L/3.6L (LP1/LY7)
Gages - 6.0L (LS2)
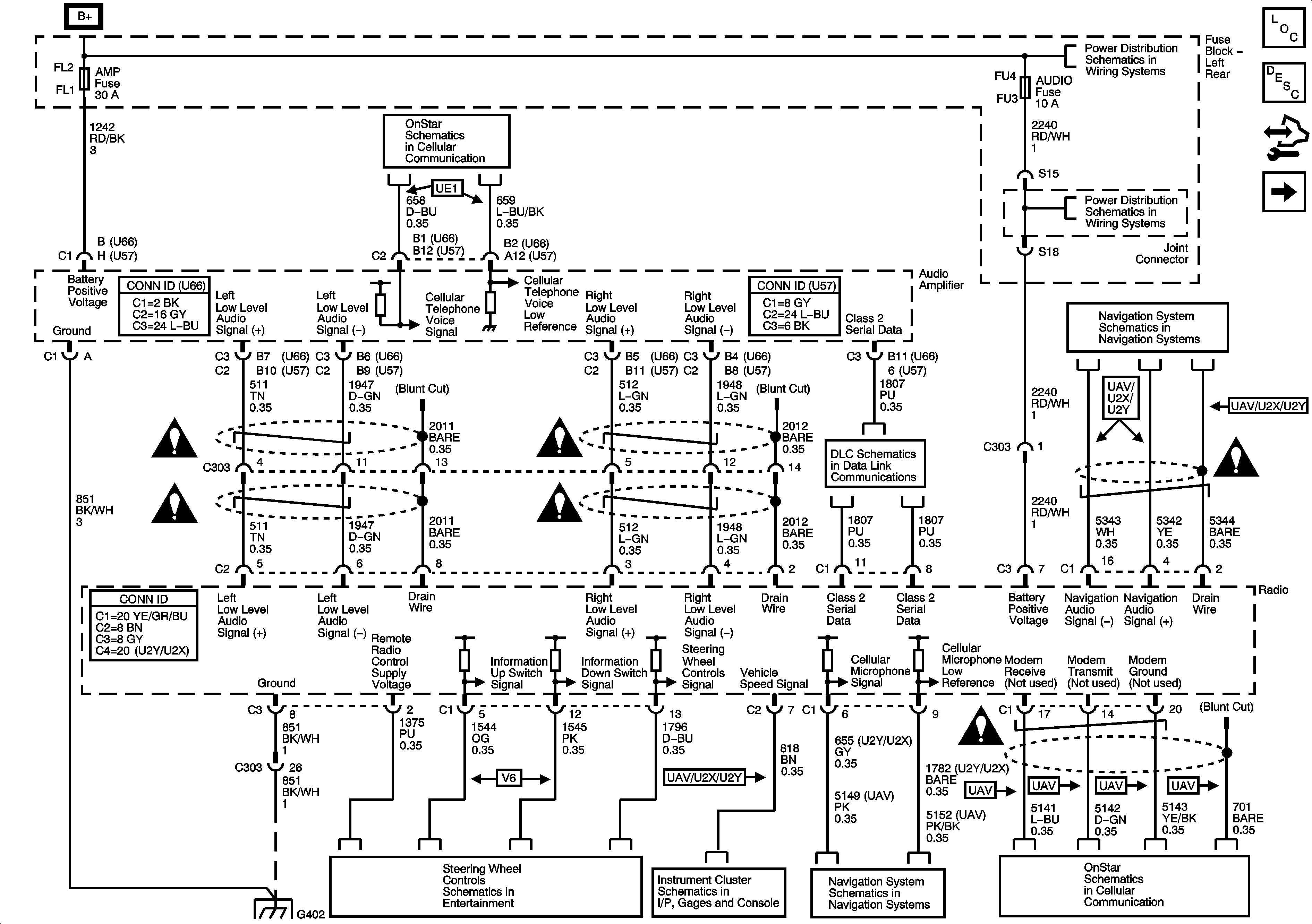
Navigation Antenna, Radio, Audio Amplifier, VCIM, and ISRVM
Class 2 Serial Data Bus (LHD) - 2 of 2
Left Rear Fuse Block B+ Bus
Left Rear Fuse Block - SEAT Circuit Breaker, TRUNK Relay/Fuse, AMP, AUDIO, DRIVER DR MOD, and REAR DR MOD Fuse
Navigation Antenna, Radio, Audio Amplifier, VCIM, and ISRVM
Entertainment Schematic Icons
Entertainment Schematic Icons
OnStar (VEI)
Figure 2:

Radio Antenna Module and Antennas


Object Number: 1471025  Size: FS
Master Electrical Component List
Radio/Audio System Description and Operation
Control Module References
Digital Radio Receiver (U2Y/U2X/U2K/U2L)
Power, Ground, Serial Data, and Audio Signals Communication
Left Rear Fuse Block B+ Bus
Left Rear Fuse Block - SEAT Circuit Breaker, TRUNK Relay/Fuse, AMP, AUDIO, DRIVER DR MOD, and REAR DR MOD Fuse
Left Rear Fuse Block - SEAT Circuit Breaker, TRUNK Relay/Fuse, AMP, AUDIO, DRIVER DR MOD, and REAR DR MOD Fuse
Keyless Entry
Tire Pressure Monitoring System
Traffic Information Receiver - Japan w/U2X/U2Y
Class 2 Serial Data Bus (LHD) - 2 of 2
Figure 3:

Digital Radio Reciever (U2Y/U2X/U2K/U2L)


Object Number: 1471028  Size: FS
Master Electrical Component List
Radio/Audio System Description and Operation
Control Module References
Speakers (U66)
Radio Antenna Module and Antennas
Left Rear Fuse Block B+ Bus
Left Rear Fuse Block - SEAT Circuit Breaker, TRUNK Relay/Fuse, AMP, AUDIO, DRIVER DR MOD, and REAR DR MOD Fuse
Entertainment Schematic Icons
Entertainment Schematic Icons
G402 - 1 of 2
Class 2 Serial Data Bus (LHD) - 2 of 2
Figure 4:

Speakers (U66)


Object Number: 1471031  Size: FS
Master Electrical Component List
Radio/Audio System Description and Operation
Control Module References
Speakers (U57)
Digital Radio Receiver (U2Y/U2X/U2K/U2L)
Entertainment Schematic Icons
Entertainment Schematic Icons
Entertainment Schematic Icons
Entertainment Schematic Icons
Entertainment Schematic Icons
Entertainment Schematic Icons
Entertainment Schematic Icons
Entertainment Schematic Icons
Entertainment Schematic Icons
Figure 5:

Speakers (U57)


Object Number: 1471032  Size: FS
Master Electrical Component List
Radio/Audio System Description and Operation
Control Module References
Speakers (U66)
Entertainment Schematic Icons
Entertainment Schematic Icons
Entertainment Schematic Icons
Entertainment Schematic Icons
Entertainment Schematic Icons
Entertainment Schematic Icons
Entertainment Schematic Icons
Figure 6:

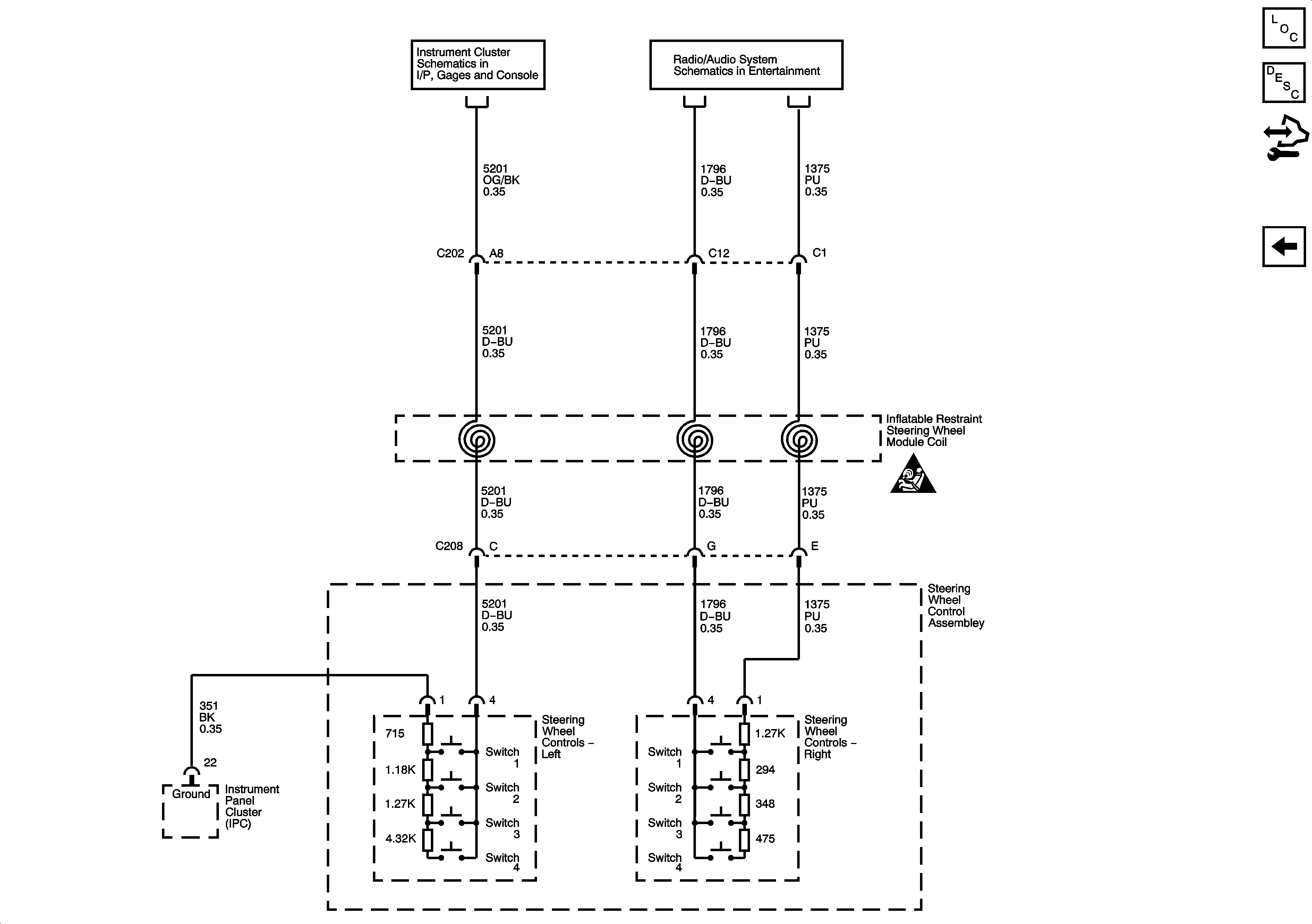
Redundant Steering Wheel Controls - 2.8L/3.6L (LP1/LY7)


Object Number: 1471033  Size: FS
Master Electrical Component List
Radio/Audio System Description and Operation
Control Module References
Steering Wheel Controls - 6.0L (LS2)
G200
Steering Wheel Controls Dimming
G200
Power, Ground, Serial Data, and Audio Signals Communication
Steering Wheel Controls Dimming
Entertainment Schematic Icons
Figure 7:

Redundant Steering Wheel Controls - 6.0L (LS2)


Object Number: 1582831  Size: FS
Master Electrical Component List
Radio/Audio System Description and Operation
Control Module References
Steering Wheel Controls - 2.8L/3.6L (LP1/LY7)
Driver Information Center (DIC) System
Engine Data Sensors - Throttle Actuator Control (TAC) System
Entertainment Schematic Icons