GM Service Manual Online
For 1990-2009 cars only
Makes
🢒
Cadillac
🢒
2006
🢒
CTS
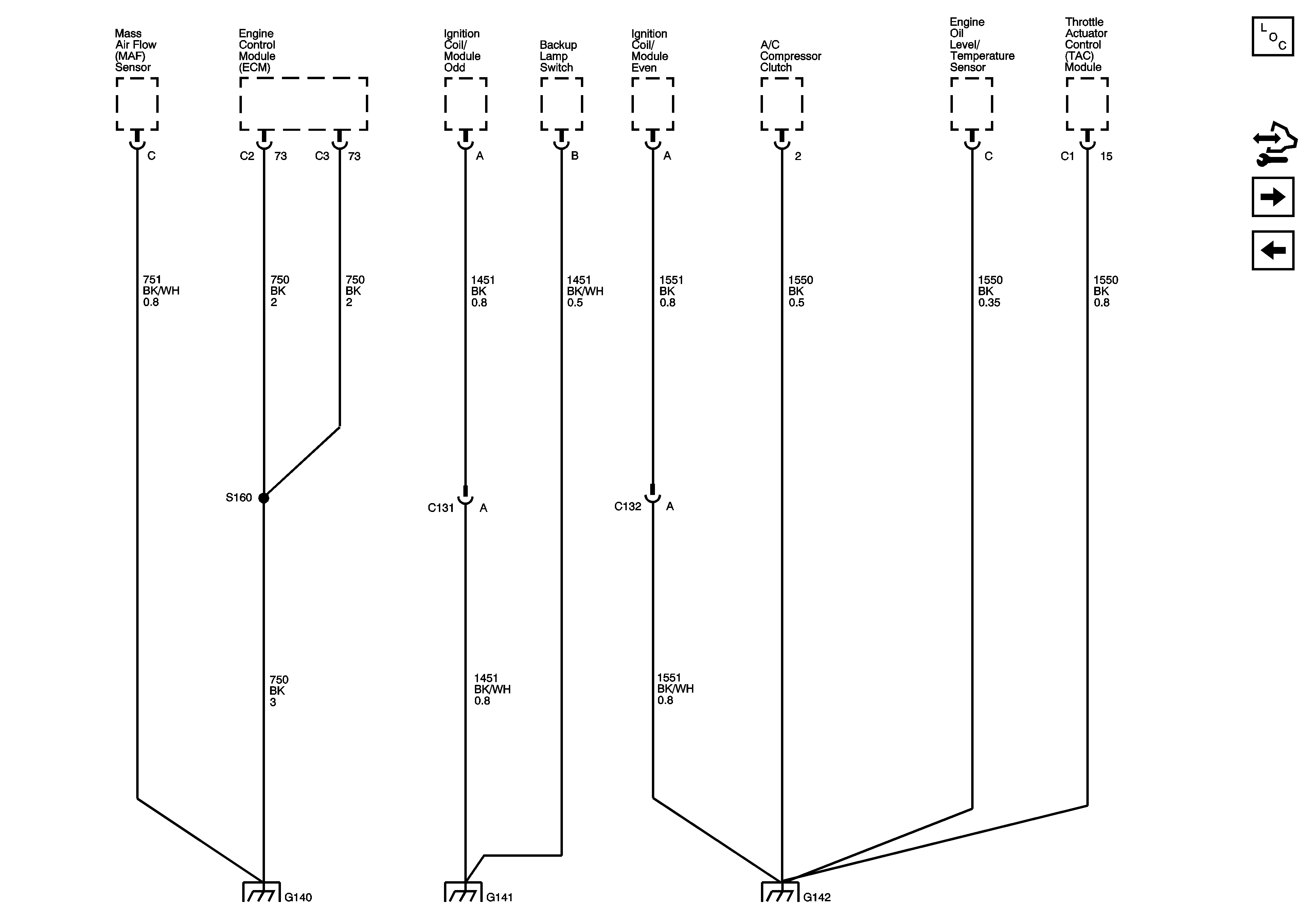
🢒 G140, G141, and G142 (LS2)
G140, G141, and G142 (LS2)
G140, G141, and G142 (LS2)
Master Electrical Component List
Control Module References
G200
G130, G131, G132, and G133 (LP1/LY7)