GM Service Manual Online
For 1990-2009 cars only

    Object Number: 1272840  Size: SH

    Important: 

       • Do not use the oil pan to engine block gasket again. Install a NEW gasket during assembly.
       • When installing a NEW oil pan gasket, it is not necessary to install the rivets that retain the NEW gasket to the pan.

  1. Drill (2) out the oil pan gasket retaining rivets (1), if required.
  2. Remove the gasket (426) from the oil pan.

  3. Object Number: 1759745  Size: SH
  4. Remove the oil filter fitting (438), as required.

  5. Object Number: 1559885  Size: SH
  6. Remove the bolts (435), cover (434), and gasket (433).

  7. Object Number: 1559889  Size: SH
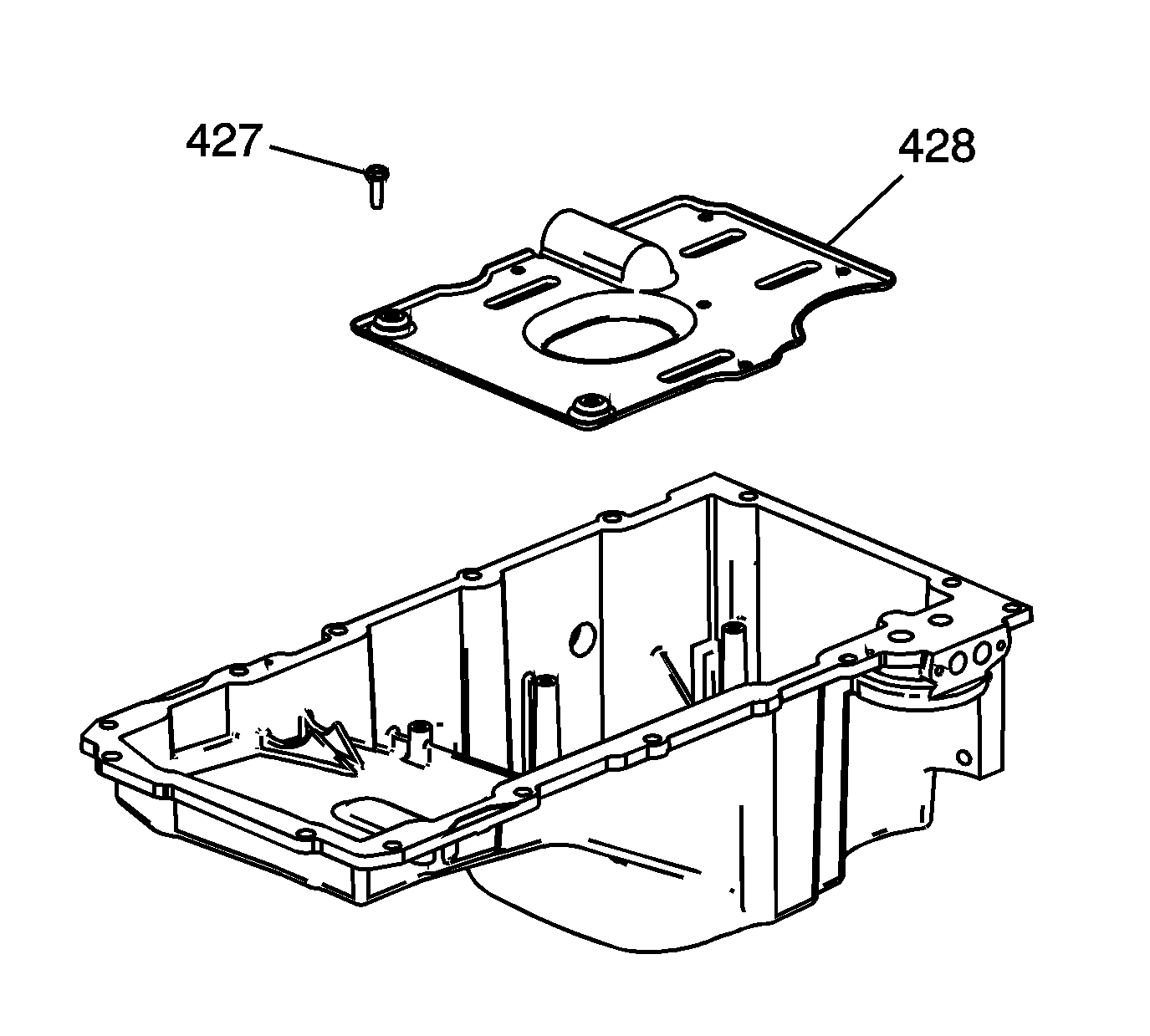
  8. Remove the bolts (427) and baffle (428).

  9. Object Number: 1559891  Size: SH
  10. Clean the oil pan in solvent.
  11. Caution: Refer to Safety Glasses Caution in the Preface section.

  12. Dry the oil pan with compressed air.
  13. Inspect the oil pan for the following conditions:
  14. • Damaged gasket surfaces (1)
    • Restrictions within the oil passages (2) of the pan
    • Damaged oil filter seal surface (3)
    • Threaded bolt holes for damage