GM Service Manual Online
For 1990-2009 cars only
Connector 1: C101 Engine Harness to Body Harness
Connector 2: C102 Engine Harness to Body Harness
Connector 3: C103 I/P Harness to Battery Harness
Connector 4: C104 Engine Harness to I/P Harness (LP1/LY7)
Connector 5: C105 Engine Harness to I/P Harness (LS2)
Connector 6: C107 Engine Harness to I/P Harness
Connector 7: C108 Forward Lamp Harness to Left Front Turn Signal/Fog Lamp Harness
Connector 8: C109 Forward Lamp Harness to Right Front Turn Signal/Fog Lamp Harness
Connector 9: C110 Forward Lamp Harness to Left Repeater Lamp Jumper Harness (Export)
Connector 10: C111 Forward Lamp Harness to Right Repeater Lamp Jumper Harness (Export)
Connector 11: C112 Engine to Camshaft Position (CMP) Sensor (LS2)
Connector 12: C113 Forward Lamp Harness to Engine Harness (LS2)
Connector 13: C114 - Forward Lamp Harness to Left Headlamp Harness (TR7)
Connector 14: C114 - Forward Lamp Harness to Left Headlamp Harness (TT6)
Connector 15: C114 - Forward Lamp Harness to Left Headlamp Harness (w/o TT6/TT7)
Connector 16: C115 - Forward Lamp Harness to Right Headlamp Harness (TR7)
Connector 17: C115 - Forward Lamp Harness to Right Headlamp Harness (TT6)
Connector 18: C115 - Forward Lamp Harness to Right Headlamp Harness (w/o TT6/TR7)
Connector 19: C120 Engine Harness to POA Harness (LP1/LY7)
Connector 20: C121 Engine Harness to Injector Harness (LP1/LY7)
Connector 21: C131 Engine Harness to Odd Ignition Coils Harness (LS2)
Connector 22: C132 Engine Harness to Even Ignition Coils Harness (LS2)
Connector 23: C200 Body Harness to I/P Harness - Left
Connector 24: C201 Body Harness to I/P Harness - Right
Connector 25: C202 I/P Harness to Steering Column Harness
Connector 26: C203 Steering Column Harness to Body Harness
Connector 27: C204 Sunload Sensor Jumper Harness to I/P Harness
Connector 28: C208 Steering Column Harness to Steering Wheel Controls Harness
Connector 29: C300 Body Harness to Driver Seat Harness
Connector 30: C301 Driver Seat Harness to Body Harness
Connector 31: C302 Body Harness to I/P Harness - Right Center (Export - U2Y/U2X)
Connector 32: C303 Body Harness to I/P Harness - Left Center
Connector 33: C304 Console Harness to I/P Harness (RHD M82)
Connector 34: C305 Headliner Harness to Body Harness
Connector 35: C306 Passenger Seat Harness to Body Harness
Connector 36: C307 Body Harness to Passenger Seat Harness
Connector 37: C308 Headliner Harness to Body Harness
Connector 38: C312 Console Harness to Body Harness (M82)
Connector 39: C313 Console Harness to IP Harness
Connector 40: C314 Inflatable Restraint Roof Rail Module - Driver to Body Harness
Connector 41: C315 Inflatable Restraint Roof Rail Module - Passenger to Body Harness
Connector 42: C321 I/P Harness to HVAC Harness (LHD)
Connector 43: C321 I/P Harness to HVAC Harness (RHD)
Connector 44: C323 I/P Harness to HVAC Harness
Connector 45: C324 Lumbar Motor-Driver Jumper
Connector 46: C325 Lumbar Motor-Front Passenger Jumper
Connector 47: C400 Body Harness to Rear Shelf Harness
Connector 48: C401 Sunroof Harness to Body Harness (CF5)
Connector 49: C402 Headliner Harness to Sunroof Harness (CF5)
Connector 50: C403 Headliner Harness to Body Harness
Connector 51: C410 Body Harness to Left Tail Lamp Harness
Connector 52: C411 Body Harness to Right Tail Lamp Harness
Connector 53: C420 Body Harness to Fuel Tank Harness
Connector 54: C421 Body Harness to License Lamp Assembly Harness (Domestic)
Connector 55: C421 Body Harness to License Lamp Assembly Harness (Export)
Connector 56: C500 Body Harness to Left Front Door Harness
Connector 57: C501 Left Front Door Harness to Left Front Door Trim Harness
Connector 58: C600 Body Harness to Right Front Door Harness (LHD)
Connector 59: C600 Body Harness to Right Front Door Harness (RHD)
Connector 60: C601 Right Front Door Harness to Right Front Door Trim Harness (LHD)
Connector 61: C601 Left Front Door Harness to Left Front Door Trim Harness (RHD)
Connector 62: C700 Body Harness to Left Rear Door Harness
Connector 63: C701 Left Rear Door Harness to Left Rear Door Trim Harness
Connector 64: C800 Body Harness to Right Rear Door Harness
Connector 65: C801 Right Rear Door Harness to Right Rear Door Trim Harness

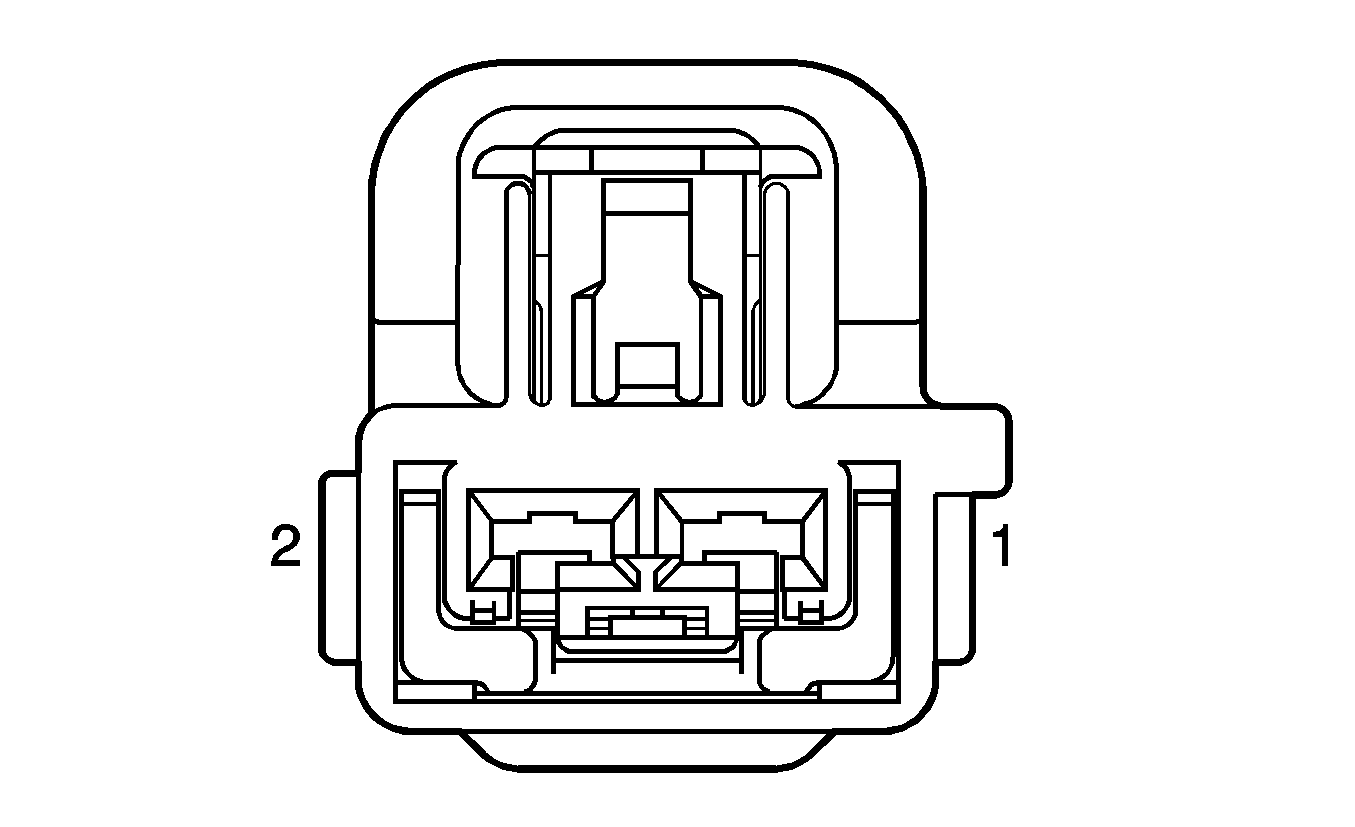
C101 Engine Harness to Body Harness


Object Number: 888600  Size: CH

Object Number: 823284  Size: CH

Connector Part Information

  • OEM: 7283-5545-10
  • Service: 88952445
  • Description: 12-Way F 1.5 Series Weather-Pack (GY)

Connector Part Information

  • OEM: 7282-5545-10
  • Service: 88952435
  • Description: 12-Way M 1.5 Series Weather-Pack (GY)

Terminal Part Information

  • Pins: 1, 2, 3, 4, 6, 7, 8, 9, 11, 12
  • Terminal/Tray: 7116-4102-08/9
  • Core/Insulation Crimp: E/1
  • Release Tool/Test Probe: 12094430/J-35616-2A (GY)
  • Pins: 5, 10
  • Terminal/Tray: 7116-4103-08/9
  • Core/Insulation Crimp: E/1
  • Release Tool/Test Probe: 12094430/J-35616-2A (GY)

Terminal Part Information

  • Pins: 1, 2, 3, 4, 6
  • Terminal/Tray: 7114-4102-08/9
  • Core/Insulation Crimp: E/1
  • Release Tool/Test Probe: 12094430/J-35616-3 (GY)
  • Pins: 5, 7, 8, 9, 10, 11, 12
  • Terminal/Tray: 7114-4103-08/9
  • Core/Insulation Crimp: E/1
  • Release Tool/Test Probe: 12094430/J-35616-3 (GY)

C101 Engine Harness to Body Harness

Pin

Wire Color

Circuit No.

Function

Pin

Wire Color

Circuit No.

Function

1

TN

884

Left Rear Wheel Speed Sensor Signal

1

TN

884

Left Rear Wheel Speed Sensor Signal

2

OG

885

Left Rear Wheel Speed Sensor Low Reference

2

OG

885

Left Rear Wheel Speed Sensor Low Reference

3

BN

882

Right Rear Wheel Speed Sensor Signal

3

BN

882

Right Rear Wheel Speed Sensor Signal

4

WH

883

Right Rear Wheel Speed Sensor Low Reference

4

WH

883

Right Rear Wheel Speed Sensor Low Reference

5

PK

39

Ignition 1 Voltage

5

PK

39

Ignition 1 Voltage

6

D-GN/WH

465

Fuel Pump Relay Control

6

D-GN/WH

465

Fuel Pump Relay Control

7

TN

452

Low Reference

7

TN

452

Low Reference

8

D-GN

890

Fuel Tank Pressure Sensor Signal

8

D-GN

890

Fuel Tank Pressure Sensor Signal

9

GY

596

5-Volt Reference

9

GY

596

5-Volt Reference

10

WH

1310

EVAP Canister Vent Solenoid Control

10

WH

1310

EVAP Canister Vent Solenoid Control

11

D-BU

1936

Fuel Level Sensor Signal - Primary

11

D-BU

1936

Fuel Level Sensor Signal - Primary

12

L-BU

1937

Fuel Level Sensor Signal - Secondary

12

L-BU

1937

Fuel Level Sensor Signal - Secondary

C102 Engine Harness to Body Harness


Object Number: 888606  Size: CH

Object Number: 823302  Size: CH

Connector Part Information

  • OEM: 7283-5946-30
  • Service: 88988239
  • Description: 10-Way F 1.5 Series Weather-Pack (BK)

Connector Part Information

  • OEM: 7282-5946-30
  • Service: 88952440
  • Description: 10-Way M 1.5 Series Weather-Pack (BK)

Terminal Part Information

  • Pins: 1, 2, 3, 4, 5, 6, 8
  • Terminal/Tray: 7116-4102-08/9
  • Core/Insulation Crimp: E/1
  • Release Tool/Test Probe: 12094430/J-35616-2A (GY)
  • Pins: 7, 9
  • Terminal/Tray: See Terminal Repair Kit
  • Core/Insulation Crimp: See Terminal Repair Kit
  • Release Tool/Test Probe: See Terminal Repair Kit

Terminal Part Information

  • Pins: 1, 2, 3, 4, 5, 6, 7, 8, 9
  • Terminal/Tray: 7114-4102-08/9
  • Core/Insulation Crimp: E/1
  • Release Tool/Test Probe: 12094430/J-35616-3 (GY)

C102 Engine Harness to Body Harness

Pin

Wire Color

Circuit No.

Function

Pin

Wire Color

Circuit No.

Function

1

OG

5371

BAS Relay Coil Supply Voltage

1

OG

5371

BAS Relay Coil Supply Voltage

2

L-GN/BK

1338

Low Reference (JL4/J56)

2

L-GN/BK

1338

Low Reference (JL4/J56)

3

GY/BK

1337

5-Volt Reference (JL4/J56)

3

GY/BK

1337

5-Volt Reference (JL4/J56)

4

L-BU

715

Lateral Accelerometer Signal (JL4/J56)

4

L-BU

715

Lateral Accelerometer Signal (JL4/J56)

5

D-BU

716

Yaw Rate Sensor Signal (JL4/J56)

5

D-BU

716

Yaw Rate Sensor Signal (JL4/J56)

6

L-GN

5007

Backup Lamp Switch Signal (M35/M12/MN6)

6

L-GN

5007

Backup Lamp Switch Signal

7

PU

5128

Auxiliary Cooling Fan Relay Control (Export w/V92)

7

PU

5128

Auxiliary Cooling Fan Relay Control (Export w/V92)

8

BN

818

Vehicle Speed Signal

8

BN

818

Vehicle Speed Signal

9

PU

5526

Tap Up/Tap Down Switch Signal (M82)

9

PU

5526

Tap Up/Tap Down Switch Signal (M82)

10

--

--

Not Used

10

--

--

Not Used

C103 I/P Harness to Battery Harness


Object Number: 888601  Size: CH

Object Number: 897985  Size: CH

Connector Part Information

  • OEM: 7283-5548-30
  • Service: 88952831
  • Description: 2-Way F 1.5 Series Weather-Pack (BK)

Connector Part Information

  • OEM: 7282-5548-30
  • Service: 88952821
  • Description: 2-Way M 1.5 Series Weather-Pack (BK)

Terminal Part Information

  • Terminal/Tray: 7116-4103-08/9
  • Core/Insulation Crimp: E/1
  • Release Tool/Test Probe: 12094430/J-35616-2A (GY)

Terminal Part Information

  • Pins: 1
  • Terminal/Tray: 7114-4103-08/9
  • Core/Insulation Crimp: E/1
  • Release Tool/Test Probe: 12094430/J-35616-3 (GY)

C103 I/P Harness to Battery Harness

Pin

Wire Color

Circuit No.

Function

Pin

Wire Color

Circuit No.

Function

1

BK/WH

51

Ground

1

BK/WH

51

Ground (LP1/LY7)

BK

51

Ground (LS2)

2

BN

100

Blunt Cut

2

--

--

Not Used

C104 Engine Harness to I/P Harness (LP1/LY7)


Object Number: 847310  Size: CH

Object Number: 586335  Size: CH

Connector Part Information

  • OEM: 15366099
  • Service: 15366099
  • Description: 24-Way F GT 150/280 Series Sealed (BK)

Connector Part Information

  • OEM: 15486591
  • Service: See Catalog
  • Description: 24-Way M GT 150/280 Series Sealed (BK)

Terminal Part Information

  • Pins: C1, A1, A2, A3, A8, B1, B2, B3, B6, B8, C2, C3, C6, C7, C8, A6, A7
  • Terminal/Tray: 12191819/8
  • Core/Insulation Crimp: Pins: C1, A1, A2, A3, A8, B1, B2, B3, B6, B8, C2, C3, C6, C7, C8 : E/A
  • Core/Insulation Crimp: Pins: A6, A7 : See Terminal Repair Kit
  • Release Tool/Test Probe: 15315247/J-35616-2A (GY)
  • Pins: A4, A5, B4, B5, C5
  • Terminal/Tray: 15304719/19
  • Core/Insulation Crimp: E/5
  • Release Tool/Test Probe: 15315247/J-35616-4A (PU)
  • Pins: B7, C8
  • Terminal/Tray: See Terminal Repair Kit
  • Core/Insulation Crimp: See Terminal Repair Kit
  • Release Tool/Test Probe: See Terminal Repair Kit

Terminal Part Information

  • Pins: C1, A1, A2, A3, A4, A5, A6, A7, A8, B1, B2, B3, B4, B5, B6, B7, B8, C2, C3, C5, C6, C7, C8
  • Terminal/Tray: See Terminal Repair Kit
  • Core/Insulation Crimp: See Terminal Repair Kit
  • Release Tool/Test Probe: See Terminal Repair Kit

C104 Engine Harness to I/P Harness (LP1/LY7)

Pin

Wire Color

Circuit No.

Function

Pin

Wire Color

Circuit No.

Function

A1

L-GN

1763

Steering Wheel Position Signal A (JL4)

A1

L-GN

1763

Steering Wheel Position Signal A (JL4)

A2

L-BU

1764

Steering Wheel Position Signal B (JL4)

A2

L-BU

1764

Steering Wheel Position Signal B (JL4)

A3

WH

5359

5-Volt Reference

A3

WH

5359

5-Volt Reference

A4

BN

5360

Low Reference

A4

BN

5360

Low Reference

A5

YE

5361

Brake Pedal Position (BPP) Sensor Signal

A5

YE

5361

Brake Pedal Position (BPP) Sensor Signal

A6

WH

2500

High Speed GMLAN Serial Data Bus +

A6

WH

2500

High Speed GMLAN Serial Data Bus +

A7

D-GN

2501

High Speed GMLAN Serial Data Bus -

A7

D-GN

2501

High Speed GMLAN Serial Data Bus -

A8

PU

1807

Class 2 Serial Data

A8

PU

1807

Class 2 Serial Data

B1

PU

1272

Low Reference

B1

PU

1272

Low Reference

B2

L-BU

1162

APP Sensor 2 Signal

B2

L-BU

1162

APP Sensor 2 Signal

B3

TN

1274

5-Volt Reference

B3

TN

1274

5-Volt Reference

B4

BN

1271

Low Reference

B4

BN

1271

Low Reference

B5

D-BU

1161

APP Sensor 1 Signal

B5

D-BU

1161

APP Sensor 1 Signal

B6

WH/BK

1164

5-Volt Reference

B6

WH/BK

1164

5-Volt Reference

B7

PK

839

Ignition 1 Voltage

B7

PK

839

Ignition 1 Voltage

B8

BN/WH

379

CPP Switch Signal (M35/MV1)

B8

BN/WH

379

CPP Switch Signal (M35/MV1)

C1

PU

1807

Class 2 Serial Data

C1

PU

1807

Class 2 Serial Data

C2

WH

121

Engine Speed Signal

C2

WH

121

Engine Speed Signal

C3

D-BU

1537

ABS Indicator Signal

C3

D-BU

1537

ABS Indicator Signal

C4

--

--

Not Used

C4

--

--

Not Used

C5

GY

1884

Cruise Control Switch Signal

C5

GY

1884

Cruise Control Switch Signal

C6

YE

5

Crank Voltage

C6

YE

5

Crank Voltage

C7

BN/WH

419

MIL Control

C7

BN/WH

419

MIL Control

C8

PU/WH

1035

Starter Relay Coil Supply Voltage (M35/MV1)

C8

PU/WH

1035

Starter Relay Coil Supply Voltage (M35/MV1)

PK

839

Ignition 1 Voltage (M82)

PU/WH

1035

Starter Relay Coil Supply Voltage (M82)

C105 Engine Harness to I/P Harness (LS2)


Object Number: 646383  Size: CH

Object Number: 632345  Size: CH

Connector Part Information

  • OEM: 15326863
  • Service: 15306410
  • Description: 16-Way F GT 150 Series Sealed 4.0 (BK)

Connector Part Information

  • OEM: 15326868
  • Service: 15306364
  • Description: 16-Way M GT 150 Series Sealed 4.0 (BK)

Terminal Part Information

  • Pins: A, B, C, D, F, G, J, M, P, R
  • Terminal/Tray: 12191819/8
  • Core/Insulation Crimp: E/A
  • Release Tool/Test Probe: 15315247/J-35616-2A (GY)

Terminal Part Information

  • Pins: A, B, C, D, F, G, J, M, P, R
  • Terminal/Tray: 15326269/19
  • Core/Insulation Crimp: E/4
  • Release Tool/Test Probe: 15315247/J-35616-3 (GY)

C105 Engine Harness to I/P Harness (LS2)

Pin

Wire Color

Circuit No.

Function

Pin

Wire Color

Circuit No.

Function

A

BK/WH

351

Ground

A

BK/WH

351

Ground

B

PU/WH

1035

Starter Relay Coil Supply Voltage

B

PU/WH

1035

Starter Relay Coil Supply Voltage

C

D-GN/WH

357

Oil Temperature Sensor Signal

C

D-GN/WH

357

Oil Temperature Sensor Signal

D

GY

1884

Cruise Control Switch Signal

D

GY

1884

Cruise Control Switch Signal

E

--

--

Not Used

E

--

--

Not Used

F

TN

2501

High Speed GMLAN Serial Data Bus -

F

TN

2501

High Speed GMLAN Serial Data Bus -

G

TN/BK

2500

High Speed GMLAN Serial Data Bus +

G

TN/BK

2500

High Speed GMLAN Serial Data Bus +

H

--

--

Not Used

H

--

--

Not Used

J

BN/WH

379

CPP Switch Signal

J

BN/WH

379

CPP Switch Signal

K-L

--

--

Not Used

K-L

--

--

Not Used

M

BN/WH

419

MIL Control

M

BN/WH

419

MIL Control

N

--

--

Not Used

N

--

--

Not Used

P

WH

121

Engine Speed Signal

P

WH

121

Engine Speed Signal

R

D-BU

1537

ABS Indicator Signal

R

D-BU

1537

ABS Indicator Signal

S

--

--

Not Used

S

--

--

Not Used

C107 Engine Harness to I/P Harness


Object Number: 655811  Size: CH

Object Number: 655813  Size: CH

Connector Part Information

  • OEM: 15326084
  • Service: 15306121
  • Description: 16-Way F GT 150/280 Series Sealed 4.0 (BK)

Connector Part Information

  • OEM: 15326085
  • Service: 15306122
  • Description: 16-Way M GT 150/280 Series Sealed 4.0 (BK)

Terminal Part Information

  • Pins: B, C, D, E, F, G, K, L, M, N, P
  • Terminal/Tray: 12191819/8
  • Core/Insulation Crimp: E/A
  • Release Tool/Test Probe: 15315247/J-35616-2A (GY)
  • Pins: A, H, J
  • Terminal/Tray: 15304719/19
  • Core/Insulation Crimp: E/5
  • Release Tool/Test Probe: 15315247/J-35616-4A (PU)

Terminal Part Information

  • Pins: B, C, D, E, F, G, K, L, M, N, P
  • Terminal/Tray: 15326269/19
  • Core/Insulation Crimp: E/4
  • Release Tool/Test Probe: 15315247/J-35616-3 (GY)
  • Pins: A, H, J
  • Terminal/Tray: 15304731/19
  • Core/Insulation Crimp: See Terminal Repair Kit
  • Release Tool/Test Probe: 15315247/J-35616-5 (PU)

C107 Engine Harness to I/P Harness

Pin

Wire Color

Circuit No.

Function

Pin

Wire Color

Circuit No.

Function

A

YE

5

Crank Voltage

A

YE

5

Crank Voltage

B

PU

1272

Low Reference

B

PU

1272

Low Reference

C

L-BU

1162

Accelerator Pedal Position Sensor 2 Signal

C

L-BU

1162

Accelerator Pedal Position Sensor 2 Signal

D

TN

1274

5-Volt Reference

D

TN

1274

5-Volt Reference

E

BN

1271

Low Reference

E

BN

1271

Low Reference

F

D-BU

1161

Accelerator Pedal Position Sensor 1 Signal

F

D-BU

1161

Accelerator Pedal Position Sensor 1 Signal

G

WH/BK

1164

5-Volt Reference

G

WH/BK

1164

5-Volt Reference

H

L-GN

1763

Steering Wheel Position Signal A

H

L-GN

1763

Steering Wheel Position Signal A

J

L-BU

1764

Steering Wheel Position Signal B

J

L-BU

1764

Steering Wheel Position Signal B

K

WH

5359

5-Volt Reference

K

WH

5359

5-Volt Reference

L

BN

5360

Low Reference

L

BN

5360

Low Reference

M

YE

5361

Brake Pedal Position (BPP) Sensor Signal

M

YE

5361

Brake Pedal Position (BPP) Sensor Signal

N

PU

1807

Class 2 Serial Data

N

PU

1807

Class 2 Serial Data

P

PU

1807

Class 2 Serial Data

P

PU

1807

Class 2 Serial Data

R-S

--

--

Not Used

R-S

--

--

Not Used

C108 Forward Lamp Harness to Left Front Turn Signal/Fog Lamp Harness


Object Number: 684854  Size: CH

Object Number: 396241  Size: CH

Connector Part Information

  • OEM: 12162144
  • Service: 12102741
  • Description: 4-Way F Metri-Pack 150 Series (BK)

Connector Part Information

  • OEM: 12162102
  • Service: 15305839
  • Description: 4-Way M Metri-Pack 150 Series (BK)

Terminal Part Information

  • Pins: B, C, D, A, B
  • Terminal/Tray: 12048074/2
  • Core/Insulation Crimp: Pins: B, C, D : E/1
  • Core/Insulation Crimp: Pins: A, B : See Terminal Repair Kit
  • Release Tool/Test Probe: 12094429/J-35616-2A (GY)

Terminal Part Information

  • Terminal/Tray: See Terminal Repair Kit
  • Core/Insulation Crimp: See Terminal Repair Kit
  • Release Tool/Test Probe: See Terminal Repair Kit

C108 Forward Lamp Harness to Left Front Turn Signal/Fog Lamp Harness

Pin

Wire Color

Circuit No.

Function

Pin

Wire Color

Circuit No.

Function

A

PU

2234

Front Fog Lamp Supply Voltage

A

WH

2234

Front Fog Lamp Supply Voltage

B

D-BU

5364

Left DRL/Turn Supply Voltage (Domestic)

B

WH

5364

Left DRL/Turn Supply Voltage (Domestic)

L-BU/WH

1314

Left Turn Signal Indicator Lamp Supply Voltage (Export w/T62/T65)

WH

1314

Left Turn Signal Indicator Lamp Supply Voltage (Export w/T62/T65)

C

BK

250

Ground

C

WH

250

Ground

D

BK

250

Ground

D

WH

250

Ground

C109 Forward Lamp Harness to Right Front Turn Signal/Fog Lamp Harness


Object Number: 684854  Size: CH

Object Number: 396241  Size: CH

Connector Part Information

  • OEM: 12162144
  • Service: 12102741
  • Description: 4-Way F Metri-Pack 150 Series (BK)

Connector Part Information

  • OEM: 12162102
  • Service: 15305839
  • Description: 4-Way M Metri-Pack 150 Series (BK)

Terminal Part Information

  • Pins: C, D, A, B
  • Terminal/Tray: 12048074/2
  • Core/Insulation Crimp: Pins: C, D : E/1
  • Core/Insulation Crimp: Pins: A, B : See Terminal Repair Kit
  • Release Tool/Test Probe: 12094429/J-35616-2A (GY)

Terminal Part Information

  • Terminal/Tray: See Terminal Repair Kit
  • Core/Insulation Crimp: See Terminal Repair Kit
  • Release Tool/Test Probe: See Terminal Repair Kit

C109 Forward Lamp Harness to Right Front Turn Signal/Fog Lamp Harness

Pin

Wire Color

Circuit No.

Function

Pin

Wire Color

Circuit No.

Function

A

PU

2234

Front Fog Lamp Supply Voltage

A

WH

2234

Front Fog Lamp Supply Voltage

B

D-GN

5365

Right DRL/Turn Supply Voltage (Domestic)

B

WH

5365

Right DRL/Turn Supply Voltage (Domestic)

D-BU/WH

1315

Right Turn Signal Indicator Lamp Supply Voltage (Export w/T62/T65)

WH

1315

Right Turn Signal Indicator Lamp Supply Voltage (Export w/T62/T65)

C

BK

250

Ground

C

WH

250

Ground

D

BK

250

Ground

D

WH

250

Ground

C110 Forward Lamp Harness to Left Repeater Lamp Jumper Harness (Export)


Object Number: 781760  Size: CH

Object Number: 258174  Size: CH

Connector Part Information

  • OEM: 12015792
  • Service: 12126452
  • Description: 2-Way F Weather-Pack (BK)

Connector Part Information

  • OEM: 12010973
  • Service: 12085524
  • Description: 2-Way M Weather-Pack (BK)

Terminal Part Information

  • Terminal/Tray: 12089188/3
  • Core/Insulation Crimp: See Terminal Repair Kit
  • Release Tool/Test Probe: 12014012-1/J-35616-8 (OG)

Terminal Part Information

  • Terminal/Tray: See Terminal Repair Kit
  • Core/Insulation Crimp: See Terminal Repair Kit
  • Release Tool/Test Probe: See Terminal Repair Kit

C110 Forward Lamp Harness to Left Repeater Lamp Jumper Harness (Export)

Pin

Wire Color

Circuit No.

Function

Pin

Wire Color

Circuit No.

Function

A

L-BU/WH

1314

Left Turn Signal Indicator Lamp Supply Voltage

A

L-BU/WH

1314

Left Turn Signal Indicator Lamp Supply Voltage

B

BK

250

Ground

B

BK

250

Ground

C111 Forward Lamp Harness to Right Repeater Lamp Jumper Harness (Export)


Object Number: 781760  Size: CH

Object Number: 258174  Size: CH

Connector Part Information

  • OEM: 12015792
  • Service: 12126452
  • Description: 2-Way F Weather-Pack (BK)

Connector Part Information

  • OEM: 12010973
  • Service: 12085524
  • Description: 2-Way M Weather-Pack (BK)

Terminal Part Information

  • Terminal/Tray: 12089188/3
  • Core/Insulation Crimp: See Terminal Repair Kit
  • Release Tool/Test Probe: 12014012-1/J-35616-8 (OG)

Terminal Part Information

  • Terminal/Tray: See Terminal Repair Kit
  • Core/Insulation Crimp: See Terminal Repair Kit
  • Release Tool/Test Probe: See Terminal Repair Kit

C111 Forward Lamp Harness to Right Repeater Lamp Jumper Harness (Export)

Pin

Wire Color

Circuit No.

Function

Pin

Wire Color

Circuit No.

Function

A

D-BU/WH

1315

Right Turn Signal Indicator Lamp Supply Voltage

A

D-BU/WH

1315

Right Turn Signal Indicator Lamp Supply Voltage

B

BK

250

Ground

B

BK

250

Ground

C112 Engine to Camshaft Position (CMP) Sensor (LS2)


Object Number: 684807  Size: CH

Object Number: 655690  Size: CH

Connector Part Information

  • OEM: 12110293
  • Service: 12117025
  • Description: 3-Way F Metri-Pack 150 Series (BK)

Connector Part Information

  • OEM: 12129615
  • Service: 15305889
  • Description: 3-Way M Metri-Pack 150 Series (BK)

Terminal Part Information

  • Terminal/Tray: 12048074/2
  • Core/Insulation Crimp: E/1
  • Release Tool/Test Probe: 12094429/J-35616-2A (GY)

Terminal Part Information

  • Terminal/Tray: See Terminal Repair Kit
  • Core/Insulation Crimp: See Terminal Repair Kit
  • Release Tool/Test Probe: See Terminal Repair Kit

C112 Engine to Camshaft Position (CMP) Sensor (LS2)

Pin

Wire Color

Circuit No.

Function

Pin

Wire Color

Circuit No.

Function

A

OG

631

12-Volt Reference

A

OG

631

12-Volt Reference

B

PK/BK

632

Low Reference

B

PK/BK

632

Low Reference

C

BN/WH

633

CMP Sensor

C

BN/WH

633

CMP Sensor

C113 Forward Lamp Harness to Engine Harness (LS2)


Object Number: 811182  Size: CH

Object Number: 1283862  Size: CH

Connector Part Information

  • OEM: 7283-5596-10
  • Service: 88952832
  • Description: 2-Way F (BK)

Connector Part Information

  • OEM: 7282-5596-10
  • Service: 88952822
  • Description: 2-Way M (BK)

Terminal Part Information

  • Terminal/Tray: See Terminal Repair Kit
  • Core/Insulation Crimp: See Terminal Repair Kit
  • Release Tool/Test Probe: See Terminal Repair Kit

Terminal Part Information

  • Terminal/Tray: 7114-4142-02/10
  • Core/Insulation Crimp: D/3
  • Release Tool/Test Probe: 12094430/J-35616-43 (RD)

C113 Forward Lamp Harness to Engine Harness (LS2)

Pin

Wire Color

Circuit No.

Function

Pin

Wire Color

Circuit No.

Function

1

BK

1150

Ground

1

BK

1150

Ground

2

BK

1150

Ground

2

BK

1150

Ground

C114 - Forward Lamp Harness to Left Headlamp Harness (TR7)


Object Number: 831375  Size: CH

Object Number: 1404727  Size: CH

Connector Part Information

  • OEM: 15373533
  • Service: 88988438
  • Description: 12-Way F GT 150/ 280 Mixed Series

Connector Part Information

  • OEM: 15373527
  • Service: See Catalog
  • Description: 12-Way M GT 150/280 Series

Terminal Part Information

  • Pins: B, C, D, E, H, K
  • Terminal/Tray: 12191819/8
  • Core/Insulation Crimp: E/A
  • Release Tool/Test Probe: 15315247/J-35616-2A (GY)
  • Pins: F, G, M
  • Terminal/Tray: 15304719/19
  • Core/Insulation Crimp: E/5
  • Release Tool/Test Probe: 15315247/J-35616-4A (PU)
  • Pins: A
  • Terminal/Tray: 15304720/19
  • Core/Insulation Crimp: See Terminal Repair Kit
  • Release Tool/Test Probe: 15315247/J-35616-4A (PU)

Terminal Part Information

  • Pins: A, B, C, D, E, F, G, H, K, M
  • Terminal/Tray: See Terminal Repair Kit
  • Core/Insulation Crimp: See Terminal Repair Kit
  • Release Tool/Test Probe: See Terminal Repair Kit

C114 - Forward Lamp Harness to Left Headlamp Harness (TR7)

Pin

Wire Color

Circuit No.

Function

Pin

Wire Color

Circuit No.

Function

A

TN/WH

712

Left Headlamp Low Beam Supply Voltage

A

TN/WH

712

Left Headlamp Low Beam Supply Voltage

B

BN/WH

1472

Left Park Lamp Supply Voltage

B

BN/WH

1472

Left Park Lamp Supply Voltage

C

WH/BK

5043

Keyword 2000 Serial Data

C

WH/BK

5043

Keyword 2000 Serial Data

D

GY

868

Headlamp Leveling Switch Bit 1 Signal

D

GY

868

Headlamp Leveling Switch Bit 1 Signal

E

GY

868

Headlamp Leveling Switch Bit 1 Signal

E

GY

868

Headlamp Leveling Switch Bit 1 Signal

F

BK

250

Ground

F

BK

250

Ground

G

L-GN/BK

711

Left Headlamp High Beam Supply Voltage

G

L-GN/BK

711

Left Headlamp High Beam Supply Voltage

H

PK

1439

Ignition 1 Voltage

H

PK

1439

Ignition 1 Voltage

J

--

--

Not Used

J

--

--

Not Used

K

BN/WH

709

Left Park Lamp Supply Voltage

K

BN/WH

709

Left Park Lamp Supply Voltage

L

--

--

Not Used

L

--

--

Not Used

M

BK

250

Ground

M

BK

250

Ground

C114 - Forward Lamp Harness to Left Headlamp Harness (TT6)


Object Number: 831375  Size: CH

Object Number: 1404727  Size: CH

Connector Part Information

  • OEM: 15373535
  • Service: 15373535
  • Description: 12-Way F GT 150/ 280 Mixed Series (GY)

Connector Part Information

  • OEM: 15373529
  • Service: See Catalog
  • Description: 12-Way M GT 150/280 Series (WH)

Terminal Part Information

  • Pins: B-E
  • Terminal/Tray: 12191819/8
  • Core/Insulation Crimp: E/A
  • Release Tool/Test Probe: 15315247/J-35616-2A (GY)
  • Pins: A
  • Terminal/Tray: 15304720/19
  • Core/Insulation Crimp: See Terminal Repair Kit
  • Release Tool/Test Probe: 15315247/J-35616-4A (PU)

Terminal Part Information

  • Pins: A-E
  • Terminal/Tray: See Terminal Repair Kit
  • Core/Insulation Crimp: See Terminal Repair Kit
  • Release Tool/Test Probe: See Terminal Repair Kit

C114 - Forward Lamp Harness to Left Headlamp Harness (TT6)

Pin

Wire Color

Circuit No.

Function

Pin

Wire Color

Circuit No.

Function

A

YE

712

Left Headlamp Low Beam Supply Voltage

A

YE

712

Left Headlamp Low Beam Supply Voltage

B

D-GN/WH

711

Left Headlamp High Beam Supply Voltage

B

D-GN/WH

711

Left Headlamp High Beam Supply Voltage

C

PU

709

Left Park Lamp Supply Voltage

C

PU

709

Left Park Lamp Supply Voltage

D

BK

250

Ground

D

BK

250

Ground

E

BK

250

Ground

E

BK

250

Ground

F-M

--

--

Not Used

F-M

--

--

Not Used

C114 - Forward Lamp Harness to Left Headlamp Harness (w/o TT6/TT7)


Object Number: 831375  Size: CH

Object Number: 1404727  Size: CH

Connector Part Information

  • OEM: 15326939
  • Service: 88988440
  • Description: 12-Way F GT 150/280 Series

Connector Part Information

  • OEM: 15373526
  • Service: See Catalog
  • Description: 12-Way M GT 150/280 Series

Terminal Part Information

  • Pins: B-D
  • Terminal/Tray: 12191819/8
  • Core/Insulation Crimp: Pins: D : 2/A
  • Core/Insulation Crimp: Pins: B, C : E/A
  • Release Tool/Test Probe: 15315247/J-35616-2A (GY)
  • Pins: A
  • Terminal/Tray: 15304720/19
  • Core/Insulation Crimp: See Terminal Repair Kit
  • Release Tool/Test Probe: 15315247/J-35616-4A (PU)

Terminal Part Information

  • Pins: A-D
  • Terminal/Tray: See Terminal Repair Kit
  • Core/Insulation Crimp: See Terminal Repair Kit
  • Release Tool/Test Probe: See Terminal Repair Kit

C114 - Forward Lamp Harness to Left Headlamp Harness (w/o TT6/TT7)

Pin

Wire Color

Circuit No.

Function

Pin

Wire Color

Circuit No.

Function

A

YE

712

Left Headlamp Low Beam Supply Voltage

A

TN/WH

712

Left Headlamp Low Beam Supply Voltage

B

D-GN/WH

711

Left Headlamp High Beam Supply Voltage

B

L-GN/BK

711

Left Headlamp High Beam Supply Voltage

C

PU

709

Left Park Lamp Supply Voltage

C

BN/WH

709

Left Park Lamp Supply Voltage

D

BK

250

Ground

D

BK

250

Ground

E-M

--

--

Not Used

E-M

--

--

Not Used

C115 - Forward Lamp Harness to Right Headlamp Harness (TR7)


Object Number: 831375  Size: CH

Object Number: 1404727  Size: CH

Connector Part Information

  • OEM: 15373533
  • Service: 88988438
  • Description: 12-Way F GT 150/ 280 Mixed Series

Connector Part Information

  • OEM: 15373527
  • Service: See Catalog
  • Description: 12-Way M GT 150/280 Series

Terminal Part Information

  • Pins: B, C, D, E, H, K
  • Terminal/Tray: 12191819/8
  • Core/Insulation Crimp: E/A
  • Release Tool/Test Probe: 15315247/J-35616-2A (GY)
  • Pins: F, G, M
  • Terminal/Tray: 15304719/19
  • Core/Insulation Crimp: E/5
  • Release Tool/Test Probe: 15315247/J-35616-4A (PU)
  • Pins: A
  • Terminal/Tray: 15304720/19
  • Core/Insulation Crimp: See Terminal Repair Kit
  • Release Tool/Test Probe: 15315247/J-35616-4A (PU)

Terminal Part Information

  • Pins: A, B, C, D, E, F, G, H, K, M
  • Terminal/Tray: See Terminal Repair Kit
  • Core/Insulation Crimp: See Terminal Repair Kit
  • Release Tool/Test Probe: See Terminal Repair Kit

C115 - Forward Lamp Harness to Right Headlamp Harness (TR7)

Pin

Wire Color

Circuit No.

Function

Pin

Wire Color

Circuit No.

Function

A

TN/WH

312

Right Headlamp Low Beam Supply Voltage

A

TN/WH

312

Right Headlamp Low Beam Supply Voltage

B

BN/WH

1473

Right Park Lamp Supply Voltage

B

BN/WH

1473

Right Park Lamp Supply Voltage

C

WH/BK

5043

Keyword 2000 Serial Data

C

WH/BK

5043

Keyword 2000 Serial Data

D

GY

868

Headlamp Leveling Switch Bit 1 Signal

D

GY

868

Headlamp Leveling Switch Bit 1 Signal

E

GY

868

Headlamp Leveling Switch Bit 1 Signal

E

GY

868

Headlamp Leveling Switch Bit 1 Signal

F

BK

250

Ground

F

BK

250

Ground

G

L-GN/BK

311

Right Headlamp High Beam Supply Voltage

G

L-GN/BK

311

Right Headlamp High Beam Supply Voltage

H

PK

1439

Ignition 1 Voltage

H

PK

1439

Ignition 1 Voltage

J

--

--

Not Used

J

--

--

Not Used

K

BN/WH

309

Right Park Lamp Supply Voltage

K

BN/WH

309

Right Park Lamp Supply Voltage

L

--

--

Not Used

L

--

--

Not Used

M

BK

250

Ground

M

BK

250

Ground

C115 - Forward Lamp Harness to Right Headlamp Harness (TT6)


Object Number: 831375  Size: CH

Object Number: 1404727  Size: CH

Connector Part Information

  • OEM: 15373535
  • Service: 15373535
  • Description: 12-Way F GT 150/ 280 Mixed Series (GY)

Connector Part Information

  • OEM: 15373529
  • Service: See Catalog
  • Description: 12-Way M GT 150/280 Series

Terminal Part Information

  • Pins: B-E
  • Terminal/Tray: 12191819/8
  • Core/Insulation Crimp: E/A
  • Release Tool/Test Probe: 15315247/J-35616-2A (GY)
  • Pins: A
  • Terminal/Tray: 15304720/19
  • Core/Insulation Crimp: See Terminal Repair Kit
  • Release Tool/Test Probe: 15315247/J-35616-4A (PU)

Terminal Part Information

  • Pins: A-E
  • Terminal/Tray: See Terminal Repair Kit
  • Core/Insulation Crimp: See Terminal Repair Kit
  • Release Tool/Test Probe: See Terminal Repair Kit

C115 - Forward Lamp Harness to Right Headlamp Harness (TT6)

Pin

Wire Color

Circuit No.

Function

Pin

Wire Color

Circuit No.

Function

A

TN/WH

312

Right Headlamp Low Beam Supply Voltage

A

TN/WH

312

Right Headlamp Low Beam Supply Voltage

B

L-GN/BK

311

Right Headlamp High Beam Supply Voltage

B

L-GN/BK

311

Right Headlamp High Beam Supply Voltage

C

BN/WH

309

Right Park Lamp Supply Voltage

C

BN/WH

309

Right Park Lamp Supply Voltage

D

BK

250

Ground

D

BK

250

Ground

E

BK

250

Ground

E

BK

250

Ground

F-M

--

--

Not Used

F-M

--

--

Not Used

C115 - Forward Lamp Harness to Right Headlamp Harness (w/o TT6/TR7)


Object Number: 831375  Size: CH

Object Number: 1404727  Size: CH

Connector Part Information

  • OEM: 15326939
  • Service: 88988440
  • Description: 12-Way F GT 150/ 280 Series

Connector Part Information

  • OEM: 15373526
  • Service: See Catalog
  • Description: 12-Way M GT 150/280 Series

Terminal Part Information

  • Pins: B-D
  • Terminal/Tray: 12191819/8
  • Core/Insulation Crimp: Pins: D : 2/A
  • Core/Insulation Crimp: Pins: B, C : E/A
  • Release Tool/Test Probe: 15315247/J-35616-2A (GY)
  • Pins: A
  • Terminal/Tray: 15304720/19
  • Core/Insulation Crimp: See Terminal Repair Kit
  • Release Tool/Test Probe: 15315247/J-35616-4A (PU)

Terminal Part Information

  • Pins: A-D
  • Terminal/Tray: See Terminal Repair Kit
  • Core/Insulation Crimp: See Terminal Repair Kit
  • Release Tool/Test Probe: See Terminal Repair Kit

C115 - Forward Lamp Harness to Right Headlamp Harness (w/o TT6/TR7)

Pin

Wire Color

Circuit No.

Function

Pin

Wire Color

Circuit No.

Function

A

TN/WH

312

Right Headlamp Low Beam Supply Voltage

A

TN/WH

312

Right Headlamp Low Beam Supply Voltage

B

L-GN/BK

311

Right Headlamp High Beam Supply Voltage

B

L-GN/BK

311

Right Headlamp High Beam Supply Voltage

C

BN/WH

309

Right Park Lamp Supply Voltage

C

BN/WH

309

Right Park Lamp Supply Voltage

D

BK

250

Ground

D

BK

250

Ground

E-M

--

--

Not Used

E-M

--

--

Not Used

C120 Engine Harness to POA Harness (LP1/LY7)


Object Number: 816167  Size: CH

Object Number: 1372292  Size: CH

Connector Part Information

  • OEM: 12059472
  • Service: 12101830
  • Description: 7-Way F Metri-Pack 150/480 Series (BK)

Connector Part Information

  • OEM: 12052200
  • Service: 12117321
  • Description: 7-Way M Metri-Pack 150/480 Series (BK)

Terminal Part Information

  • Pins: C, A, D, F
  • Terminal/Tray: 12048074/2
  • Core/Insulation Crimp: Pins: C : E/1
  • Core/Insulation Crimp: Pins: A, D, F : 2/1
  • Release Tool/Test Probe: 12094429/J-35616-2A (GY)
  • Pins: G
  • Terminal/Tray: 12048451/2
  • Core/Insulation Crimp: See Terminal Repair Kit
  • Release Tool/Test Probe: 12094430/J-35616-40 (BU)
  • Pins: E
  • Terminal/Tray: 12052139/18
  • Core/Insulation Crimp: F/3
  • Release Tool/Test Probe: 12094430/J-35616-40 (BU)

Terminal Part Information

  • Pins: A, C, D, E, F, G
  • Terminal/Tray: See Terminal Repair Kit
  • Core/Insulation Crimp: See Terminal Repair Kit
  • Release Tool/Test Probe: See Terminal Repair Kit

C120 Engine Harness to POA Harness (LP1/LY7)

Pin

Wire Color

Circuit No.

Function

Pin

Wire Color

Circuit No.

Function

A

PK/BK

5291

Ignition 1 Voltage

A

PK/BK

5291

Ignition 1 Voltage

B

--

--

Not Used

B

--

--

Not Used

C

D-GN

59

A/C Compressor Clutch Supply Voltage

C

D-GN

59

A/C Compressor Clutch Supply Voltage

D

PK/BK

5292

Ignition 1 Voltage

D

PK/BK

5292

Ignition 1 Voltage

E

PU

6

Starter Solenoid Crank Voltage

E

PU

6

Starter Solenoid Crank Voltage

F

PK/BK

5293

Ignition 1 Voltage

F

PK/BK

5293

Ignition 1 Voltage

G

BK/WH

1451

Ground

G

BK/WH

1451

Ground

C121 Engine Harness to Injector Harness (LP1/LY7)


Object Number: 1849822  Size: CH

Object Number: 1480280  Size: CH

Connector Part Information

  • OEM: 1-967189-1
  • Service: 15305938
  • Description: 10-Way F (BK)

Connector Part Information

  • OEM: 1-962352-1
  • Service:88988772
  • Description: 10-Way M (BK)

Terminal Part Information

  • Pins: 1, 2, 3, 4, 5, 6, 7, 8
  • Terminal/Tray: See Terminal Repair Kit
  • Core/Insulation Crimp: See Terminal Repair Kit
  • Release Tool/Test Probe: See Terminal Repair Kit

Terminal Part Information

  • Pins: 1, 2, 3, 4, 5, 6, 7, 8
  • Terminal/Tray: See Terminal Repair Kit
  • Core/Insulation Crimp: See Terminal Repair Kit
  • Release Tool/Test Probe: See Terminal Repair Kit

C121 Engine Harness to Injector Harness (LP1/LY7)

Pin

Wire Color

Circuit No.

Function

Pin

Wire Color

Circuit No.

Function

1

WH

5291

Ignition 1 Voltage

1

WH

5291

Ignition 1 Voltage

2

WH

5292

Ignition 1 Voltage

2

WH

5292

Ignition 1 Voltage

3

TN

1744

Fuel Injector 1 Control

3

TN

1744

Fuel Injector 1 Control

4

PK/BK

1746

Fuel Injector 3 Control

4

PK/BK

1746

Fuel Injector 3 Control

5

TN/WH

845

Fuel Injector 5 Control

5

TN/WH

845

Fuel Injector 5 Control

6

L-GN/BK

1745

Fuel Injector 2 Control

6

L-GN/BK

1745

Fuel Injector 2 Control

7

D-BU/BK

844

Fuel Injector 4 Control

7

L-BU/BK

844

Fuel Injector 4 Control

8

YE/BK

846

Fuel Injector 6 Control

8

YE/BK

846

Fuel Injector 6 Control

9-10

--

--

Not Used

9-10

--

--

Not Used

C131 Engine Harness to Odd Ignition Coils Harness (LS2)


Object Number: 684790  Size: CH

Object Number: 365940  Size: CH

Connector Part Information

  • OEM: 12047938
  • Service: 12102754
  • Description: 7-Way F Metri-Pack 150 Series Sealed (GY)

Connector Part Information

  • OEM: 12047933
  • Service: 12102490
  • Description: 7-Way M Metri-Pack 150 Series Sealed (GY)

Terminal Part Information

  • Pins: A, B, C, E, F, G, H
  • Terminal/Tray: 12048074/2
  • Core/Insulation Crimp: E/1
  • Release Tool/Test Probe: 12094429/J-35616-2A (GY)

Terminal Part Information

  • Pins: A, B, C, E, F, G, H
  • Terminal/Tray: See Terminal Repair Kit
  • Core/Insulation Crimp: See Terminal Repair Kit
  • Release Tool/Test Probe: See Terminal Repair Kit

C131 Engine Harness to Odd Ignition Coils Harness (LS2)

Pin

Wire Color

Circuit No.

Function

Pin

Wire Color

Circuit No.

Function

A

BK/WH

1451

Ground

A

BK

1451

Ground

B

OG

2127

IC 7 Control

B

RD

2127

IC 7 Control

C

D-GN

2125

IC 5 Control

C

D-GN

2125

IC 5 Control

D

--

--

Not Available

D

--

--

Not Available

E

BN

2129

Low Reference

E

BN

2129

Low Reference

F

L-BU

2123

IC 3 Control

F

L-BU

2123

IC 3 Control

G

PU

2121

IC 1 Control

G

PU

2121

IC 1 Control

H

PK/BK

5291

Ignition 1 Voltage

H

PK

5291

Ignition 1 Voltage

C132 Engine Harness to Even Ignition Coils Harness (LS2)


Object Number: 684790  Size: CH

Object Number: 365940  Size: CH

Connector Part Information

  • OEM: 12047938
  • Service: 12102754
  • Description: 7-Way F Metri-Pack 150 Series Sealed (GY)

Connector Part Information

  • OEM: 12047933
  • Service: 12102490
  • Description: 7-Way M Metri-Pack 150 Series Sealed (GY)

Terminal Part Information

  • Pins: A, B, C, E, F, G, H
  • Terminal/Tray: 12048074/2
  • Core/Insulation Crimp: E/1
  • Release Tool/Test Probe: 12094429/J-35616-2A (GY)

Terminal Part Information

  • Pins: A, B, C, E, F, G, H
  • Terminal/Tray: See Terminal Repair Kit
  • Core/Insulation Crimp: See Terminal Repair Kit
  • Release Tool/Test Probe: See Terminal Repair Kit

C132 Engine Harness to Even Ignition Coils Harness (LS2)

Pin

Wire Color

Circuit No.

Function

Pin

Wire Color

Circuit No.

Function

A

BK/WH

1551

Ground

A

BK

1551

Ground

B

RD/WH

2122

IC 2 Control

B

RD

2122

IC 2 Control

C

D-GN/WH

2124

IC 4 Control

C

D-GN

2124

IC 4 Control

D

--

--

Not Available

D

--

--

Not Available

E

BN/WH

2130

Low Reference

E

BN

2130

Low Reference

F

L-BU/WH

2126

IC 6 Control

F

L-BU

2126

IC 6 Control

G

PU/WH

2128

IC 8 Control

G

PU

2128

IC 8 Control

H

PK/BK

5292

Ignition 1 Voltage

H

PK

5292

Ignition 1 Voltage

C200 Body Harness to I/P Harness - Left


Object Number: 823264  Size: CH

Object Number: 823289  Size: CH

Connector Part Information

  • OEM: 7283-6376-30
  • Service: 88952809
  • Description: 26-Way F Hybrid (BK)

Connector Part Information

  • OEM: 7282-6376-30
  • Service: 88952802
  • Description: 26-Way M Hybrid (BK)

Terminal Part Information

  • Pins: 1
  • Terminal/Tray: 7116-4120-02/9
  • Core/Insulation Crimp: E/B
  • Release Tool/Test Probe: 12094430/J-35616-42 (RD)
  • Pins: 2, 3, 4, 5, 6, 7, 11, 12, 13, 14, 15, 16, 18, 19, 22, 24
  • Terminal/Tray: 7116-4100-08/9
  • Core/Insulation Crimp: E/C
  • Release Tool/Test Probe: 12094430/J-35616-2A (GY)
  • Pins: 9, 10
  • Terminal/Tray: 7116-4101-08/9
  • Core/Insulation Crimp: See Terminal Repair Kit
  • Release Tool/Test Probe: 12094430/J-35616-2A (GY)
  • Pins: 17
  • Terminal/Tray: 7116-4111-02/9
  • Core/Insulation Crimp: E/A
  • Release Tool/Test Probe: 12094430/J-35616-4A (PU)
  • Pins: 25
  • Terminal/Tray: See Terminal Repair Kit
  • Core/Insulation Crimp: See Terminal Repair Kit
  • Release Tool/Test Probe: See Terminal Repair Kit
  • Pins: 8
  • Terminal/Tray: 7116-4121-02/10
  • Core/Insulation Crimp: See Terminal Repair Kit
  • Release Tool/Test Probe: 12094430/J-35616-42 (RD)

Terminal Part Information

  • Pins: 17
  • Terminal/Tray: 7114-4111-02/9
  • Core/Insulation Crimp: E/A
  • Release Tool/Test Probe: 12094430/J-35616-5 (PU)
  • Pins: 1, 8
  • Terminal/Tray: 7114-4120-02/9
  • Core/Insulation Crimp: E/B
  • Release Tool/Test Probe: 12094430/J-35616-43 (RD)
  • Pins: 2, 3, 5, 6, 7, 9, 10, 11, 12, 13, 14, 15, 16, 18, 19, 22, 24
  • Terminal/Tray: 7114-4100-08/9
  • Core/Insulation Crimp: E/C
  • Release Tool/Test Probe: 15315247/J-35616-3 (GY)
  • Pins: 4, 25
  • Terminal/Tray: See Terminal Repair Kit
  • Core/Insulation Crimp: See Terminal Repair Kit
  • Release Tool/Test Probe: See Terminal Repair Kit

C200 Body Harness to I/P Harness - Left

Pin

Wire Color

Circuit No.

Function

Pin

Wire Color

Circuit No.

Function

1

BK

350

Ground

1

BK

350

Ground

2

PU

1807

Class 2 Serial Data

2

PU

1807

Class 2 Serial Data

3

BK/WH

351

Ground

3

BK/WH

351

Ground

4

D-GN

5525

Tap Up/Tap Down Enable Signal

4

D-GN

5525

Tap Up/Tap Down Enable Signal (M82)

5

PK/BK

1597

Courtesy Lamps Switch On Signal

5

PK/BK

1597

Courtesy Lamps Switch On Signal

6

YE

1834

Forward Discriminating Sensor Signal

6

YE

1834

Forward Discriminating Sensor Signal

7

TN/OG

5045

Discriminating Sensor - Low Reference

7

TN/OG

5045

Discriminating Sensor - Low Reference

8

D-BU/WH

1315

Right Turn Signal Indicator Lamp Supply Voltage

8

D-BU/WH

1315

Right Turn Signal Indicator Lamp Supply Voltage

D-BU/WH

1315

Right Turn Signal Indicator Lamp Supply Voltage

9

D-BU/WH

149

Courtesy Lamp Supply Voltage

9

D-BU/WH

149

Courtesy Lamp Supply Voltage

D-BU/WH

149

Courtesy Lamp Supply Voltage

10

GY

157

Courtesy Lamp Control

10

GY

157

Courtesy Lamp Control

GY

157

Courtesy Lamp Control

11

YE

32

Instrument Panel Lamp Fuse Supply Voltage 1 (w/o T79)

11

YE

32

Instrument Panel Lamp Fuse Supply Voltage 1 (w/o T79)

12

PU

709

Left Park Lamp Supply Voltage (w/o T79)

12

PU

709

Left Park Lamp Supply Voltage (w/o T79)

13

D-GN

44

Instrument Panel Lamps Dimmer Switch Signal

13

D-GN

44

Instrument Panel Lamps Dimmer Switch Signal

14

YE

5005

Instrument Panel Lamps Dimmer Switch Low Reference

14

YE

5005

Instrument Panel Lamps Dimmer Switch Low Reference

15

OG

300

Ignition 3 Voltage

15

OG

300

Ignition 3 Voltage

16

PK

3

Ignition 1 Voltage

16

PK

3

Ignition 1 Voltage

17

L-BU/WH

1314

Left Turn Signal Indicator Lamp Supply Voltage

17

L-BU/WH

1314

Left Turn Signal Indicator Lamp Supply Voltage

18

L-BU/BK

1688

5-Volt Reference

18

L-BU/BK

1688

5-Volt Reference

19

PU/WH

5025

Ignition Lock Cylinder Control Actuator Supply Voltage

19

PU/WH

5025

Ignition Lock Cylinder Control Actuator Supply Voltage

20

BN

341

Ignition 3 Voltage

20

BN

341

Ignition 3 Voltage

21

GY

868

Headlamp Leveling Switch Bit 1 Signal (TR7)

21

GY

868

Headlamp Leveling Switch Bit 1 Signal (TR7)

22

BN

41

Ignition 3 Voltage (TR7)

22

BN

41

Ignition 3 Voltage (TR7)

23

--

--

Not Used

23

--

--

Not Used

24

BN

141

Ignition 3 Voltage

24

BN

141

Ignition 3 Voltage

25

PK/BK

5292

Ignition 1 Voltage (V92)

25

PK/BK

5292

Ignition 1 Voltage (V92)

26

--

--

Not Used

26

--

--

Not Used

C201 Body Harness to I/P Harness - Right


Object Number: 823264  Size: CH

Object Number: 823289  Size: CH

Connector Part Information

  • OEM: 7283-6376-30
  • Service: 88952809
  • Description: 26-Way F Hybrid (BK)

Connector Part Information

  • OEM: 7282-6376-30
  • Service: 88952802
  • Description: 26-Way M Hybrid (BK)

Terminal Part Information

  • Pins: 26
  • Terminal/Tray: 7116-4110-02/9
  • Core/Insulation Crimp: E/C
  • Release Tool/Test Probe: 12094430/J-35616-4A (PU)
  • Pins: 5, 6, 7, 10, 11, 14, 23
  • Terminal/Tray: 7116-4100-08/9
  • Core/Insulation Crimp: E/C
  • Release Tool/Test Probe: 12094430/J-35616-2A (GY)
  • Pins: 3, 4, 18
  • Terminal/Tray: 7116-4101-08/9
  • Core/Insulation Crimp: See Terminal Repair Kit
  • Release Tool/Test Probe: 12094430/J-35616-2A (GY)
  • Pins: 17
  • Terminal/Tray: 7116-4111-02/9
  • Core/Insulation Crimp: See Terminal Repair Kit
  • Release Tool/Test Probe: 12094430/J-35616-4A (PU)
  • Pins: 1
  • Terminal/Tray: 7116-4122-02/10
  • Core/Insulation Crimp: D/G
  • Release Tool/Test Probe: 12094430/J-35616-42 (RD)
  • Pins: 8
  • Terminal/Tray: See Terminal Repair Kit
  • Core/Insulation Crimp: See Terminal Repair Kit
  • Release Tool/Test Probe: See Terminal Repair Kit

Terminal Part Information

  • Pins: 17
  • Terminal/Tray: 7114-4110-02/9
  • Core/Insulation Crimp: E/C
  • Release Tool/Test Probe: 12094430/J-35616-5 (PU)
  • Pins: 7
  • Terminal/Tray: 7114-4101-08/9
  • Core/Insulation Crimp: See Terminal Repair Kit
  • Release Tool/Test Probe: 15315247/J-35616-3 (GY)
  • Pins: 3, 4, 5, 6, 10, 11, 14, 18, 23
  • Terminal/Tray: 7114-4100-08/9
  • Core/Insulation Crimp: E/C
  • Release Tool/Test Probe: 15315247/J-35616-3 (GY)
  • Pins: 1
  • Terminal/Tray: 7114-4122-02/9
  • Core/Insulation Crimp: D/G
  • Release Tool/Test Probe: 12094430/J-35616-43 (RD)
  • Pins: 8, 26
  • Terminal/Tray: See Terminal Repair Kit
  • Core/Insulation Crimp: See Terminal Repair Kit
  • Release Tool/Test Probe: See Terminal Repair Kit

C201 Body Harness to I/P Harness - Right

Pin

Wire Color

Circuit No.

Function

Pin

Wire Color

Circuit No.

Function

1

BK

450

Ground

1

BK

450

Ground

2

--

--

Not Used

2

--

--

Not Used

3

GY/BK

1337

5-Volt Reference (JL4/J56)

3

GY/BK

1337

5-Volt Reference (JL4/J56)

GY/BK

1337

5-Volt Reference (JL4/J56)

4

L-GN/BK

1338

Low Reference (JL4/J56)

4

L-GN/BK

1338

Low Reference (JL4/J56)

L-GN/BK

1338

Low Reference (JL4/J56)

5

PU

1807

Class 2 Serial Data

5

PU

1807

Class 2 Serial Data

6

RD/WH

540

Battery Positive Voltage

6

RD/WH

540

Battery Positive Voltage

7

BN

818

Vehicle Speed Signal

7

BN

818

Vehicle Speed Signal

BN

818

Vehicle Speed Signal

8

YE

5358

Auxiliary Cooling Fan Motor Supply Voltage (V92)

8

YE

5358

Auxiliary Cooling Fan Motor Supply Voltage (V92)

9

--

--

Not Used

9

--

--

Not Used

10

YE

1491

Backlight Lamps Control

10

YE

1491

Backlight Lamps Control

YE

1491

Backlight Lamps Control

11

BN/WH

309

Right Park Lamp Supply Voltage (w/o T79)

11

BN/WH

309

Right Park Lamp Supply Voltage (w/o T79)

12

PU

1472

Left Position Lamp Supply Voltage

12

PU

1472

Left Position Lamp Supply Voltage

13

BN/WH

1473

Right Position Lamp Supply Voltage

13

BN/WH

1473

Right Position Lamp Supply Voltage

14

BK/WH

451

Ground

14

BK/WH

451

Ground

15-16

--

--

Not Used

15-16

--

--

Not Used

17

D-BU/WH

149

Courtesy Lamp Supply Voltage

17

D-BU/WH

149

Courtesy Lamp Supply Voltage

D-BU/WH

149

Courtesy Lamp Supply Voltage

18

GY

157

Courtesy Lamp Control

18

GY

157

Courtesy Lamp Control

GY

157

Courtesy Lamp Control

GY

157

Courtesy Lamp Control

19

--

--

Not Used

19

--

--

Not Used

20

D-GN/WH

1419

Right Rear Turn Signal Switch Signal

20

D-GN/WH

1419

Right Rear Turn Signal Switch Signal

21

YE/BK

1418

Left Rear Turn Signal Switch Signal

21

Y/BK

1418

Left Rear Turn Signal Switch Signal

23

BN/WH

1571

Traction Control Switch Signal

23

BN/WH

1571

Traction Control Switch Signal

24-25

--

--

Not Used

24-25

--

--

Not Used

26

TN

5026

Ignition Lock Cylinder Control Switch Signal

26

TN

5026

Ignition Lock Cylinder Control Switch Signal (M82)

C202 I/P Harness to Steering Column Harness


Object Number: 1538788  Size: CH

Object Number: 655855  Size: CH

Connector Part Information

  • OEM: 15448129
  • Service: See Catalog
  • Description: 40-Way F GT 150/280 Series (BK)

Connector Part Information

  • OEM: 15336417
  • Service: 15336417
  • Description: 40-Way M GT 150/280 Series (BK)

Terminal Part Information

  • Pins: C1, A1, A7, A8, B1, B2, B3, B4, B5, B7, B8, B9, B10, B11, B12, C2, C3, C4, C5, C6, C7, C8, C10, C11, C12, D1, D2, C9, D7, D8
  • Terminal/Tray: 12191812/19
  • Core/Insulation Crimp: E/C
  • Release Tool/Test Probe: 15315247/J-35616-2A (GY)
  • Pins: A2, A3, A4, A5, A6, D3, D6, D4, D5
  • Terminal/Tray: 15304711/8
  • Core/Insulation Crimp: E/A
  • Release Tool/Test Probe: 15315247/J-35616-4A (PU)
  • Pins: A8
  • Terminal/Tray: See Terminal Repair Kit
  • Core/Insulation Crimp: See Terminal Repair Kit
  • Release Tool/Test Probe: See Terminal Repair Kit

Terminal Part Information

  • Pins: C1, A1, A2, A3, A4, A5, A6, A7, A8, B1, B2, B3, B4, B5, B7, B8, B9, B10, B11, B12, C2, C3, C4, C5, C6, C7, C8, C10, C11, C12, D1, D2, D3, D6, C9, D7, D8, D4, D5
  • Terminal/Tray: See Terminal Repair Kit
  • Core/Insulation Crimp: See Terminal Repair Kit
  • Release Tool/Test Probe: See Terminal Repair Kit

C202 I/P Harness to Steering Column Harness

Pin

Wire Color

Circuit No.

Function

Pin

Wire Color

Circuit No.

Function

A1

BN

1356

Flash To Pass Switch Signal

A1

BN

1356

Flash To Pass Switch Signal

A2

BK/WH

351

Ground (LS2)

A2

BK/WH

351

Ground (LS2)

A3

TN/WH

1969

Headlamp High Beam Relay Control

A3

BK/WH

1969

Headlamp High Beam Relay Control

TN/WH

1969

Headlamp High Beam Relay Control

BK/WH

1969

Headlamp High Beam Relay Control

A4

PK/WH

1970

Headlamp Low Beam Relay Control

A4

L-BU

1970

Headlamp Low Beam Relay Control

PK/WH

1970

Headlamp Low Beam Relay Control

L-BU

1970

Headlamp Low Beam Relay Control

A5

TN

28

Horn Relay Control

A5

L-GN

28

Horn Relay Control

TN

28

Horn Relay Control

L-GN

28

Horn Relay Control

A6

BK/WH

351

Ground

A6

BK/WH

351

Ground

A7

PU

1807

Class 2 Serial Data

A7

PU

1807

Class 2 Serial Data

A8

PK

1545

Information Down Switch Signal (LP1/LY7)

A8

PK

1545

Information Down Switch Signal

OG/BK

5201

Steering Wheel Control Signal (LS2)

PK

1545

Information Down Switch Signal

B1

L-BU

187

Rear Fog Lamp Switch Signal (w/T79)

B1

L-BU

187

Rear Fog Lamp Switch Signal

B2

OG

192

Front Fog Lamp Switch Signal

B2

OG

192

Front Fog Lamp Switch Signal

B3

WH

103

Headlamp Switch Headlamps On Signal

B3

WH

103

Headlamp Switch Headlamps On Signal

B4

BN/WH

301

Park Lamp Switch On Signal

B4

BN/WH

301

Park Lamp Switch On Signal

B5

PU

1783

Twilight Sentinel Delay Signal

B5

PU

1783

Twilight Sentinel Delay Signal

B6

--

--

Not Used

B6

--

--

Not Used

B7

L-GN

80

Key In Ignition Switch Signal

B7

L-GN

80

Key In Ignition Switch Signal

B8

D-BU

477

Windshield Wiper Switch Signal 1

B8

D-BU

477

Windshield Wiper Switch Signal 1

B9

PU

92

Windshield Wiper Motor High Speed

B9

PU

92

Windshield Wiper Motor High Speed

B10

WH

1538

Windshield Wiper Switch On Signal

B10

WH

1538

Windshield Wiper Switch On Signal

B11

YE

43

Accessory Voltage

B11

YE

43

Accessory Voltage

B12

GY

478

Windshield Wiper Switch Signal 2

B12

GY

478

Windshield Wiper Switch Signal 2

C1

PU

1375

Remote Radio Control Supply Voltage

C1

PU

1375

Remote Radio Control Supply Voltage

C2

RD/WH

1440

Battery Positive Voltage

C2

OG

1440

Battery Positive Voltage

C3

YE

343

Accessory Voltage

C3

YE

343

Accessory Voltage

C4

YE

1491

Backlight Lamps Control

C4

YE

1491

Backlight Lamps Control

C5

BK

350

Ground

C5

BK

350

Ground

C6

PU/WH

5025

Ignition Lock Cylinder Control Actuator Supply Voltage (M82)

C6

PU/WH

5025

Ignition Lock Cylinder Control Actuator Supply Voltage (M82)

C7

L-BU/WH

1414

Left Turn Signal Switch Signal (w/o T62/T65)

C7

L-BU/WH

1414

Left Turn Signal Switch Signal (w/o T62/T65)

C8

D-BU/WH

1415

Right Turn Signal Switch Signal (w/o T62/T65)

C8

D-BU/WH

1415

Right Turn Signal Switch Signal (w/o T62/T65)

C9

PK

3

Ignition 1 Voltage

C9

PK

3

Ignition 1 Voltage

C10

YE

5

Crank Voltage

C10

YE

5

Crank Voltage

C11

OG

300

Ignition 3 Voltage

C11

OG

300

Ignition 3 Voltage

C12

D-BU

1796

Steering Wheel Controls Signal

C12

D-BU

1796

Steering Wheel Controls Signal

D1

OG

1544

Information Up Switch Signal (w/o LS2)

D1

OG

1544

Information Up Switch Signal

D2

GY

1884

Cruise Control Switch Signal

D2

GY/BK

1884

Cruise Control Switch Signal

D3

RD/WH

540

Battery Positive Voltage

D3

RD/WH

540

Battery Positive Voltage

D4

RD/WH

1940

Battery Positive Voltage

D4

RD/WH

1940

Battery Positive Voltage

D5

PK

339

Ignition 1 Voltage

D5

PK

339

Ignition 1 Voltage

D6

BN

4

Accessory Voltage

D6

BN

4

Accessory Voltage

BN

4

Accessory Voltage

BN

4

Accessory Voltage

D7

YE/BK

1418

Left Rear Turn Signal Switch Signal (T79)

D7

YE/BK

1418

Left Rear Turn Signal Switch Signal

D8

D-GN/WH

1419

Right Rear Turn Signal Switch Signal (T79)

D8

L-GN

1419

Right Rear Turn Signal Switch Signal

C203 Steering Column Harness to Body Harness


Object Number: 684936  Size: CH

Object Number: 684931  Size: CH

Connector Part Information

  • OEM: 15336478
  • Service: 88953348
  • Description: 4-Way F Metri-Pack 280 Series (YE)

Connector Part Information

  • OEM: 15336476
  • Service: 15306363
  • Description: 4-Way M Metri-Pack 280 Series (YE)

Terminal Part Information

  • Terminal/Tray: See Terminal Repair Kit
  • Core/Insulation Crimp: See Terminal Repair Kit
  • Release Tool/Test Probe: See Terminal Repair Kit

Terminal Part Information

  • Terminal/Tray: 12034047/2
  • Core/Insulation Crimp: E/A
  • Release Tool/Test Probe: 12094430/J-35616-5 (PU)

C203 Steering Column Harness to Body Harness

Pin

Wire Color

Circuit No.

Function

Pin

Wire Color

Circuit No.

Function

A1

TN

3021

Steering Wheel Module - Stage 1 - High Control

A1

TN

3021

Steering Wheel Module - Stage 1 - High Control

A2

BN

3020

Steering Wheel Module - Stage 1 - Low Control

A2

BN

3020

Steering Wheel Module - Stage 1 - Low Control

B1

WH

3023

Steering Wheel Module - Stage 2 - High Control

B1

WH

3023

Steering Wheel Module - Stage 2 - High Control

B2

PK

3022

Steering Wheel Module - Stage 2 - Low Control

B2

PK

3022

Steering Wheel Module - Stage 2 - Low Control

C204 Sunload Sensor Jumper Harness to I/P Harness


Object Number: 130637  Size: CH

Object Number: 40399  Size: CH

Connector Part Information

  • OEM: 12064760
  • Service: 12085208
  • Description: 4-Way F Metri-Pack 150 Series (BK)

Connector Part Information

  • OEM: 12064761
  • Service: See Catalog
  • Description: 4-Way M Metri-Pack 150 Series (BK)

Terminal Part Information

  • Terminal/Tray: See Terminal Repair Kit
  • Core/Insulation Crimp: See Terminal Repair Kit
  • Release Tool/Test Probe: See Terminal Repair Kit

Terminal Part Information

  • Terminal/Tray: See Terminal Repair Kit
  • Core/Insulation Crimp: See Terminal Repair Kit
  • Release Tool/Test Probe: See Terminal Repair Kit

C204 Sunload Sensor Jumper Harness to I/P Harness

Pin

Wire Color

Circuit No.

Function

Pin

Wire Color

Circuit No.

Function

A

L-BU/BK

590

Left Sunload Sensor Signal

A

L-BU/BK

590

Left Sunload Sensor Signal

B

GY

1548

Right Sunload Sensor Signal

B

GY

1548

Right Sunload Sensor Signal

C

YE

61

Low Reference

C

YE

61

Low Reference

D

WH

278

Ambient Light Sensor Signal

D

WH

278

Ambient Light Sensor Signal

C208 Steering Column Harness to Steering Wheel Controls Harness


Object Number: 62464  Size: CH

Object Number: 808703  Size: CH

Connector Part Information

  • OEM: 12064769
  • Service: 12101762
  • Description: 10-Way F Metri-Pack 150 Series (WH)

Connector Part Information

  • OEM: 12064770
  • Service: 12101823
  • Description: 10-Way M Metri-Pack 150 Series (WH)

Terminal Part Information

  • Pins: A, B, C, D, E, F, G, H, J
  • Terminal/Tray: See Terminal Repair Kit
  • Core/Insulation Crimp: See Terminal Repair Kit
  • Release Tool/Test Probe: See Terminal Repair Kit

Terminal Part Information

  • Pins: A, B, C, D, E, F, G, H, J
  • Terminal/Tray: See Terminal Repair Kit
  • Core/Insulation Crimp: See Terminal Repair Kit
  • Release Tool/Test Probe: See Terminal Repair Kit

C208 Steering Column Harness to Steering Wheel Controls Harness

Pin

Wire Color

Circuit No.

Function

Pin

Wire Color

Circuit No.

Function

A

OG

1544

Information Up Switch Signal

A

OG

1544

Information Up Switch Signal

B

PK

339

Ignition 1 Voltage

B

PK

339

Ignition 1 Voltage (LS2)

C

PK

1545

Information Down Switch Signal (LP1/LY7)

C

OG/BK

1545

Information Down Switch Signal (LP1/LY7)

OG/BK

5201

Steering Wheel Control Signal (LS2)

OG/BK

5201

Steering Wheel Control Signal (LS2)

D

BK

351

Ground (LS2)

D

BK/WH

351

Ground (LS2)

E

PU

1375

Remote Radio Control Supply Voltage

E

PU

1375

Remote Radio Control Supply Voltage

F

YE

1491

Backlight Lamps Control

F

YE

1491

Backlight Lamps Control

YE

1491

Backlight Lamps Control

G

D-BU

1796

Steering Wheel Controls Signal (LP1/LY7)

G

D-BU

1796

Steering Wheel Controls Signal (LP1/LY7)

1796

Steering Wheel Controls Signal (LP1/LY7)

5201

Steering Wheel Controls Signal (LS2)

5201

Steering Wheel Controls Signal (LS2)

H

BK

350

Ground

H

BK

350

Ground

BK

350

Ground

J

L-GN

28

Horn Relay Control

J

TN

28

Horn Relay Control

K

--

--

Not Used

K

--

--

Not Used

C300 Body Harness to Driver Seat Harness


Object Number: 823290  Size: CH

Object Number: 1283905  Size: CH

Connector Part Information

  • OEM: 7283-6447-40
  • Service: 88956524
  • Description: 14-Way F Hybrid (GY)

Connector Part Information

  • OEM: 7282-6447-40
  • Service: 88956523
  • Description: 14-Way M Hybrid (GY)

Terminal Part Information

  • Pins: 8
  • Terminal/Tray: 7116-4110-02/9
  • Core/Insulation Crimp: E/C
  • Release Tool/Test Probe: 12094430/J-35616-4A (PU)
  • Pins: 3, 4, 9, 11, 13
  • Terminal/Tray: 7116-4100-08/9
  • Core/Insulation Crimp: E/C
  • Release Tool/Test Probe: 12094430/J-35616-2A (GY)
  • Pins: 2, 12
  • Terminal/Tray: 7116-4101-08/9
  • Core/Insulation Crimp: Pins: 2 : E/A
  • Core/Insulation Crimp: Pins: 12 : See Terminal Repair Kit
  • Release Tool/Test Probe: 12094430/J-35616-2A (GY)
  • Pins: 1, 14
  • Terminal/Tray: 7116-4112-02/9
  • Core/Insulation Crimp: C/D
  • Release Tool/Test Probe: 12094430/J-35616-35 (VT)

Terminal Part Information

  • Pins: 1, 2, 3, 4, 8, 9, 11, 12, 13, 14
  • Terminal/Tray: See Terminal Repair Kit
  • Core/Insulation Crimp: See Terminal Repair Kit
  • Release Tool/Test Probe: See Terminal Repair Kit

C300 Body Harness to Driver Seat Harness

Pin

Wire Color

Circuit No.

Function

Pin

Wire Color

Circuit No.

Function

1

RD/WH

3740

Battery Positive Voltage

1

OG

3740

Battery Positive Voltage

2

RD/WH

2440

Battery Positive Voltage (KA1)

2

OG

2440

Battery Positive Voltage (KA1)

3

PK

1501

Driver Heated Seat High/Low Signal (KA1)

3

PK

1501

Driver Heated Seat High/Low Signal (KA1)

4

L-BU/WH

181

Heated Seat Control Module Status Signal (KA1)

4

L-BU/WH

181

Heated Seat Control Module Status Signal (KA1)

5-7

--

--

Not Used

5-7

--

--

Not Used

8

RD/WH

2840

Battery Positive Voltage (A45)

8

OG

2840

Battery Positive Voltage (A45)

9

BN

41

Ignition 3 Voltage (KA1)

9

BN

41

Ignition 3 Voltage (KA1)

10

--

--

Not Used

10

--

--

Not Used

11

PU

1807

Class 2 Serial Data (A45)

11

PU

1807

Class 2 Serial Data (A45)

12

PK

5017

Seat Belt Switch - Driver - Low Reference

12

BK

5017

Seat Belt Switch - Driver - Low Reference

PK

5017

Seat Belt Switch - Driver - Low Reference

13

TN/WH

238

Seat Belt Switch - Driver - Signal

13

BK/WH

238

Seat Belt Switch - Driver - Signal

14

BK

550

Ground (KA1)

14

BK

550

Ground (KA1)

C301 Driver Seat Harness to Body Harness


Object Number: 889501  Size: CH

Object Number: 889502  Size: CH

Object Number: 258658  Size: CH

Connector Part Information

  • OEM: 15304656
  • Service: See Catalog
  • Description: 2-Way F GT 250 Series (YE)

Connector Part Information

  • OEM: 15304649
  • Service: 15306061
  • Description: 6-Way M 150 Series (YE)

Terminal Part Information

  • Terminal/Tray: See Terminal Repair Kit
  • Core/Insulation Crimp: See Terminal Repair Kit
  • Release Tool/Test Probe: See Terminal Repair Kit

Connector Part Information

  • OEM: 15304653
  • Service: See Catalog
  • Description: 4-Way F GT 250 Series (YE)

Terminal Part Information

  • Terminal/Tray: See Terminal Repair Kit
  • Core/Insulation Crimp: See Terminal Repair Kit
  • Release Tool/Test Probe: See Terminal Repair Kit

Terminal Part Information

  • Pins: A, C, D, F
  • Terminal/Tray: 15304722/8
  • Core/Insulation Crimp: E/C
  • Release Tool/Test Probe: 15315247/J-35616-5 (PU)

C301 Driver Seat Harness to Body Harness

Pin

Wire Color

Circuit No.

Function

Pin

Wire Color

Circuit No.

Function

A

BK

2118

Seat Belt Pretensioner - Driver - High Control

A

TN/WH

2118

Seat Belt Pretensioner - Driver - High Control

B

--

--

Not Used

B

--

--

Not Used

C

WH

2105

Side Impact Module - Driver - High Control

C

D-GN

2105

Side Impact Module - Driver - High Control

D

D-GN

2106

Side Impact Module - Driver - Low Control

D

BN

2106

Side Impact Module - Driver - Low Control

E

--

--

Not Used

E

--

--

Not Used

F

WH

2119

Seat Belt Pretensioner - Driver - Low Control

F

OG/BK

2119

Seat Belt Pretensioner - Driver - Low Control

C302 Body Harness to I/P Harness - Right Center (Export - U2Y/U2X)


Object Number: 823289  Size: CH

Object Number: 823264  Size: CH

Connector Part Information

  • OEM: 7283-6376-30
  • Service: 88952809
  • Description: 26-Way F Hybrid (BK)

Connector Part Information

  • OEM: 7282-6376-30
  • Service: 88952802
  • Description: 26-Way M Hybrid (BK)

Terminal Part Information

  • Pins: 2, 3, 4, 5, 6, 7, 9, 13, 14, 15, 18, 20, 22
  • Terminal/Tray: 7116-4100-08/9
  • Core/Insulation Crimp: E/C
  • Release Tool/Test Probe: 12094430/J-35616-2A (GY)

Terminal Part Information

  • Pins: 2, 3, 4, 5, 6, 7, 9, 13, 14, 15, 18, 20, 22
  • Terminal/Tray: 7114-4100-08/9
  • Core/Insulation Crimp: E/C
  • Release Tool/Test Probe: 15315247/J-35616-3 (GY)

C302 Body Harness to I/P Harness - Right Center (Export - U2Y/U2X)

Pin

Wire Color

Circuit No.

Function

Pin

Wire Color

Circuit No.

Function

1

--

--

Not Used

1

--

--

Not Used

2

GY

5144

Video Blue Low Reference

2

GY

5144

Video Blue Low Reference

3

OG

2047

Video Red Signal

3

OG

2047

Video Red Signal

4

TN

5146

Video Red Low Reference

4

TN

5146

Video Red Low Reference

5

D-BU

2048

Video Green Signal

5

D-BU

2048

Video Green Signal

6

BN

5145

Video Green Low Reference

6

BN

5145

Video Green Low Reference

7

L-GN

2045

Video Synchronization Signal

7

L-GN

2045

Video Synchronization Signal

8

--

--

Not Used

8

--

--

Not Used

9

PK

5165

Antenna 14-Volt Switched Supply Voltage

9

PK

5165

Antenna 14-Volt Switched Supply Voltage

10-12

--

--

Not Used

10-12

--

--

Not Used

13

OG

2354

Navigation Display Serial Data High

13

OG

2354

Navigation Display Serial Data High

14

BN

2355

Navigation Display Serial Data Low

14

BN

2355

Navigation Display Serial Data Low

15

BARE

514

Ground

15

BARE

514

Ground

16-17

--

--

Not Used

16-17

--

--

Not Used

18

TN/BK

5147

Video Synchronization Low Reference

18

TN/BK

5147

Video Synchronization Low Reference

19

--

--

Not Used

19

--

--

Not Used

20

BARE

814

Ground

20

BARE

814

Ground

21

--

--

Not Used

21

--

--

Not Used

22

D-GN

2049

Video Blue Signal

22

D-GN

2049

Video Blue Signal

23-26

--

--

Not Used

23-26

--

--

Not Used

C303 Body Harness to I/P Harness - Left Center


Object Number: 823289  Size: CH

Object Number: 823264  Size: CH

Connector Part Information

  • OEM: 7283-6376-30
  • Service: 88952809
  • Description: 26-Way F Hybrid (BK)

Connector Part Information

  • OEM: 7282-6376-30
  • Service: 88952802
  • Description: 26-Way M Hybrid (BK)

Terminal Part Information

  • Pins: 17
  • Terminal/Tray: 7116-4110-02/9
  • Core/Insulation Crimp: E/C
  • Release Tool/Test Probe: 12094430/J-35616-4A (PU)
  • Pins: 1
  • Terminal/Tray: 7116-4120-02/9
  • Core/Insulation Crimp: E/B
  • Release Tool/Test Probe: 12094430/J-35616-42 (RD)
  • Pins: 2, 3, 4, 5, 6, 7, 9, 10, 11, 12, 13, 14, 15, 16, 18, 19, 24, 25
  • Terminal/Tray: 7116-4100-08/9
  • Core/Insulation Crimp: E/C
  • Release Tool/Test Probe: 12094430/J-35616-2A (GY)
  • Pins: 26
  • Terminal/Tray: 7116-4111-02/9
  • Core/Insulation Crimp: C/A
  • Release Tool/Test Probe: 12094430/J-35616-4A (PU)
  • Pins: 9, 10, 20, 21, 22, 23
  • Terminal/Tray: See Terminal Repair Kit
  • Core/Insulation Crimp: See Terminal Repair Kit
  • Release Tool/Test Probe: See Terminal Repair Kit

Terminal Part Information

  • Pins: 26
  • Terminal/Tray: 7114-4111-02/9
  • Core/Insulation Crimp: C/A
  • Release Tool/Test Probe: 12094430/J-35616-5 (PU)
  • Pins: 1
  • Terminal/Tray: 7114-4120-02/9
  • Core/Insulation Crimp: E/B
  • Release Tool/Test Probe: 12094430/J-35616-43 (RD)
  • Pins: 17
  • Terminal/Tray: 7114-4110-02/9
  • Core/Insulation Crimp: E/C
  • Release Tool/Test Probe: 12094430/J-35616-5 (PU)
  • Pins: 2, 4, 5, 6, 7, 9, 10, 11, 12, 13, 14, 15, 16, 18, 19, 24, 25
  • Terminal/Tray: 7114-4100-08/9
  • Core/Insulation Crimp: E/C
  • Release Tool/Test Probe: 15315247/J-35616-3 (GY)
  • Pins: 3, 9, 10, 20, 21, 22, 23
  • Terminal/Tray: See Terminal Repair Kit
  • Core/Insulation Crimp: See Terminal Repair Kit
  • Release Tool/Test Probe: See Terminal Repair Kit

C303 Body Harness to I/P Harness - Left Center

Pin

Wire Color

Circuit No.

Function

Pin

Wire Color

Circuit No.

Function

1

RD/WH

2240

Battery Positive Voltage

1

RD/WH

2240

Battery Positive Voltage

2

L-BU

1960

Front Center Speaker Output (-) (U57)

2

L-BU

1960

Front Center Speaker Output (-) (U57)

3

YE

1860

Front Center Speaker Output (+) (U57)

3

YE

1880

Front Center Speaker Output (+) (U57)

4

TN

511

Left Front Low Level Audio Signal (+)

4

TN

511

Left Front Low Level Audio Signal (+)

5

L-GN

512

Right Front Low Level Audio Signal (+)

5

L-GN

512

Right Front Low Level Audio Signal (+)

6

OG

1486

FM Composite Signal

6

OG

1486

FM Composite Signal

7

BARE

5324

Drain Wire (Blunt Cut) (U2K/U2L)

7

BARE

5324

Drain Wire (U2K/U2L)

8

--

--

Not Used

8

--

--

Not Used

9

PK

5149

Cellular Microphone Signal (UE1)

9

PK

5149

Cellular Microphone Signal (UE1)

GY

655

Cellular Microphone Signal (U2Y/U2X)

GY

655

Cellular Microphone Signal (U2Y/U2X)

10

PK/BK

5152

Cellular Microphone Low Reference (UE1)

10

PK/BK

5152

Cellular Microphone Low Reference (UE1)

BARE

1782

Drain Wire (U2Y/U2X)

BARE

1782

Drain Wire (U2Y/U2X)

11

D-GN

1947

Left Front Low Level Audio Signal (-)

11

D-GN

1947

Left Front Low Level Audio Signal (-)

12

L-GN

1948

Right Front Low Level Audio Signal (-)

12

L-GN

1948

Right Front Low Level Audio Signal (-)

13

--

--

Not Used

13

BARE

2011

Drain Wire

14

BARE

2012

Drain Wire (Blunt Cut)

14

BARE

2012

Drain Wire

15

BN/WH

367

Left Audio Signal (+) (U2K/U2L)

15

BN/WH

367

Left Audio Signal (+) (U2K/U2L)

16

BARE

1792

Drain Wire (UE1)

16

BARE

1792

Drain Wire (Blunt Cut) (UE1)

17

TN/WH

372

Audio Common (U2K/U2L)

17

TN/WH

372

Audio Common (U2K/U2L)

18

D-GN/WH

368

Right Audio Signal (+) (U2K/U2L)

18

D-GN/WH

368

Right Audio Signal (+) (U2K/U2L)

19

WH

5343

Voice Prompt Output (-) (UAV/U2X/U2Y)

19

WH

5343

Voice Prompt Output (-) (U2A/U2X/U2Y)

20-23

--

--

Not Used

20

--

--

Not Used

24

YE

5342

Voice Prompt Output (+) (Export)

24

YE

5342

Voice Prompt Output (+) (Export)

25

BARE

5344

Drain Wire (Blunt Cut) (Export)

25

BARE

5344

Drain Wire (Export)

26

BK/WH

851

Ground

26

BK/WH

851

Ground

C304 Console Harness to I/P Harness (RHD M82)


Object Number: 823292  Size: CH

Object Number: 888602  Size: CH

Connector Part Information

  • OEM: 7283-6459-40
  • Service: See Catalog
  • Description: 10-Way F (GY)

Connector Part Information

  • OEM: 7282-6459-40
  • Service: 89047070
  • Description: 10-Way M (GY)

Terminal Part Information

  • Terminal/Tray: See Terminal Repair Kit
  • Core/Insulation Crimp: See Terminal Repair Kit
  • Release Tool/Test Probe: See Terminal Repair Kit

Terminal Part Information

  • Terminal/Tray: See Terminal Repair Kit
  • Core/Insulation Crimp: See Terminal Repair Kit
  • Release Tool/Test Probe: See Terminal Repair Kit

C304 Console Harness to I/P Harness (RHD M82)

Pin

Wire Color

Circuit No.

Function

Pin

Wire Color

Circuit No.

Function

1

RD/WH

2240

Battery Positive Voltage

1

RD/WH

2240

Battery Positive Voltage

2

YE

772

Transmission Range Switch Signal B

2

YE

772

Transmission Range Switch Signal B

3

GY

773

Transmission Range Switch Signal C

3

GY

773

Transmission Range Switch Signal C

4

PU/WH

1382

LED Dimming Signal

4

PU/WH

1382

LED Dimming Signal

5

BK

450

Ground

5

BK

450

Ground

6

YE

243

Accessory Voltage

6

YE

243

Accessory Voltage

7

WH

776

Transmission Range Switch Signal P

7

BARE

776

Transmission Range Switch Signal P

8

BK/WH

771

Transmission Range Switch Signal A

8

TN/WH

771

Transmission Range Switch Signal A

9

--

--

Not Used

9

--

--

Not Used

10

YE

1491

Backlight Lamps Control

10

YE

1491

Backlight Lamps Control

C305 Headliner Harness to Body Harness


Object Number: 823294  Size: CH

Object Number: 888604  Size: CH

Connector Part Information

  • OEM: 7283-6453-60
  • Service: 89047090
  • Description: 16-Way F 1.5 Series (GN)

Connector Part Information

  • OEM: 7282-6453-60
  • Service: 89047071
  • Description: 16-Way M 1.5 Series (GN)

Terminal Part Information

  • Pins: 1, 2, 3, 4, 5, 6, 7, 10, 11, 12, 13, 14, 15, 16
  • Terminal/Tray: See Terminal Repair Kit
  • Core/Insulation Crimp: See Terminal Repair Kit
  • Release Tool/Test Probe: See Terminal Repair Kit

Terminal Part Information

  • Pins: 1, 2, 3, 4, 5, 6, 7, 10, 11, 12, 13, 16
  • Terminal/Tray: 7114-4100-08/9
  • Core/Insulation Crimp: E/C
  • Release Tool/Test Probe: 15315247/J-35616-3 (GY)
  • Pins: 14, 15
  • Terminal/Tray: See Terminal Repair Kit
  • Core/Insulation Crimp: See Terminal Repair Kit
  • Release Tool/Test Probe: See Terminal Repair Kit

C305 Headliner Harness to Body Harness

Pin

Wire Color

Circuit No.

Function

Pin

Wire Color

Circuit No.

Function

1

RD/WH

3640

Battery Positive Voltage

1

RD/WH

3640

Battery Positive Voltage

2

D-GN

44

Instrument Panel Lamps Dimmer Switch Signal

2

D-GN

44

Instrument Panel Lamps Dimmer Switch Signal

3

BARE

1489

Drain Wire (U57)

3

BARE

1489

Drain Wire (U57)

4

D-GN

1488

Noise Reduction Microphone Supply Voltage (U57)

4

D-GN

1488

Noise Reduction Microphone Supply Voltage (U57)

5

PK/BK

1597

Courtesy Lamps Switch On Signal

5

PK/BK

1597

Courtesy Lamps Switch On Signal

6

BARE

1782

Drain Wire (UE1)

6

BARE

1782

Drain Wire (UE1)

7

GY

655

Cellular Microphone Signal (UE1)

7

GY

655

Cellular Microphone Signal (UE1)

8-9

--

--

Not Used

8-9

--

--

Not Used

10

PU

1807

Class 2 Serial Data

10

PU

1807

Class 2 Serial Data

11

L-BU/BK

1688

5-Volt Reference

11

L-BU/BK

1688

5-Volt Reference

12

YE

5005

Instrument Panel Lamps Dimmer Switch Low Reference

12

YE

5005

Instrument Panel Lamps Dimmer Switch Low Reference

13

YE

1491

Backlight Lamps Control

13

YE

1491

Backlight Lamps Control

14

PU

5059

Intrusion Sensor Alarm On Signal (Export w/UA6/UA2)

14

PU

5059

Intrusion Sensor Alarm On Signal (Export w/UA6/UA2)

15

YE

5058

Intrusion Sensor Armed Signal (Export w/UA6/UA2)

15

YE

5058

Intrusion Sensor Armed Signal (Export w/UA6/UA2)

16

PU

679

Radio Master Request Display Signal (UE1)

16

PU

679

Radio Master Request Display Signal (UE1)

C306 Passenger Seat Harness to Body Harness


Object Number: 889501  Size: CH

Object Number: 889502  Size: CH

Object Number: 258658  Size: CH

Connector Part Information

  • OEM: 15304656
  • Service: See Catalog
  • Description: 2-Way F GT 250 Series (YE)

Connector Part Information

  • OEM: 15304649
  • Service: 15306061
  • Description: 6-Way M Series GT 150 280 Series (YE)

Terminal Part Information

  • Terminal/Tray: See Terminal Repair Kit
  • Core/Insulation Crimp: See Terminal Repair Kit
  • Release Tool/Test Probe: See Terminal Repair Kit

Connector Part Information

  • OEM: 15304653
  • Service: See Catalog
  • Description: 4-Way F GT 250 Series (YE)

Terminal Part Information

  • Terminal/Tray: See Terminal Repair Kit
  • Core/Insulation Crimp: See Terminal Repair Kit
  • Release Tool/Test Probe: See Terminal Repair Kit

Terminal Part Information

  • Pins: A, C, D, F
  • Terminal/Tray: 15304722/8
  • Core/Insulation Crimp: E/C
  • Release Tool/Test Probe: 15315247/J-35616-5 (PU)

C306 Passenger Seat Harness to Body Harness

Pin

Wire Color

Circuit No.

Function

Pin

Wire Color

Circuit No.

Function

A

BK

2116

Seat Belt Pretensioner - Front Passenger - High Control

A

L-GN

2116

Seat Belt Pretensioner - Front Passenger - High Control

B

--

--

Not Used

B

--

--

Not Used

C

WH

2103

Side Impact Module - Front Passenger - High Control

C

GY

2103

Side Impact Module - Front Passenger - High Control

D

D-GN

2104

Side Impact Module - Front Passenger - Low Control

D

D-BU

2104

Side Impact Module - Front Passenger - Low Control

E

--

--

Not Used

E

--

--

Not Used

F

WH

2117

Seat Belt Pretensioner - Front Passenger - Low Control

F

OG

2117

Seat Belt Pretensioner - Front Passenger - Low Control

C307 Body Harness to Passenger Seat Harness


Object Number: 823290  Size: CH

Object Number: 1283905  Size: CH

Connector Part Information

  • OEM: 7283-6447-40
  • Service: 88956524
  • Description: 14-Way F Hybrid (GY)

Connector Part Information

  • OEM: 7282-6447-40
  • Service: 88956523
  • Description: 14-Way M Hybrid (GY)

Terminal Part Information

  • Pins: 7
  • Terminal/Tray: 7116-4110-02/9
  • Core/Insulation Crimp: E/C
  • Release Tool/Test Probe: 12094430/J-35616-4A (PU)
  • Pins: 3, 4, 5, 6, 9, 10, 11, 12, 13
  • Terminal/Tray: 7116-4100-08/9
  • Core/Insulation Crimp: E/C
  • Release Tool/Test Probe: 12094430/J-35616-2A (GY)
  • Pins: 2
  • Terminal/Tray: 7116-4101-08/9
  • Core/Insulation Crimp: E/A
  • Release Tool/Test Probe: 12094430/J-35616-2A (GY)
  • Pins: 1, 14
  • Terminal/Tray: 7116-4112-02/9
  • Core/Insulation Crimp: C/D
  • Release Tool/Test Probe: 12094430/J-35616-35 (VT)

Terminal Part Information

  • Terminal/Tray: See Terminal Repair Kit
  • Core/Insulation Crimp: See Terminal Repair Kit
  • Release Tool/Test Probe: See Terminal Repair Kit

C307 Body Harness to Passenger Seat Harness

Pin

Wire Color

Circuit No.

Function

Pin

Wire Color

Circuit No.

Function

1

RD/WH

3740

Battery Positive Voltage (AH8)

1

OG

3740

Battery Positive Voltage (AH8)

2

RD/WH

2540

Battery Positive Voltage (KA1)

2

OG

2540

Battery Positive Voltage (KA1)

3

PK/BK

1503

Passenger Heated Seat High/Low Signal (KA1)

3

PK

1503

Passenger Heated Seat High/Low Signal (KA1)

4

D-BU

2181

Passenger Heated Seat Control Module Status Signal (KA1)

4

L-BU/WH

2181

Passenger Heated Seat Control Module Status Signal (KA1)

5

D-BU

2307

Passenger Air Bag On Indicator Control

5

D-BU

2307

Passenger Air Bag On Indicator Control

6

D-GN

2308

Passenger Air Bag Off Indicator Control

6

D-GN

2308

Passenger Air Bag Off Indicator Control

7

PK

1139

Ignition 1 Voltage

7

PK

1139

Ignition 1 Voltage

8

--

--

Not Used

8

--

--

Not Used

9

BN

41

Ignition 3 Voltage (KA1)

9

BN

41

Ignition 3 Voltage (KA1)

10

BK/WH

1751

Ground

10

BK/WH

1751

Ground

11

PK

2306

Occupant Sensor Signal

11

PK

2306

Occupant Sensor Signal

12

PK

5017

Seat Belt Switch - Left - Low Reference

12

PK

5017

Seat Belt Switch - Left - Low Reference

13

OG

1362

Seat Belt Switch - Right - Signal

13

OG

1362

Seat Belt Switch - Right - Signal

14

BK

550

Ground (AH8/KA1)

14

BK

550

Ground (AH8/KA1)

C308 Headliner Harness to Body Harness


Object Number: 888605  Size: CH

Object Number: 823300  Size: CH

Connector Part Information

  • OEM: 7283-6456-90
  • Service: 88988265
  • Description: 16-Way F YESC 1.5 (BU)

Connector Part Information

  • OEM: 7282-6456-90
  • Service: 89047071
  • Description: 16-Way M YESC 1.5 (BU)

Terminal Part Information

  • Pins: 1, 2, 3, 4, 6, 7, 8, 9, 10, 11, 12, 13, 14, 15, 16
  • Terminal/Tray: See Terminal Repair Kit
  • Core/Insulation Crimp: See Terminal Repair Kit
  • Release Tool/Test Probe: See Terminal Repair Kit

Terminal Part Information

  • Pins: 15
  • Terminal/Tray: 7114-4101-08/9
  • Core/Insulation Crimp: E/A
  • Release Tool/Test Probe: 15315247/J-35616-3 (GY)
  • Pins: 1, 2, 3, 4, 6, 7, 8, 9, 10, 11, 12, 13, 14, 16
  • Terminal/Tray: 7114-4100-08/9
  • Core/Insulation Crimp: E/C
  • Release Tool/Test Probe: 15315247/J-35616-3 (GY)

C308 Headliner Harness to Body Harness

Pin

Wire Color

Circuit No.

Function

Pin

Wire Color

Circuit No.

Function

1

D-BU/WH

149

Courtesy Lamp Supply Voltage

1

D-BU/WH

149

Courtesy Lamp Supply Voltage

2

GY/BK

1798

Ground (UE1)

2

GY/BK

1798

Ground (UE1)

3

PU

1156

Keypad Red LED Signal (UE1)

3

PU

1156

Keypad Red LED Signal (UE1)

4

BN

1941

Ignition 3 Voltage (UE1)

4

BN

1941

Ignition 3 Voltage (UE1)

5

--

--

Not Used

5

--

--

Not Used

6

GY

157

Courtesy Lamp Control

6

GY

157

Courtesy Lamp Control

7

BK

850

Ground

7

BK

850

Ground

8

L-GN

24

Backup Lamp Supply Voltage (DD8)

8

L-GN

24

Backup Lamp Supply Voltage (DD8)

9

PK

1339

Ignition 1 Voltage (DD8)

9

PK

1339

Ignition 1 Voltage (DD8)

10

D-BU

2307

Passenger Air Bag ON Indicator Control

10

D-BU

2307

Passenger Air Bag ON Indicator Control

11

D-GN

2308

Passenger Air Bag OFF Indicator Control

11

D-GN

2308

Passenger Air Bag OFF Indicator Control

12

BK/WH

851

Ground (DD8)

12

BK/WH

851

Ground (DD8)

13

TN

1856

Left Front Tweeter Speaker Output (+)

13

TN

1856

Left Front Tweeter Speaker Output (+)

14

YE

1956

Left Front Tweeter Speaker Output (-)

14

YE

1956

Left Front Tweeter Speaker Output (-)

15

L-GN

1852

Right Front Tweeter Speaker Output (+)

15

L-GN

1852

Right Front Tweeter Speaker Output (+)

16

PU

1952

Right Front Tweeter Speaker Output (-)

16

PU

1952

Right Front Tweeter Speaker Output (-)

C312 Console Harness to Body Harness (M82)


Object Number: 888602  Size: CH

Object Number: 823292  Size: CH

Connector Part Information

  • OEM: 7283-6459-40
  • Service: See Catalog
  • Description: 10-Way F YESC (GY)

Connector Part Information

  • OEM: 7282-6459-40
  • Service: 89047070
  • Description: 10-Way M YESC (GY)

Terminal Part Information

  • Pins: 1, 2, 3, 4, 6, 7, 8, 9, 10
  • Terminal/Tray: See Terminal Repair Kit
  • Core/Insulation Crimp: See Terminal Repair Kit
  • Release Tool/Test Probe: See Terminal Repair Kit

Terminal Part Information

  • Pins: 6
  • Terminal/Tray: 7114-4110-02/9
  • Core/Insulation Crimp: E/C
  • Release Tool/Test Probe: 12094430/J-35616-5 (PU)
  • Pins: 2, 3, 4, 7, 8, 9, 10
  • Terminal/Tray: 7114-4100-08/9
  • Core/Insulation Crimp: E/C
  • Release Tool/Test Probe: 15315247/J-35616-3 (GY)
  • Pins: 1
  • Terminal/Tray: See Terminal Repair Kit
  • Core/Insulation Crimp: See Terminal Repair Kit
  • Release Tool/Test Probe: See Terminal Repair Kit

C312 Console Harness to Body Harness

Pin

Wire Color

Circuit No.

Function

Pin

Wire Color

Circuit No.

Function

1

BK

450

Ground

1

BK

450

Ground

2

BK/WH

451

Ground (M82)

2

BK/WH

451

Ground (M82)

3

L-GN

5053

Winter Mode Switch Signal (M82)

3

L-GN

5053

Winter Mode Switch Signal

4

PU

2056

Auxiliary Video High Signal (U2Y/U2X)

4

PU

2056

Auxiliary Video High Signal (U2Y/U2X)

5

--

--

Not Used

5

--

--

Not Used

6

GY

5054

Sport Mode Switch Signal (M82)

6

GY

5054

Sport Mode Switch Signal (M82)

7

BARE

2057

Drain Wire (U2Y/U2X)

7

BARE

814

Drain Wire (U2Y/U2X)

8

WH

2058

Auxiliary Audio Right Signal (U2Y/U2X)

8

WH

2058

Auxiliary Audio Right Signal (U2Y/U2X)

9

YE

2059

Auxiliary Audio Left Signal (U2Y/U2X)

9

YE

2059

Auxiliary Audio Left Signal (U2Y/U2X)

10

BARE

814

Drain Wire (U2Y/U2X)

10

BARE

814

Drain Wire (U2Y/U2X)

C313 Console Harness to IP Harness


Object Number: 1803142  Size: CH

Object Number: 1803144  Size: CH

Connector Part Information

  • OEM:7283-6445-40
  • Service:See Catalog
  • Description: 2-Way F (L-GY)

Connector Part Information

  • OEM: 7282-6445-40
  • Service: See Catalog
  • Description: 2-Way M (L-GY)

Terminal Part Information

  • Terminal/Tray: See Terminal Repair Kit
  • Core/Insulation Crimp: See Terminal Repair Kit
  • Release Tool/Test Probe: See Terminal Repair Kit

Terminal Part Information

  • Terminal/Tray: See Terminal Repair Kit
  • Core/Insulation Crimp: See Terminal Repair Kit
  • Release Tool/Test Probe: See Terminal Repair Kit

C313 Console Harness to IP Harness

Pin

Wire Color

Circuit No.

Function

Pin

Wire Color

Circuit No.

Function

1

RD/WH

2040

Battery Positive Voltage

1

RD/WH

2040

Battery Positive Voltage

2

BK

450

Ground

2

BK

450

Ground

C314 Inflatable Restraint Roof Rail Module - Driver to Body Harness


Object Number: 966375  Size: CH

Object Number: 646194  Size: CH

Connector Part Information

  • OEM:12077921
  • Service:See Catalog
  • Description: 2-Way F (YE)

Connector Part Information

  • OEM: 12186799
  • Service: See Catalog
  • Description: 2-Way M (YE)

Terminal Part Information

  • Terminal/Tray: See Terminal Repair Kit
  • Core/Insulation Crimp: See Terminal Repair Kit
  • Release Tool/Test Probe: See Terminal Repair Kit

Terminal Part Information

  • Terminal/Tray: See Terminal Repair Kit
  • Core/Insulation Crimp: See Terminal Repair Kit
  • Release Tool/Test Probe: See Terminal Repair Kit

C314 Inflatable Restraint Roof Rail Module - Driver to Body Harness

Pin

Wire Color

Circuit No.

Function

Pin

Wire Color

Circuit No.

Function

A

WH

5019

Roof Rail Module - Left - High Control

1

PU/WH

5019

Roof Rail Module - Left - High Control

B

D-GN

5020

Roof Rail Module - Left - Low Control

2

PK

5020

Roof Rail Module - Left - Low Control

C315 Inflatable Restraint Roof Rail Module - Passenger to Body Harness


Object Number: 966375  Size: CH

Object Number: 646194  Size: CH

Connector Part Information

  • OEM:12077921
  • Service:See Catalog
  • Description: 2-Way F (YE)

Connector Part Information

  • OEM: 12186799
  • Service: See Catalog
  • Description: 2-Way M (YE)

Terminal Part Information

  • Terminal/Tray: See Terminal Repair Kit
  • Core/Insulation Crimp: See Terminal Repair Kit
  • Release Tool/Test Probe: See Terminal Repair Kit

Terminal Part Information

  • Terminal/Tray: See Terminal Repair Kit
  • Core/Insulation Crimp: See Terminal Repair Kit
  • Release Tool/Test Probe: See Terminal Repair Kit

C315 Inflatable Restraint Roof Rail Module - Passenger to Body Harness

Pin

Wire Color

Circuit No.

Function

Pin

Wire Color

Circuit No.

Function

A

WH

5021

Roof Rail Module - Right - High Control

A

YE/BK

5021

Roof Rail Module - Right - High Control

B

D-GN

5022

Roof Rail Module - Right - Low Control

B

WH/BK

5022

Roof Rail Module - Right - Low Control

C321 I/P Harness to HVAC Harness (LHD)


Object Number: 888604  Size: CH

Object Number: 823294  Size: CH

Connector Part Information

  • OEM: 7283-5534-60
  • Service: 88952777
  • Description: 16-Way F 1.5 Series Weather-Pack (GN)

Connector Part Information

  • OEM: 7282-5534-60
  • Service: 88952799
  • Description: 16-Way M 1.5 Series Weather-Pack (GN)

Terminal Part Information

  • Pins: 1, 2, 3, 4, 5, 6, 10, 11, 12, 13, 14, 15
  • Terminal/Tray: 7116-4100-08/9
  • Core/Insulation Crimp: E/C
  • Release Tool/Test Probe: 12094430/J-35616-2A (GY)

Terminal Part Information

  • Pins: 1, 2, 3, 4, 5, 6, 10, 11, 12, 13, 14, 15
  • Terminal/Tray: See Terminal Repair Kit
  • Core/Insulation Crimp: See Terminal Repair Kit
  • Release Tool/Test Probe: See Terminal Repair Kit

C321 I/P Harness to HVAC Harness (LHD)

Pin

Wire Color

Circuit No.

Function

Pin

Wire Color

Circuit No.

Function

1

D-BU

1646

Passenger Air Temperature Door Position

1

D-BU

1646

Passenger Air Temperature Door Position

2

WH/BK

1236

Passenger Air Temperature Door Control B

2

WH/BK

1236

Passenger Air Temperature Door Control B

3

GY/BK

2778

Passenger Air Temperature Door Control A

3

GY/BK

2778

Passenger Air Temperature Door Control A

4

YE

1318

Mode Door Control B

4

PK

1318

Mode Door Control B

5

YE/BK

1814

Lower Mode Door Position Signal

5

GY

1814

Lower Mode Door Position Signal

6

TN

2273

Mode Door Control A

6

L-BU

2273

Mode Door Control A

7-9

--

--

Not Used

7-9

--

--

Not Used

10

GY

705

5-Volt Reference

10

GY

705

5-Volt Reference

11

L-BU

733

Driver Air Temperature Door Position Signal

11

L-BU

733

Driver Air Temperature Door Position Signal

12

YE

1791

Driver Air Temperature Door Control A

12

YE

1791

Driver Air Temperature Door Control A

13

D-BU

1199

Driver Air Temperature Door Control B

13

D-BU

1199

Driver Air Temperature Door Control B

14

YE

61

Low Reference

14

YE

61

Low Reference

15

GY

731

Evaporator Temperature Sensor Signal

15

GY

731

Evaporator Temperature Sensor Signal

16

--

--

Not Used

16

--

--

Not Used

C321 I/P Harness to HVAC Harness (RHD)


Object Number: 1592558  Size: CH

Object Number: 823294  Size: CH

Connector Part Information

  • OEM: 7183-6453-60
  • Service: See Catalog
  • Description: 16-Way 1.5 Series Weather-Pack (GN)

Connector Part Information

  • OEM: 7182-6453-60
  • Service: See Catalog
  • Description: 16-Way 1.5 Series Weather-Pack (GN)

Terminal Part Information

  • Pins: 1, 2, 3, 4, 5, 6, 10, 11, 12, 13, 14, 15
  • Terminal/Tray: See Terminal Repair Kit
  • Core/Insulation Crimp: See Terminal Repair Kit
  • Release Tool/Test Probe: See Terminal Repair Kit

Terminal Part Information

  • Pins: 1, 2, 3, 4, 5, 6, 10, 11, 12, 13, 14, 15
  • Terminal/Tray: See Terminal Repair Kit
  • Core/Insulation Crimp: See Terminal Repair Kit
  • Release Tool/Test Probe: See Terminal Repair Kit

C321 I/P Harness to HVAC Harness (RHD)

Pin

Wire Color

Circuit No.

Function

Pin

Wire Color

Circuit No.

Function

1

L-BU

733

Driver Air Temperature Door Position Signal

1

L-BU

733

Driver Air Temperature Door Position Signal

2

D-BU

1199

Driver Air Temperature Door Control B

2

D-BU

1199

Driver Air Temperature Door Control B

3

YE

1791

Driver Air Temperature Door Control A

3

YE

1791

Driver Air Temperature Door Control A

4

YE

1318

Mode Door Control B

4

PK

1318

Mode Door Control B

5

YE/BK

1814

Mode Door Position Signal

5

GY

1814

Mode Door Position Signal

6

TN

2273

Mode Door Control A

6

L-BU

2273

Mode Door Control A

7-9

--

--

Not Used

7-9

--

--

Not Used

10

GY

705

5-Volt Reference

10

GY

705

5-Volt Reference

11

D-BU

1646

Passenger Air Temperature Door Position Signal

11

D-BU

1646

Passenger Air Temperature Door Position Signal

12

GY/BK

2778

Passenger Air Temperature Door Control A

12

GY/BK

2778

Passenger Air Temperature Door Control A

13

WH/BK

1236

Passenger Air Temperature Door Control B

13

WH/BK

1236

Passenger Air Temperature Door Control B

14

YE

61

Low Reference

14

YE

61

Low Reference

15

GY

731

Evaporator Temperature Sensor Signal

15

GY

731

Evaporator Temperature Sensor Signal

16

--

--

Not Used

16

--

--

Not Used

C323 I/P Harness to HVAC Harness


Object Number: 826318  Size: CH

Object Number: 889757  Size: CH

Connector Part Information

  • OEM: 7283-1064
  • Service: 88952827
  • Description: 6-Way F (WH)

Connector Part Information

  • OEM: 7282-1064
  • Service: See Catalog
  • Description: 6-Way M (WH)

Terminal Part Information

  • Terminal/Tray: See Terminal Repair Kit
  • Core/Insulation Crimp: See Terminal Repair Kit
  • Release Tool/Test Probe: See Terminal Repair Kit

Terminal Part Information

  • Terminal/Tray: See Terminal Repair Kit
  • Core/Insulation Crimp: See Terminal Repair Kit
  • Release Tool/Test Probe: See Terminal Repair Kit

C323 I/P Harness to HVAC Harness

Pin

Wire Color

Circuit No.

Function

Pin

Wire Color

Circuit No.

Function

1

L-BU

188

Blower Motor Control Processor Supply Voltage

1

L-BU

188

Blower Motor Control Processor Supply Voltage

2

BK

450

Ground

2

BK

450

Ground

3

BN

41

Ignition 3 Voltage

3

TN

41

Ignition 3 Voltage

4

PU

1838

Recirculation Door Control A

4

PU

1838

Recirculation Door Control A

5

D-GN

1614

Recirculation Door Control B

5

D-GN

1614

Recirculation Door Control B

6

GY/BK

754

Blower Motor Speed Control

6

GY/BK

754

Blower Motor Speed Control

C324 Lumbar Motor-Driver Jumper


Object Number: 38274  Size: CH

Object Number: 1390769  Size: CH

Connector Part Information

  • OEM: 12034344
  • Service: See Catalog
  • Description: 2-Way F (NA)

Connector Part Information

  • OEM: 12045199
  • Service: See Catalog
  • Description: 2-Way M (NA)

Terminal Part Information

  • Terminal/Tray: See Terminal Repair Kit
  • Core/Insulation Crimp: See Terminal Repair Kit
  • Release Tool/Test Probe: See Terminal Repair Kit

Terminal Part Information

  • Terminal/Tray:See Terminal Repair Kit
  • Core/Insulation Crimp:See Terminal Repair Kit
  • Release Tool/Test Probe: See Terminal Repair Kit

C324 Lumbar Motor-Driver Jumper

Pin

Wire Color

Circuit No.

Function

Pin

Wire Color

Circuit No.

Function

A

D-BU

611

Driver Seat Lumbar Motor Forward Control

A

D-BU

611

Driver Seat Lumbar Motor Forward Control

B

PK

610

Driver Seat Lumbar Motor Forward Control

B

PK

610

Driver Seat Lumbar Motor Forward Control

C325 Lumbar Motor-Front Passenger Jumper


Object Number: 38274  Size: CH

Object Number: 1390769  Size: CH

Connector Part Information

  • OEM: 12034344
  • Service: See Catalog
  • Description: 2-Way F (NA)

Connector Part Information

  • OEM: 12045199
  • Service: See Catalog
  • Description: 2-Way M (NA)

Terminal Part Information

  • Terminal/Tray: See Terminal Repair Kit
  • Core/Insulation Crimp: See Terminal Repair Kit
  • Release Tool/Test Probe: See Terminal Repair Kit

Terminal Part Information

  • Terminal/Tray:See Terminal Repair Kit
  • Core/Insulation Crimp:See Terminal Repair Kit
  • Release Tool/Test Probe: See Terminal Repair Kit

C325 Lumbar Motor-Driver Jumper

Pin

Wire Color

Circuit No.

Function

Pin

Wire Color

Circuit No.

Function

A

D-BU

211

Passenger Seat Lumbar Motor Forward Control

A

D-BU

211

Passenger Seat Lumbar Motor Forward Control

B

WH

210

Passenger Seat Lumbar Motor Forward Control

B

WH

210

Passenger Seat Lumbar Motor Forward Control

C400 Body Harness to Rear Shelf Harness


Object Number: 823290  Size: CH

Object Number: 1283905  Size: CH

Connector Part Information

  • OEM: 7283-6447-40
  • Service: 88956524
  • Description: 14-Way F Hybrid (GY)

Connector Part Information

  • OEM: 7282-6447-40
  • Service: 88956523
  • Description: 14-Way M Hybrid (GY)

Terminal Part Information

  • Pins: 3, 5
  • Terminal/Tray: 7116-4100-08/9
  • Core/Insulation Crimp: E/C
  • Release Tool/Test Probe: 12094430/J-35616-2A (GY)
  • Pins: 4, 6
  • Terminal/Tray: 7116-4101-08/9
  • Core/Insulation Crimp: E/A
  • Release Tool/Test Probe: 12094430/J-35616-2A (GY)
  • Pins: 1, 7
  • Terminal/Tray: 7116-4111-02/9
  • Core/Insulation Crimp: E/A
  • Release Tool/Test Probe: 12094430/J-35616-4A (PU)

Terminal Part Information

  • Pins: 1, 3, 4, 5, 6, 7
  • Terminal/Tray: See Terminal Repair Kit
  • Core/Insulation Crimp: See Terminal Repair Kit
  • Release Tool/Test Probe: See Terminal Repair Kit

C400 Body Harness to Rear Shelf Harness

Pin

Wire Color

Circuit No.

Function

Pin

Wire Color

Circuit No.

Function

1

L-GN/BK

1794

Left (U66) or Rear (U57) Subwoofer Speaker Output (-)

1

L-GN/BK

1794

Left (U66) or Rear (U57) Subwoofer Speaker Output (-)

2

--

--

Not Used

2

--

--

Not Used

3

OG/BK

737

Rear Compartment Lamp Control

3

OG/BK

737

Rear Compartment Lamp Control

4

L-BU/BK

315

Right Subwoofer Speaker Output (-) (U66)

4

L-BU/BK

315

Right Subwoofer Speaker Output (-) (U66)

5

D-BU/WH

149

Courtesy Lamp Supply Voltage

5

D-BU/WH

149

Courtesy Lamp Supply Voltage

6

D-GN

1795

Right Subwoofer Speaker Output (+) (U66)

6

D-GN

1795

Right Subwoofer Speaker Output (+) (U66)

7

D-BU/WH

346

Left (U66) or Rear (U57) Subwoofer Speaker Output (+)

7

D-BU/WH

346

Left (U66) or Rear (U57) Subwoofer Speaker Output (+)

8-14

--

--

Not Used

8-14

--

--

Not Used

C401 Sunroof Harness to Body Harness (CF5)


Object Number: 68737  Size: CH

Object Number: 130696  Size: CH

Connector Part Information

  • OEM: 12129489
  • Service: 12126486
  • Description: 3-Way F Metri-Pack 280 Series (BK)

Connector Part Information

  • OEM: 12129490
  • Service: 12129490
  • Description: 3-Way M Metri-Pack 280 Series (BK)

Terminal Part Information

  • Terminal/Tray: See Terminal Repair Kit
  • Core/Insulation Crimp: See Terminal Repair Kit
  • Release Tool/Test Probe: See Terminal Repair Kit

Terminal Part Information

  • Pins: B
  • Terminal/Tray: 12034047/2
  • Core/Insulation Crimp: E/A
  • Release Tool/Test Probe: 12094430/J-35616-5 (PU)
  • Pins: A, C
  • Terminal/Tray: 12084586/4
  • Core/Insulation Crimp: F/G
  • Release Tool/Test Probe: 12094430/J-35616-5 (PU)

C401 Sunroof Harness to Body Harness (CF5)

Pin

Wire Color

Circuit No.

Function

Pin

Wire Color

Circuit No.

Function

A

BK

1050

Ground

A

BK

1050

Ground

B

BN

755

RAP Relay Coil Control

B

TN

755

RAP Relay Coil Control

C

D-BU

1640

Battery Positive Voltage

C

RD/WH

1640

Battery Positive Voltage

C402 Headliner Harness to Sunroof Harness (CF5)


Object Number: 825441  Size: CH

Object Number: 802496  Size: CH

Connector Part Information

  • OEM: 7283-6455-40
  • Service: See Catalog
  • Description: 10-Way F Header Series (GY)

Connector Part Information

  • OEM: 7282-6455-40
  • Service: 88988926
  • Description: 10-Way M Header Series (GY)

Terminal Part Information

  • Pins: 1, 2, 3, 4, 5, 6, 7
  • Terminal/Tray: See Terminal Repair Kit
  • Core/Insulation Crimp: See Terminal Repair Kit
  • Release Tool/Test Probe: See Terminal Repair Kit

Terminal Part Information

  • Pins: 1, 2, 3, 4, 5, 6, 7
  • Terminal/Tray: See Terminal Repair Kit
  • Core/Insulation Crimp: See Terminal Repair Kit
  • Release Tool/Test Probe: See Terminal Repair Kit

C402 Headliner Harness to Sunroof Harness (CF5)

Pin

Wire Color

Circuit No.

Function

Pin

Wire Color

Circuit No.

Function

1

D-BU

128

Sunroof Switch Low Reference

1

D-BU

128

Sunroof Switch Low Reference

2

L-BU

5027

Sunroof Switch - Data 1

2

L-BU

5027

Sunroof Switch - Data 1

3

BN

5028

Sunroof Switch - Data 2

3

BN

5028

Sunroof Switch - Data 2

4

OG

5029

Sunroof Switch - Data 3

4

OG

5029

Sunroof Switch - Data 3

5

PK

5031

Sunroof Switch - Data 5

5

PK

5031

Sunroof Switch - Data 5

6

PU

5032

Sunroof Switch - Data 6

6

PU

5032

Sunroof Switch - Data 6

7

TN

5030

Sunroof Switch - Data 4

7

TN

5030

Sunroof Switch - Data 4

8-10

--

--

Not Used

8-10

--

--

Not Used

C403 Headliner Harness to Body Harness


Object Number: 35451  Size: CH

Object Number: 816551  Size: CH

Connector Part Information

  • OEM: 12059251
  • Service: 12101848
  • Description: 2-Way F Metri-Pack 150 Series (RD)

Connector Part Information

  • OEM: 12059252
  • Service: 12102749
  • Description: 2-Way M Metri-Pack 150 Series (RD)

Terminal Part Information

  • Pins: B
  • Terminal/Tray: See Terminal Repair Kit
  • Core/Insulation Crimp: See Terminal Repair Kit
  • Release Tool/Test Probe: See Terminal Repair Kit

Terminal Part Information

  • Pins: B
  • Terminal/Tray: 12047581/2
  • Core/Insulation Crimp: E/C
  • Release Tool/Test Probe: 12094429/J-35616-3 (GY)

C403 Headliner Harness to Body Harness

Pin

Wire Color

Circuit No.

Function

Pin

Wire Color

Circuit No.

Function

A

--

--

Not Used

A

--

--

Not Used

B

OG

1486

FM Composite Signal

B

OG

1486

FM Composite Signal

C410 Body Harness to Left Tail Lamp Harness


Object Number: 62439  Size: CH

Object Number: 62434  Size: CH

Connector Part Information

  • OEM: 12047886
  • Service: 12101822
  • Description: 8-Way F Metri-Pack 150 Series (BK)

Connector Part Information

  • OEM: 12045688
  • Service: 12101827
  • Description: 8-Way M Metri-Pack 150 Series (BK)

Terminal Part Information

  • Pins: A, D, F, H
  • Terminal/Tray: 12064971/5
  • Core/Insulation Crimp: E/C
  • Release Tool/Test Probe: 12094429/J-35616-2A (GY)
  • Pins: B, C, E, G
  • Terminal/Tray: 12047767/2
  • Core/Insulation Crimp: E/A
  • Release Tool/Test Probe: 12094429/J-35616-2A (GY)

Terminal Part Information

  • Pins: A, B, C, D, F, G, H
  • Terminal/Tray: See Terminal Repair Kit
  • Core/Insulation Crimp: See Terminal Repair Kit
  • Release Tool/Test Probe: See Terminal Repair Kit

C410 Body Harness to Left Tail Lamp Harness

Pin

Wire Color

Circuit No.

Function

Pin

Wire Color

Circuit No.

Function

A

PU

709

Left Park Lamp Supply Voltage (w/o T79)

A

D-BU

709

Left Park Lamp Supply Voltage (w/o T79)

PU

1472

Left Park Lamp Supply Voltage (w/T79)

PU

1472

Left Park Lamp Supply Voltage (w/T79)

B

WH

17

Stop Lamp Supply Voltage (w/o T79)

B

WH

17

Stop Lamp Supply Voltage (w/o T79)

--

--

Not Used (w/T79)

--

--

Not Used (w/T79)

C

L-BU/WH

1314

Left Turn Signal Indicator Lamp Supply Voltage

C

L-BU/WH

1314

Left Turn Signal Indicator Lamp Supply Voltage

D

BK

850

Ground

D

BK

850

Ground

E

D-BU/WH

1315

Right Turn Signal Indicator Lamp Supply Voltage

E

--

--

Not Used

F

PU

709

Left Park Lamp Supply Voltage (w/o T79)

F

PU

709

Left Park Lamp Supply Voltage (w/o T79)

--

--

Not Used (w/T79)

--

--

Not Used (w/T79)

G

WH

17

Stop Lamp Supply Voltage (w/T79)

G

WH/BK

17

Stop Lamp Supply Voltage

H

PU

709

Left Park Lamp Supply Voltage

H

OG

709

Left Park Lamp Supply Voltage

C411 Body Harness to Right Tail Lamp Harness


Object Number: 62439  Size: CH

Object Number: 62434  Size: CH

Connector Part Information

  • OEM: 12047886
  • Service: 12101822
  • Description: 8-Way F Metri-Pack 150 Series (BK)

Connector Part Information

  • OEM: 12045688
  • Service: 12101827
  • Description: 8-Way M Metri-Pack 150 Series (BK)

Terminal Part Information

  • Pins: A, D, F, H
  • Terminal/Tray: 12064971/5
  • Core/Insulation Crimp: E/C
  • Release Tool/Test Probe: 12094429/J-35616-2A (GY)
  • Pins: B, C, G
  • Terminal/Tray: 12047767/2
  • Core/Insulation Crimp: E/A
  • Release Tool/Test Probe: 12094429/J-35616-2A (GY)

Terminal Part Information

  • Pins: A, B, C, D, F, G, H
  • Terminal/Tray: See Terminal Repair Kit
  • Core/Insulation Crimp: See Terminal Repair Kit
  • Release Tool/Test Probe: See Terminal Repair Kit

C411 Body Harness to Right Tail Lamp Harness

Pin

Wire Color

Circuit No.

Function

Pin

Wire Color

Circuit No.

Function

A

BN/WH

309

Right Park Lamp Supply Voltage (w/o T79)

A

D-BU

1473

Right Park Lamp Supply Voltage (w/o T79)

BN/WH

1473

Right Park Lamp Supply Voltage (w/T79)

BN/WH

1473

Right Park Lamp Supply Voltage (w/T79)

B

WH

17

Stop Lamp Supply Voltage (w/o T79)

B

WH

17

Stop Lamp Supply Voltage (w/o T79)

--

--

Not Used (w/T79)

--

--

Not Used (w/T79)

C

D-BU/WH

1315

Right Turn Signal Indicator Lamp Supply Voltage

C

L-BU/WH

1315

Right Turn Signal Indicator Lamp Supply Voltage

D

BK

1050

Ground

D

BK

1050

Ground

E

--

--

Not Used

E

--

--

Not Used

F

BN/WH

309

Right Park Lamp Supply Voltage (w/o T79)

F

PU

309

Right Park Lamp Supply Voltage (w/o T79)

--

--

Not Used (w/T79)

--

--

Not Used (w/T79)

G

WH

17

Stop Lamp Supply Voltage (w/T79)

G

WH/BK

17

Stop Lamp Supply Voltage (w/T79)

H

BN/WH

309

Right Park Lamp Supply Voltage

H

OG

1473

Right Park Lamp Supply Voltage

C420 Body Harness to Fuel Tank Harness


Object Number: 655815  Size: CH

Object Number: 655819  Size: CH

Connector Part Information

  • OEM: 15326660
  • Service: 88986262
  • Description: 10-Way F 280 GT Series Sealed 5.8 (BK)

Connector Part Information

  • OEM: 15326661
  • Service: 88986245
  • Description: 10-Way M 280 GT Series Sealed 5.8 (BK)

Terminal Part Information

  • Pins: A, B, C, D, E, F, G, J, K
  • Terminal/Tray: See Terminal Repair Kit
  • Core/Insulation Crimp: See Terminal Repair Kit
  • Release Tool/Test Probe: See Terminal Repair Kit

Terminal Part Information

  • Pins: A, B, C, D, E, F, G, J, K
  • Terminal/Tray: See Terminal Repair Kit
  • Core/Insulation Crimp: See Terminal Repair Kit
  • Release Tool/Test Probe: See Terminal Repair Kit

C420 Body Harness to Fuel Tank Harness

Pin

Wire Color

Circuit No.

Function

Pin

Wire Color

Circuit No.

Function

A

GY

120

Fuel Pump Supply Voltage

A

GY

120

Fuel Pump Supply Voltage

B

D-GN

890

Fuel Tank Pressure Sensor Signal

B

D-GN

890

Fuel Tank Pressure Sensor Signal

C

GY

596

5-Volt Reference

C

GY

2709

5-Volt Reference

D

WH

1310

EVAP Canister Vent Solenoid Control

D

WH

1310

EVAP Canister Vent Solenoid Control

E

TN

452

Low Reference

E

TN

2759

Low Reference

F

D-BU

1936

Fuel Level Sensor Signal - Primary

F

D-BU

1937

Fuel Level Sensor Signal - Primary

G

L-BU

1937

Fuel Level Sensor Signal - Secondary

G

L-BU

1936

Fuel Level Sensor Signal - Secondary

H

--

--

Not Used

H

--

--

Not Used

J

RD/WH

1540

Battery Positive Voltage

J

PK

1539

Battery Positive Voltage

K

BK

1050

Ground

K

BK

1050

Ground

C421 Body Harness to License Lamp Assembly Harness (Domestic)


Object Number: 39660  Size: CH

Object Number: 39661  Size: CH

Connector Part Information

  • OEM: 12047785
  • Service: 12102900
  • Description: 4-Way F Metri-Pack 150 Series (BK)

Connector Part Information

  • OEM: 12047786
  • Service: 12085536
  • Description: 4-Way M Metri-Pack 150 Series (BK)

Terminal Part Information

  • Pins: A, B
  • Terminal/Tray: 12064971/5
  • Core/Insulation Crimp: E/C
  • Release Tool/Test Probe: 12094429/J-35616-2A (GY)
  • Pins: C, D
  • Terminal/Tray: 12047767/2
  • Core/Insulation Crimp: E/A
  • Release Tool/Test Probe: 12094429/J-35616-2A (GY)

Terminal Part Information

  • Terminal/Tray: See Terminal Repair Kit
  • Core/Insulation Crimp: See Terminal Repair Kit
  • Release Tool/Test Probe: See Terminal Repair Kit

C421 Body Harness to License Lamp Assembly Harness (Domestic)

Pin

Wire Color

Circuit No.

Function

Pin

Wire Color

Circuit No.

Function

A

YE

32

Instrument Panel Lamp Fuse Supply Voltage 1

A

YE

32

Instrument Panel Lamp Fuse Supply Voltage 1

B

L-GN

24

Backup Lamp Supply Voltage

B

L-GN

24

Backup Lamp Supply Voltage

C

WH

17

Stop Lamp Supply Voltage

C

WH

17

Stop Lamp Supply Voltage

D

BK

850

Ground

D

BK

850

Ground

C421 Body Harness to License Lamp Assembly Harness (Export)


Object Number: 40422  Size: CH

Object Number: 40425  Size: CH

Connector Part Information

  • OEM: 12064762
  • Service: 12125665
  • Description: 6-Way F Metri-Pack 150 Series (GY)

Connector Part Information

  • OEM: 12064763
  • Service: 12101876
  • Description: 6-Way M Metri-Pack 150 Series (GY)

Terminal Part Information

  • Pins: A, B, E
  • Terminal/Tray: 12064971/5
  • Core/Insulation Crimp: E/C
  • Release Tool/Test Probe: 12094429/J-35616-2A (GY)
  • Pins: C, D
  • Terminal/Tray: 12047767/2
  • Core/Insulation Crimp: E/A
  • Release Tool/Test Probe: 12094429/J-35616-2A (GY)

Terminal Part Information

  • Pins: A, B, C, D, E
  • Terminal/Tray: See Terminal Repair Kit
  • Core/Insulation Crimp: See Terminal Repair Kit
  • Release Tool/Test Probe: See Terminal Repair Kit

C421 Body Harness to License Lamp Assembly Harness (Export)

Pin

Wire Color

Circuit No.

Function

Pin

Wire Color

Circuit No.

Function

A

YE

32

Instrument Panel Lamp Fuse Supply Voltage 1

A

YE

32

Instrument Panel Lamp Fuse Supply Voltage 1

B

L-GN

24

Backup Lamp Supply Voltage

B

L-GN

24

Backup Lamp Supply Voltage

C

WH

17

Stop Lamp Supply Voltage

C

WH

17

Stop Lamp Supply Voltage

D

BK

850

Ground

D

BK

850

Ground

E

OG

122

Rear Fog Lamp Supply Voltage

E

OG

122

Rear Fog Lamp Supply Voltage

F

--

--

Not Used

F

--

--

Not Used

C500 Body Harness to Left Front Door Harness


Object Number: 823290  Size: CH

Object Number: 1283905  Size: CH

Connector Part Information

  • OEM: 7283-6447-40
  • Service: 88956524
  • Description: 14-Way F Hybrid (GY)

Connector Part Information

  • OEM: 7282-6447-40
  • Service: 88956523
  • Description: 14-Way M Hybrid (GY)

Terminal Part Information

  • Pins: 3, 6, 8, 11, 12
  • Terminal/Tray: 7116-4100-08/9
  • Core/Insulation Crimp: E/C
  • Release Tool/Test Probe: 12094430/J-35616-2A (GY)
  • Pins: 2, 9, 10
  • Terminal/Tray: 7116-4101-08/9
  • Core/Insulation Crimp: E/A
  • Release Tool/Test Probe: 12094430/J-35616-2A (GY)
  • Pins: 1, 7
  • Terminal/Tray: 7116-4112-02/9
  • Core/Insulation Crimp: C/D
  • Release Tool/Test Probe: 12094430/J-35616-35 (VT)

Terminal Part Information

  • Pins: 9, 10, 9, 10
  • Terminal/Tray: 7114-4101-08/9
  • Core/Insulation Crimp: Pins: 9, 10 : E/A
  • Core/Insulation Crimp: Pins: 9, 10 : C/A
  • Release Tool/Test Probe: 15315247/J-35616-3 (GY)
  • Pins: 2, 3, 6, 8, 11, 12
  • Terminal/Tray: 7114-4100-08/9
  • Core/Insulation Crimp: E/C
  • Release Tool/Test Probe: 15315247/J-35616-3 (GY)
  • Pins: 1, 7
  • Terminal/Tray: 7114-4112-02/9
  • Core/Insulation Crimp: C/D
  • Release Tool/Test Probe: 12094430/J-35616-5 (PU)

C500 Body Harness to Left Front Door Harness

Pin

Wire Color

Circuit No.

Function

Pin

Wire Color

Circuit No.

Function

1

RD/WH

1040

Battery Positive Voltage

1

RD/WH

1040

Battery Positive Voltage

2

RD/WH

640

Battery Positive Voltage

2

RD/WH

640

Battery Positive Voltage

3

PU

1807

Class 2 Serial Data

3

PU

1807

Class 2 Serial Data

4-5

--

--

Not Used

4-5

--

--

Not Used

6

BK/WH

351

Ground

6

BK/WH

351

Ground

7

BK

350

Ground

7

BK

350

Ground

8

BK/WH

351

Ground

8

BK/WH

351

Ground

9

L-BU

1957

Left Front Midrange Speaker Output (-) (w/U66)

9

L-BU

1957

Left Front Midrange Speaker Output (-) (w/U66)

TN

1856

Left Front Tweeter Speaker Output (+) (w/U57)

TN

1856

Left Front Tweeter Speaker Output (+) (w/U57)

10

D-BU

1857

Left Front Midrange Speaker Output (+) (w/U66)

10

D-BU

1857

Left Front Midrange Speaker Output (+) (w/U66)

YE

1956

Left Front Tweeter Speaker Output (-) (w/U57)

YE

1956

Left Front Tweeter Speaker Output (-) (w/U57)

11

D-BU/WH

149

Courtesy Lamp Supply Voltage

11

D-BU/WH

149

Courtesy Lamp Supply Voltage

12

GY

157

Courtesy Lamp Control

12

GY

157

Courtesy Lamp Control

13-14

--

--

Not Used

13-14

--

--

Not Used

C501 Left Front Door Harness to Left Front Door Trim Harness


Object Number: 823304  Size: CH

Object Number: 889498  Size: CH

Connector Part Information

  • OEM: 7283-4848-30
  • Service: 88956522
  • Description: 12-Way F Dock and Lock (WH)

Connector Part Information

  • OEM: 7282-4848-30
  • Service: 89046692
  • Description: 12-Way M Dock and Lock (BK)

Terminal Part Information

  • Pins: 1, 2, 3, 4, 5, 6
  • Terminal/Tray: 7116-4100-08/9
  • Core/Insulation Crimp: E/C
  • Release Tool/Test Probe: 12094430/J-35616-2A (GY)

Terminal Part Information

  • Pins: 1, 2, 3, 4, 5, 6
  • Terminal/Tray: See Terminal Repair Kit
  • Core/Insulation Crimp: See Terminal Repair Kit
  • Release Tool/Test Probe: See Terminal Repair Kit

C501 Left Front Door Harness to Left Front Door Trim Harness

Pin

Wire Color

Circuit No.

Function

Pin

Wire Color

Circuit No.

Function

1

YE

1491

Backlight Lamps Control

1

YE

1491

Backlight Lamps Control

2

D-BU/WH

149

Courtesy Lamp Supply Voltage

2

D-BU/WH

149

Courtesy Lamp Supply Voltage

3

GY

157

Courtesy Lamp Control

3

GY

157

Courtesy Lamp Control

4

RD/WH

640

Battery Positive Voltage

4

RD/WH

640

Battery Positive Voltage

5

PU

1807

Class 2 Serial Data

5

PU

1807

Class 2 Serial Data

6

BK/WH

351

Ground

6

BK/WH

351

Ground

7-12

--

--

Not Used

7-12

--

--

Not Used

C600 Body Harness to Right Front Door Harness (LHD)


Object Number: 823290  Size: CH

Object Number: 1283905  Size: CH

Connector Part Information

  • OEM: 7283-6447-40
  • Service: 88956524
  • Description: 14-Way F Hybrid (GY)

Connector Part Information

  • OEM: 7282-6447-40
  • Service: 88956523
  • Description: 14-Way M Hybrid (GY)

Terminal Part Information

  • Pins: 3, 4, 10, 11
  • Terminal/Tray: 7116-4100-08/9
  • Core/Insulation Crimp: E/C
  • Release Tool/Test Probe: 12094430/J-35616-2A (GY)
  • Pins: 2, 9
  • Terminal/Tray: 7116-4101-08/9
  • Core/Insulation Crimp: E/A
  • Release Tool/Test Probe: 12094430/J-35616-2A (GY)
  • Pins: 8, 8
  • Terminal/Tray: 7116-4111-02/9
  • Core/Insulation Crimp: Pins: 8 : C/A
  • Core/Insulation Crimp: Pins: 8 : E/A
  • Release Tool/Test Probe: 12094430/J-35616-4A (PU)
  • Pins: 1, 14
  • Terminal/Tray: 7116-4112-02/9
  • Core/Insulation Crimp: C/D
  • Release Tool/Test Probe: 12094430/J-35616-35 (VT)

Terminal Part Information

  • Pins: 8, 8
  • Terminal/Tray: 7114-4111-02/9
  • Core/Insulation Crimp: Pins: 8 : E/A
  • Core/Insulation Crimp: Pins: 8 : C/A
  • Release Tool/Test Probe: 12094430/J-35616-5 (PU)
  • Pins: 9, 9
  • Terminal/Tray: 7114-4101-08/9
  • Core/Insulation Crimp: Pins: 9 : E/A
  • Core/Insulation Crimp: Pins: 9 : C/A
  • Release Tool/Test Probe: 15315247/J-35616-3 (GY)
  • Pins: 2, 3, 4, 10, 11
  • Terminal/Tray: 7114-4100-08/9
  • Core/Insulation Crimp: E/C
  • Release Tool/Test Probe: 15315247/J-35616-3 (GY)
  • Pins: 1, 14
  • Terminal/Tray: 7114-4112-02/9
  • Core/Insulation Crimp: C/D
  • Release Tool/Test Probe: 12094430/J-35616-5 (PU)

C600 Body Harness to Right Front Door Harness (LHD)

Pin

Wire Color

Circuit No.

Function

Pin

Wire Color

Circuit No.

Function

1

RD/WH

1040

Battery Positive Voltage

1

RD/WH

1040

Battery Positive Voltage

2

RD/WH

740

Battery Positive Voltage

2

RD/WH

740

Battery Positive Voltage

3

PU

1807

Class 2 Serial Data

3

PU

1807

Class 2 Serial Data

4

BK/WH

451

Ground

4

BK/WH

451

Ground

5-7

--

--

Not Used

5-7

--

--

Not Used

8

D-GN

1953

Right Front Midrange Speaker Output (-) (w/U66)

8

D-GN

1953

Right Front Midrange Speaker Output (-) (w/U66)

PU

1952

Right Front Tweeter Speaker Output (-) (w/U57)

PU

1952

Right Front Tweeter Speaker Output (-) (w/U57)

9

OG

1853

Right Front Midrange Speaker Output (+) (w/U66)

9

OG

1853

Right Front Midrange Speaker Output (+) (w/U66)

L-GN

1852

Right Front Tweeter Speaker Output (+) (w/U57)

L-GN

1852

Right Front Tweeter Speaker Output (+) (w/U57)

10

D-BU/WH

149

Courtesy Lamp Supply Voltage

10

D-BU/WH

149

Courtesy Lamp Supply Voltage

11

GY

157

Courtesy Lamp Control

11

GY

157

Courtesy Lamp Control

12-13

--

--

Not Used

12-13

--

--

Not Used

14

BK

450

Ground

14

BK

450

Ground

C600 Body Harness to Right Front Door Harness (RHD)


Object Number: 823290  Size: CH

Object Number: 1283905  Size: CH

Connector Part Information

  • OEM: 7283-6447-40
  • Service: 88956524
  • Description: 14-Way F Hybrid (GY)

Connector Part Information

  • OEM: 7282-6447-40
  • Service: 88956523
  • Description: 14-Way M Hybrid (GY)

Terminal Part Information

  • Pins: 3, 6, 8, 11, 12
  • Terminal/Tray: 7116-4100-08/9
  • Core/Insulation Crimp: E/C
  • Release Tool/Test Probe: 12094430/J-35616-2A (GY)
  • Pins: 2, 9, 10
  • Terminal/Tray: 7116-4101-08/9
  • Core/Insulation Crimp: E/A
  • Release Tool/Test Probe: 12094430/J-35616-2A (GY)
  • Pins: 1, 7
  • Terminal/Tray: 7116-4112-02/9
  • Core/Insulation Crimp: C/D
  • Release Tool/Test Probe: 12094430/J-35616-35 (VT)

Terminal Part Information

  • Pins: 9, 10, 9, 10
  • Terminal/Tray: 7114-4101-08/9
  • Core/Insulation Crimp: Pins: 9, 10 : E/A
  • Core/Insulation Crimp: Pins: 9, 10 : C/A
  • Release Tool/Test Probe: 15315247/J-35616-3 (GY)
  • Pins: 2, 3, 6, 8, 11, 12
  • Terminal/Tray: 7114-4100-08/9
  • Core/Insulation Crimp: E/C
  • Release Tool/Test Probe: 15315247/J-35616-3 (GY)
  • Pins: 1, 7
  • Terminal/Tray: 7114-4112-02/9
  • Core/Insulation Crimp: C/D
  • Release Tool/Test Probe: 12094430/J-35616-5 (PU)

C600 Body Harness to Right Front Door Harness (RHD)

Pin

Wire Color

Circuit No.

Function

Pin

Wire Color

Circuit No.

Function

1

RD/WH

1040

Battery Positive Voltage

1

RD/WH

1040

Battery Positive Voltage

2

RD/WH

640

Battery Positive Voltage

2

RD/WH

640

Battery Positive Voltage

3

PU

1807

Class 2 Serial Data

3

PU

1807

Class 2 Serial Data

4-5

--

--

Not Used

4-5

--

--

Not Used

6

BK/WH

451

Ground

6

BK/WH

451

Ground

7

BK

450

Ground

7

BK

450

Ground

8

BK/WH

451

Ground

8

BK/WH

451

Ground

9

D-GN

1953

Right Front Midrange Speaker Output (-)

9

D-GN

1953

Right Front Midrange Speaker Output (-)

PU

1952

Right Front Tweeter Speaker Output (-)

PU

1952

Right Front Tweeter Speaker Output (-)

10

OG

1853

Right Front Midrange Speaker Output (+)

10

OG

1853

Right Front Midrange Speaker Output (+)

L-GN

1852

Right Front Tweeter Speaker Output (+)

L-GN

1852

Right Front Tweeter Speaker Output (+)

11

D-BU/WH

149

Courtesy Lamp Supply Voltage

11

D-BU/WH

149

Courtesy Lamp Supply Voltage

12

GY

157

Courtesy Lamp Control

12

GY

157

Courtesy Lamp Control

13-14

--

--

Not Used

13-14

--

--

Not Used

C601 Right Front Door Harness to Right Front Door Trim Harness (LHD)


Object Number: 823304  Size: CH

Object Number: 889498  Size: CH

Connector Part Information

  • OEM: 7283-4848-30
  • Service: 88956522
  • Description: 12-Way F Dock and Lock (WH)

Connector Part Information

  • OEM: 7282-4848-30
  • Service: 89046692
  • Description: 12-Way M Dock and Lock (BK)

Terminal Part Information

  • Pins: 1, 2, 3, 4, 5, 6, 7, 8, 9
  • Terminal/Tray: 7116-4100-08/9
  • Core/Insulation Crimp: E/C
  • Release Tool/Test Probe: 12094430/J-35616-2A (GY)

Terminal Part Information

  • Pins: 1, 2, 3, 4, 5, 6, 7, 8, 9
  • Terminal/Tray: See Terminal Repair Kit
  • Core/Insulation Crimp: See Terminal Repair Kit
  • Release Tool/Test Probe: See Terminal Repair Kit

C601 Right Front Door Harness to Right Front Door Trim Harness (LHD)

Pin

Wire Color

Circuit No.

Function

Pin

Wire Color

Circuit No.

Function

1

YE

1491

Backlight Lamps Control

1

YE

1491

Backlight Lamps Control

2

OG

1189

Power Window Switch Front Passenger Down Signal

2

BN

5295

Power Window Switch Front Passenger Down Signal

3

PU

2765

Power Window Switch Front Passenger Express Signal

3

PU

2765

Power Window Switch Front Passenger Express Signal

4

D-GN

1184

Power Window Switch Front Passenger Up Signal

4

D-GN

1184

Power Window Switch Front Passenger Up Signal

5

BK/WH

451

Ground

5

BK/WH

451

Ground

6

L-BU

244

Passenger Door Lock Switch Lock Signal

6

L-BU

244

Passenger Door Lock Switch Lock Signal

7

D-BU

245

Passenger Door Lock Switch Unlock Signal

7

D-BU

245

Passenger Door Lock Switch Unlock Signal

8

D-BU/WH

149

Courtesy Lamp Supply Voltage

8

D-BU/WH

149

Courtesy Lamp Supply Voltage

9

GY

157

Courtesy Lamp Control

9

GY

157

Courtesy Lamp Control

10-12

--

--

Not Used

10-12

--

--

Not Used

C601 Left Front Door Harness to Left Front Door Trim Harness (RHD)


Object Number: 823304  Size: CH

Object Number: 889498  Size: CH

Connector Part Information

  • OEM: 7283-4848-30
  • Service: 88956522
  • Description: 12-Way F Dock and Lock (WH)

Connector Part Information

  • OEM: 7282-4848-30
  • Service: 89046692
  • Description: 12-Way M Dock and Lock (BK)

Terminal Part Information

  • Pins: 1, 2, 3, 4, 5, 6
  • Terminal/Tray: 7116-4100-08/9
  • Core/Insulation Crimp: E/C
  • Release Tool/Test Probe: 12094430/J-35616-2A (GY)

Terminal Part Information

  • Pins: 1, 2, 3, 4, 5, 6
  • Terminal/Tray: See Terminal Repair Kit
  • Core/Insulation Crimp: See Terminal Repair Kit
  • Release Tool/Test Probe: See Terminal Repair Kit

C501 Left Front Door Harness to Left Front Door Trim Harness (RHD)

Pin

Wire Color

Circuit No.

Function

Pin

Wire Color

Circuit No.

Function

1

YE

1491

Backlight Lamps Control

1

YE

1491

Backlight Lamps Control

2

D-BU/WH

149

Courtesy Lamp Supply Voltage

2

D-BU/WH

149

Courtesy Lamp Supply Voltage

3

GY

157

Courtesy Lamp Control

3

GY

157

Courtesy Lamp Control

4

RD/WH

640

Battery Positive Voltage

4

RD/WH

640

Battery Positive Voltage

5

PU

1807

Class 2 Serial Data

5

PU

1807

Class 2 Serial Data

6

BK/WH

451

Ground

6

BK/WH

451

Ground

7-12

--

--

Not Used

7-12

--

--

Not Used

C700 Body Harness to Left Rear Door Harness


Object Number: 823290  Size: CH

Object Number: 1283905  Size: CH

Connector Part Information

  • OEM: 7283-6447-40
  • Service: 88956524
  • Description: 14-Way F Hybrid (GY)

Connector Part Information

  • OEM: 7282-6447-40
  • Service: 88956523
  • Description: 14-Way M Hybrid (GY)

Terminal Part Information

  • Pins: 3
  • Terminal/Tray: 7116-4100-08/9
  • Core/Insulation Crimp: E/C
  • Release Tool/Test Probe: 12094430/J-35616-2A (GY)
  • Pins: 2, 4, 5, 6
  • Terminal/Tray: 7116-4101-08/9
  • Core/Insulation Crimp: E/A
  • Release Tool/Test Probe: 12094430/J-35616-2A (GY)
  • Pins: 1, 7
  • Terminal/Tray: 7116-4112-02/9
  • Core/Insulation Crimp: C/D
  • Release Tool/Test Probe: 12094430/J-35616-35 (VT)

Terminal Part Information

  • Pins: 2, 5, 6
  • Terminal/Tray: 7114-4101-08/9
  • Core/Insulation Crimp: E/A
  • Release Tool/Test Probe: 15315247/J-35616-3 (GY)
  • Pins: 3, 4
  • Terminal/Tray: 7114-4100-08/9
  • Core/Insulation Crimp: E/C
  • Release Tool/Test Probe: 15315247/J-35616-3 (GY)
  • Pins: 1, 7
  • Terminal/Tray: 7114-4112-02/9
  • Core/Insulation Crimp: C/D
  • Release Tool/Test Probe: 12094430/J-35616-5 (PU)

C700 Body Harness to Left Rear Door Harness

Pin

Wire Color

Circuit No.

Function

Pin

Wire Color

Circuit No.

Function

1

RD/WH

1040

Battery Positive Voltage

1

RD/WH

1040

Battery Positive Voltage

2

RD/WH

840

Battery Positive Voltage

2

RD/WH

840

Battery Positive Voltage

3

PU

1807

Class 2 Serial Data

3

PU

1807

Class 2 Serial Data

4

BK/WH

351

Ground

4

BK/WH

351

Ground

5

TN

1859

Left Rear Midrange Speaker Output (+)

5

TN

1859

Left Rear Midrange Speaker Output (+)

6

WH

1959

Left Rear Midrange Speaker Output (-)

6

WH

1959

Left Rear Midrange Speaker Output (-)

7

BK

350

Ground

7

BK

350

Ground

8-14

--

--

Not Used

8-14

--

--

Not Used

C701 Left Rear Door Harness to Left Rear Door Trim Harness


Object Number: 823304  Size: CH

Object Number: 889498  Size: CH

Connector Part Information

  • OEM: 7283-4848-30
  • Service: 88956522
  • Description: 12-Way F Dock and Lock (WH)

Connector Part Information

  • OEM: 7282-4848-30
  • Service: 89046692
  • Description: 12-Way M Dock and Lock (BK)

Terminal Part Information

  • Pins: 1, 2, 3, 4, 5
  • Terminal/Tray: 7116-4100-08/9
  • Core/Insulation Crimp: E/C
  • Release Tool/Test Probe: 12094430/J-35616-2A (GY)
  • Pins: 6, 7
  • Terminal/Tray: 7116-4101-08/9
  • Core/Insulation Crimp: E/A
  • Release Tool/Test Probe: 12094430/J-35616-2A (GY)

Terminal Part Information

  • Pins: 1, 2, 3, 4, 5, 6, 7
  • Terminal/Tray: See Terminal Repair Kit
  • Core/Insulation Crimp: See Terminal Repair Kit
  • Release Tool/Test Probe: See Terminal Repair Kit

C701 Left Rear Door Harness to Left Rear Door Trim Harness

Pin

Wire Color

Circuit No.

Function

Pin

Wire Color

Circuit No.

Function

1

YE

1491

Backlight Lamps Control

1

YE

1491

Backlight Lamps Control

2

YE

1187

Power Window Switch Left Rear Down Signal

2

YE

1187

Power Window Switch Left Rear Down Signal

3

WH

1185

Power Window Switch Left Rear Up Signal

3

WH

1185

Power Window Switch Left Rear Up Signal

4

BK/WH

351

Ground

4

BK/WH

351

Ground

5

L-GN

5048

Power Window Switch Left Rear Express Signal

5

L-GN

5048

Power Window Switch Left Rear Express Signal

6

TN

1859

Left Rear Midrange Speaker Output (+)

6

TN

1859

Left Rear Midrange Speaker Output (+)

7

WH

1959

Left Rear Midrange Speaker Output (-)

7

WH

1959

Left Rear Midrange Speaker Output (-)

8-12

--

--

Not Used

8-12

--

--

Not Used

C800 Body Harness to Right Rear Door Harness


Object Number: 823290  Size: CH

Object Number: 1283905  Size: CH

Connector Part Information

  • OEM: 7283-6447-40
  • Service: 88956524
  • Description: 14-Way F Hybrid (GY)

Connector Part Information

  • OEM: 7282-6447-40
  • Service: 88956523
  • Description: 14-Way M Hybrid (GY)

Terminal Part Information

  • Pins: 3
  • Terminal/Tray: 7116-4100-08/9
  • Core/Insulation Crimp: E/C
  • Release Tool/Test Probe: 12094430/J-35616-2A (GY)
  • Pins: 2, 4, 5, 6
  • Terminal/Tray: 7116-4101-08/9
  • Core/Insulation Crimp: E/A
  • Release Tool/Test Probe: 12094430/J-35616-2A (GY)
  • Pins: 1, 7
  • Terminal/Tray: 7116-4112-02/9
  • Core/Insulation Crimp: C/D
  • Release Tool/Test Probe: 12094430/J-35616-35 (VT)

Terminal Part Information

  • Pins: 2, 5, 6
  • Terminal/Tray: 7114-4101-08/9
  • Core/Insulation Crimp: E/A
  • Release Tool/Test Probe: 15315247/J-35616-3 (GY)
  • Pins: 3, 4
  • Terminal/Tray: 7114-4100-08/9
  • Core/Insulation Crimp: E/C
  • Release Tool/Test Probe: 15315247/J-35616-3 (GY)
  • Pins: 1, 7
  • Terminal/Tray: 7114-4112-02/9
  • Core/Insulation Crimp: C/D
  • Release Tool/Test Probe: 12094430/J-35616-5 (PU)

C800 Body Harness to Right Rear Door Harness

Pin

Wire Color

Circuit No.

Function

Pin

Wire Color

Circuit No.

Function

1

RD/WH

1040

Battery Positive Voltage

1

RD/WH

1040

Battery Positive Voltage

2

RD/WH

840

Battery Positive Voltage

2

RD/WH

840

Battery Positive Voltage

3

PU

1807

Class 2 Serial Data

3

PU

1807

Class 2 Serial Data

4

BK/WH

451

Ground

4

BK/WH

451

Ground

5

TN

1855

Right Rear Midrange Speaker Output (+)

5

TN

1855

Right Rear Midrange Speaker Output (+)

6

OG

1955

Right Rear Midrange Speaker Output (-)

6

OG

1955

Right Rear Midrange Speaker Output (-)

7

BK

450

Ground

7

BK

450

Ground

8-14

--

--

Not Used

8-14

--

--

Not Used

C801 Right Rear Door Harness to Right Rear Door Trim Harness


Object Number: 823304  Size: CH

Object Number: 889498  Size: CH

Connector Part Information

  • OEM: 7283-4848-30
  • Service: 88956522
  • Description: 12-Way F Dock and Lock (WH)

Connector Part Information

  • OEM: 7282-4848-30
  • Service: 89046692
  • Description: 12-Way M Dock and Lock (BK)

Terminal Part Information

  • Pins: 1, 2, 3, 4, 5
  • Terminal/Tray: 7116-4100-08/9
  • Core/Insulation Crimp: E/C
  • Release Tool/Test Probe: 12094430/J-35616-2A (GY)
  • Terminal/Tray: 7116-4101-08/9
  • Core/Insulation Crimp: E/A
  • Release Tool/Test Probe: 12094430/J-35616-2A (GY)

Terminal Part Information

  • Terminal/Tray: See Terminal Repair Kit
  • Core/Insulation Crimp: See Terminal Repair Kit
  • Release Tool/Test Probe: See Terminal Repair Kit

C801 Right Rear Door Harness to Right Rear Door Trim Harness

Pin

Wire Color

Circuit No.

Function

Pin

Wire Color

Circuit No.

Function

1

YE

1491

Backlight Lamps Control

1

YE

1491

Backlight Lamps Control

2

D-GN

1188

Power Window Switch Right Rear Down Signal

2

D-GN

1188

Power Window Switch Right Rear Down Signal

3

GY

1186

Power Window Switch Right Rear Up Signal

3

GY

1186

Power Window Switch Right Rear Up Signal

4

BK/WH

451

Ground

4

BK/WH

451

Ground

5

L-GN

5049

Power Window Switch Right Rear Express Signal

5

L-GN

5049

Power Window Switch Right Rear Express Signal

6

TN

1855

Right Rear Midrange Speaker Output (+)

6

TN

1855

Right Rear Midrange Speaker Output (+)

7

OG

1955

Right Rear Midrange Speaker Output (-)

7

OG

1955

Right Rear Midrange Speaker Output (-)

8-12

--

--

Not Used

8-12

--

--

Not Used