GM Service Manual Online
For 1990-2009 cars only

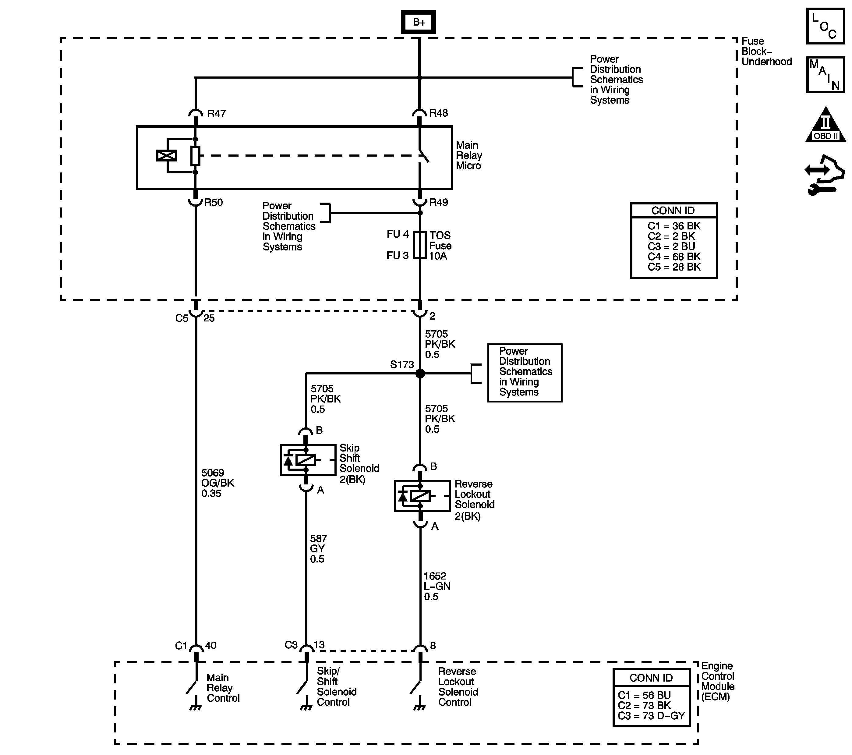
Object Number: 1577551  Size: LF
OBD II Symbol Description Notice

Circuit Description

The reverse inhibit solenoid is a safety feature which prevents an inadvertent shift into reverse at speeds above 5 km/h (3 mph). With the ignition ON, battery voltage is supplied directly to the reverse inhibit solenoid, which is also known as the reverse lockout solenoid. The engine control module (ECM) controls the solenoid by grounding the control circuit via an internal switch called a driver. The driver supplies the ground for the component being controlled. Each driver has a fault line which the ECM monitors. When the ECM commands a component ON, the voltage of the control circuit should be low, near 0 volts. When the ECM commands the control circuit to a component OFF, the voltage potential of the circuit should be high, near battery voltage. If the internal fault detection circuit senses a voltage other than what is expected, the fault line status changes, causing DTC P0801 to set. DTC P0801 is a type C DTC.

DTC Descriptor

This diagnostic procedure supports the following DTC:

DTC P0801 Reverse Inhibit Solenoid Control Circuit

Conditions for Running the DTC

    • The engine is running.
    • The vehicle speed is less than 3 km/h (2 mph).

Conditions for Setting the DTC

    • The ECM detects that the commanded state of the driver and the actual state of the control circuit do not match.
    • Condition must exist for a minimum of 5 seconds.

Action Taken When the DTC Sets

    • The ECM stores the DTC information into memory when the diagnostic runs and fails.
    • The ECM does not illuminate the malfunction indicator lamp (MIL).
    • The ECM records the operating conditions when the Conditions for Setting the DTC are met. The ECM stores this information as Failure Records.
    • The ECM stores DTC P0801 in ECM history.

Conditions for Clearing the DTC

    • A scan tool can clear the DTC.
    • The ECM clears the DTC from ECM history if the vehicle completes 40 warm-up cycles without a non-emission-related diagnostic fault occurring.
    • The ECM cancels the DTC default actions when the fault no longer exists and the DTC passes.

Diagnostic Aids

    • Remove any debris from the ECM connector surfaces before servicing the ECM. Inspect the ECM connector gaskets when diagnosing/replacing the ECM. Ensure that the gaskets are installed correctly. The gaskets prevent contaminate intrusion into the ECM.
    • For any test that requires probing the ECM or a component harness connector, use the J 35616 GM terminal test kit. Using this kit prevents damage to the harness/component terminals. Refer to Using Connector Test Adapters .
    • Low system voltage can cause this DTC to set. When reviewing captured data, verify if a low system voltage condition was present at the time the DTC was stored in memory.
    •  For an intermittent condition, refer to Testing for Intermittent Conditions and Poor Connections .

Test Description

The numbers below refer to the step numbers on the diagnostic table.

  1. Listen for an audible click when the reverse inhibit solenoid operates. Command both the ON and OFF states. Repeat the commands as necessary.

  2. This step tests for voltage at the coil side of the reverse inhibit solenoid. The PRE 02/CAM fuse supplies power to the coil side of the reverse inhibit solenoid.

  3. This step verifies that the ECM is providing ground to the reverse inhibit solenoid.

  4. This step tests if ground is constantly being applied to the reverse inhibit solenoid.

Step

Action

Yes

No

1

Did you perform the Diagnostic System Check - Vehicle?

Go to Step 2

Go to Diagnostic System Check - Vehicle

2

  1. Install a scan tool.
  2. Turn ON the ignition, with the engine OFF.
  3. Important: Before clearing the DTC, use the scan tool in order to record the Failure Records. Using the Clear Info function erases the Failure Records from the ECM.

  4. With a scan tool, command the reverse inhibit solenoid ON and OFF.

Does the reverse inhibit solenoid turn ON and OFF?

Go to Step 3

Go to Step 4

3

  1. Observe the Failure Records data for this DTC.
  2. Turn OFF the ignition for 30 seconds.
  3. Start the engine.
  4. Operate the vehicle within the Conditions for Running the DTC as specified in the supporting text.

Does the DTC reset?

Go to Step 4

Go to Testing for Intermittent Conditions and Poor Connections

4

  1. Turn OFF the ignition.
  2. Disconnect the reverse inhibit solenoid.
  3. Turn ON the ignition, with the engine OFF.
  4. Probe the ignition 1 voltage circuit of the reverse inhibit solenoid with a test lamp that is connected to ground.

Does the test lamp illuminate?

Go to Step 5

Go to Step 11

5

  1. Connect a test lamp between the control circuit of the reverse inhibit solenoid and the ignition 1 voltage circuit of the reverse inhibit solenoid.
  2. With a scan tool, command the reverse inhibit solenoid ON and OFF .

Does the test lamp turn ON and OFF?

Go to Step 9

Go to Step 6

6

Does the test lamp remain illuminated with each command?

Go to Step 8

Go to Step 7

7

Test the control circuit of the reverse inhibit solenoid for a short to voltage or an open. Refer to Circuit Testing and Wiring Repairs .

Did you find and correct the condition?

Go to Step 14

Go to Step 10

8

Test the control circuit of the reverse inhibit solenoid for a short to ground. Refer to Testing for Short to Ground and Wiring Repairs .

Did you find and correct the condition?

Go to Step 14

Go to Step 10

9

Inspect for poor connections at the reverse inhibit solenoid. Refer to Testing for Intermittent Conditions and Poor Connections and Connector Repairs .

Did you find and correct the condition?

Go to Step 14

Go to Step 12

10

Inspect for poor connections at the harness connector of the ECM. Refer to Testing for Intermittent Conditions and Poor Connections and Connector Repairs .

Did you find and correct the condition?

Go to Step 14

Go to Step 13

11

Test the ignition 1 voltage circuit of the reverse inhibit solenoid for an open or short to ground. Refer to Wiring Repairs .

Did you complete the repair?

Go to Step 14

--

12

Replace the reverse inhibit solenoid. Refer to Reverse Lockout Solenoid Replacement .

Did you find and correct the condition?

Go to Step 14

--

13

Replace the ECM. Refer to Control Module References for replacement, setup, and programming.

Did you complete the replacement?

Go to Step 14

--

14

Perform the following procedure in order to verify the repair:

  1. Select DTC.
  2. Select Clear Info.
  3. Operate the vehicle.
  4. Select Specific DTC.
  5. Enter DTC P0801.

Has the test run and passed?

Go to Step 15

Go to Step 2

15

With the scan tool, observe the stored information, capture info and DTC info.

Does the scan tool display any DTCs that you have not diagnosed?

Go to Diagnostic Trouble Code (DTC) List - Vehicle

System OK