Callout
Component Name
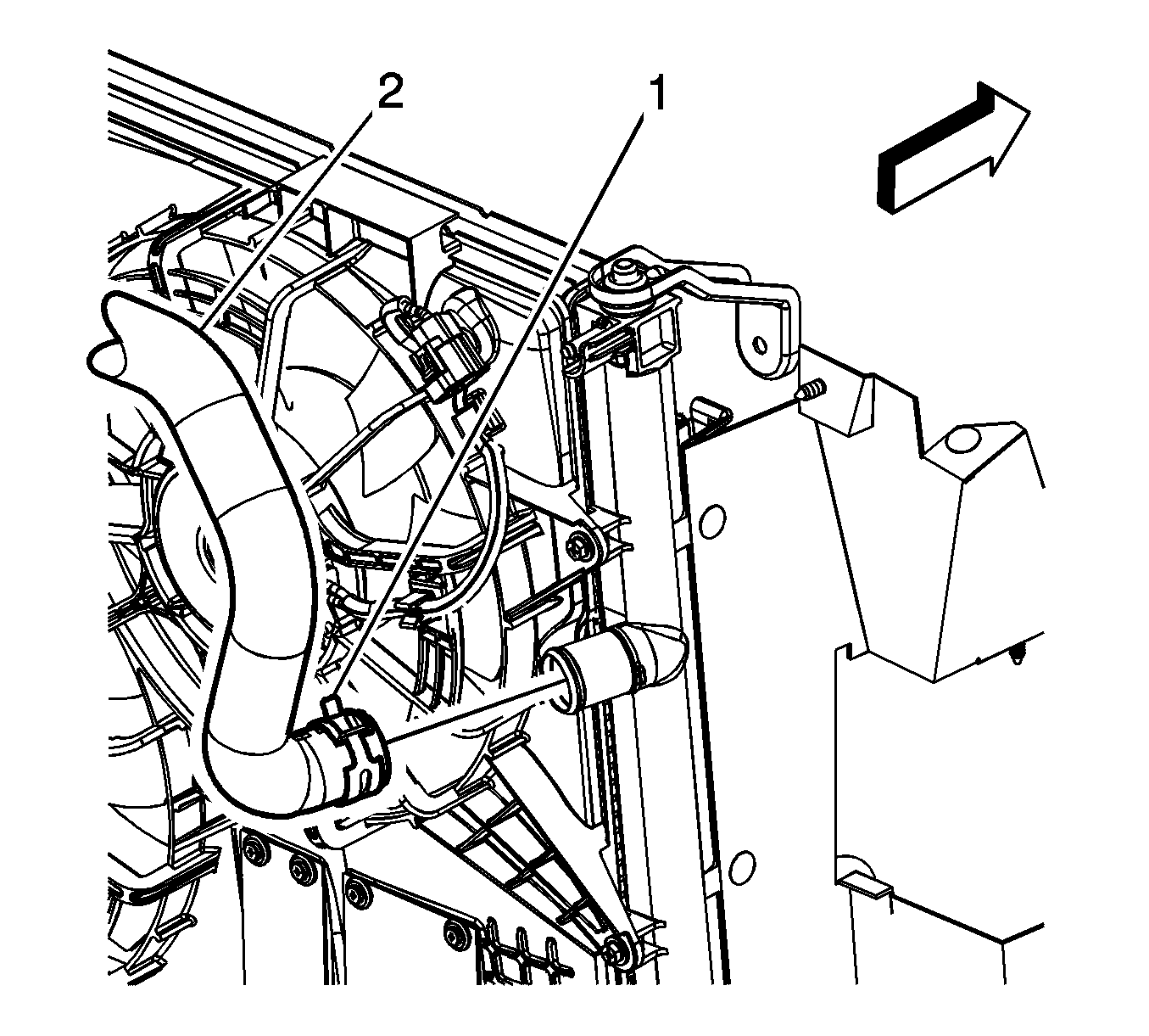
1
Radiator Inlet Hose
Using J 38185 reposition the radiator inlet hose clamps.
J 38185 Hose Clamp Pliers