GM Service Manual Online
For 1990-2009 cars only

Object Number: 2184394  Size: MF

Callout

Component Name

Preliminary Procedures

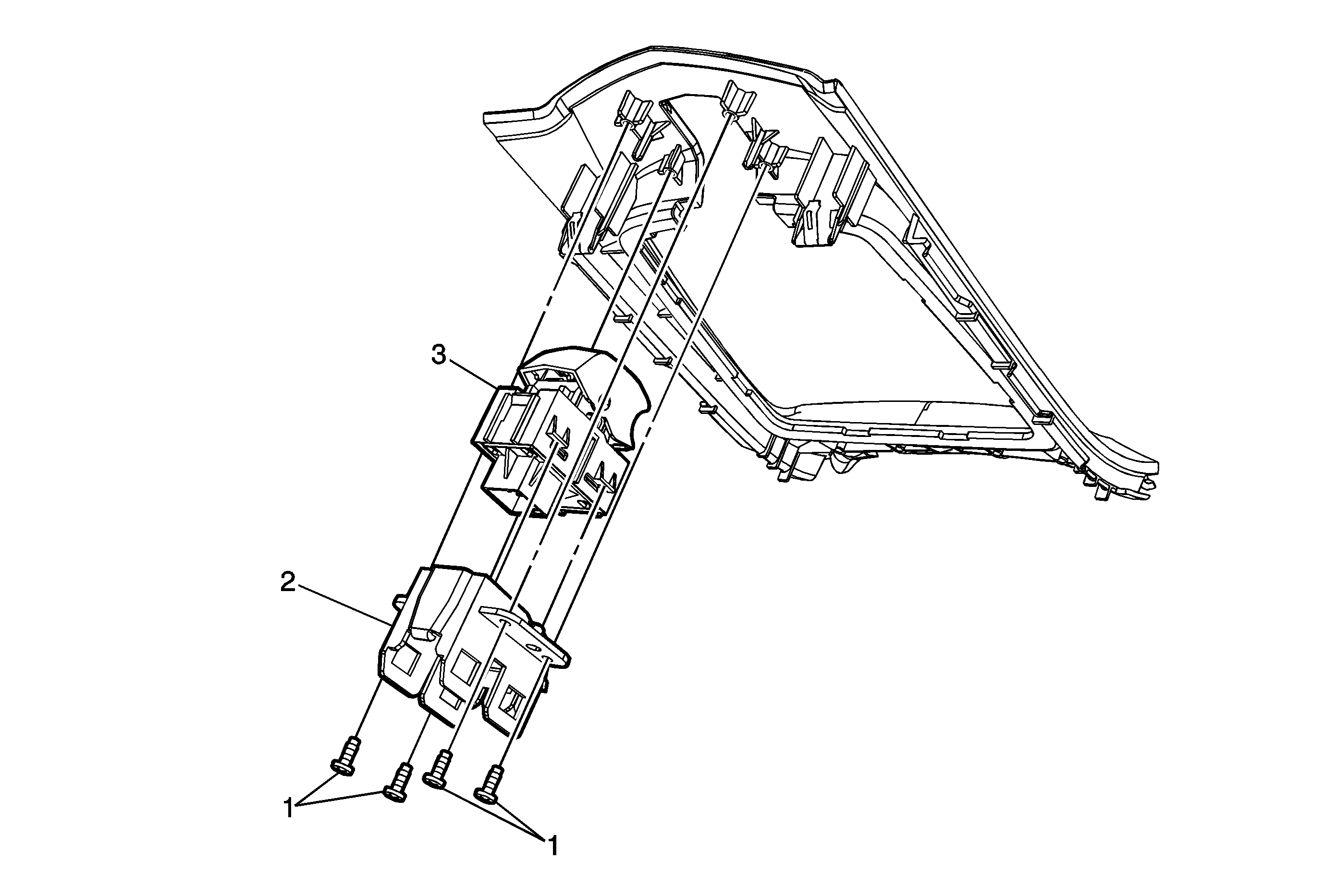
  1. Remove the front floor console transmission shift opening trim plate. Refer to Front Floor Console Transmission Shift Opening Trim Plate Replacement.
  2. Disconnect the electrical connectors.

1

Electric Park Brake (EPB) Swtich Retainer Bolts (Qty: 4)

Caution: Refer to Fastener Caution in the Preface section.

Tighten
3 N·m (27 lb in)

2

EPB Switch Retainer

3

EPB Switch