GM Service Manual Online
For 1990-2009 cars only
Makes
🢒
Cadillac
🢒
2009
🢒
CTS
🢒
Driveline/Axle
🢒
Rear Drive Axle
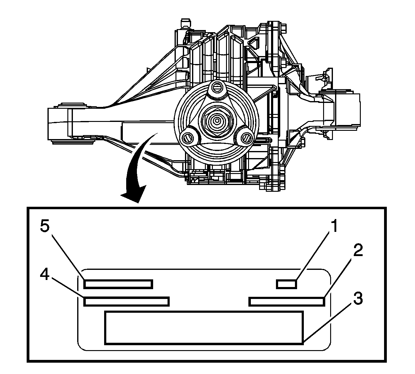
🢒 Rear Axle Identification
(1)
GM Logo
(2)
GM Part Number
(3)
Bar Code
(4)
Getrag Serial Number
(5)
Getrag Logo