GM Service Manual Online
For 1990-2009 cars only

Special Tools

    • DT 47678 Transmission Holding Flange
    • DT 47678-10 Transmission Holding Flange Adapter
    • DT 49293 Gear Select/Skip Shift Solenoid Socket
    • J 08614A Pinion Flange Holder and Remover
    • J 3289-20 Holding Fixture
    • J 36017 Valve Seal Remover
    • J 36850 Transjel® Lubricant Assembly Lube
    • J 38205-1 Press Tube
    • J 39441-20 Fifth Gear Installer Adapter
    • J 39441-30 5th/6th Driven Gear Installer
    • J 39442 Mainshaft and Countershaft Press Adapter
    • J 44395 Transmission Holding Fixture
        For equivalent regional tools, refer to Special Tools.

Shift Shaft Assemblies and Gear Clusters Installation

  1. Lubricate all components as assembly progresses, using J 36850 transjel® lubricant .

  2. Object Number: 2102224  Size: SH
  3. Install the input shaft (1) in the clutch housing.
  4. Install the 4th gear blocking assembly:
  5. 3.1. Install the 4th speed drive gear inner cone (4).
    3.2. Install the 4th speed drive gear outer cone (3).
    3.3. Install the 4th speed drive gear blocking ring (2).

    Object Number: 2102223  Size: SH

    Note: In order for the shift forks to properly line up with the synchronizers, the shift shaft assembly must be assembled correctly. Refer to Shift Shaft and Fork Assemblies Assemble.

  6. Assemble the shift shaft to the mainshaft.
  7. Install the mainshaft and the shift shaft assembly into the clutch housing.

  8. Object Number: 2102222  Size: SH
  9. Install the countershaft assembly using the following sequence:
  10. 6.1. Lift up the mainshaft assembly enough in order to install the countershaft assembly.
    6.2. Install the countershaft assembly.
    6.3. Lift the mainshaft assembly enough in order to rotate the input shaft to engage the synchronizer keys with 4th gear blocking ring.

    Object Number: 2102221  Size: SH
  11. Install the 5th/6th and the reverse shift shaft.
  12. Align the slots of the shift shaft levers with the interlock plate.

Oil Filter Installation


    Object Number: 2102300  Size: SH
  1. Attach the J 36017 remover  (1) within the groove at the base of the oil filter assembly. Slide the collar (2) of the tool down to grasp the oil filter assembly.

  2. Object Number: 2102302  Size: SH
  3. Place the oil filter assembly with J 36017 remover  (2) attached onto the clutch housing.
  4. Using the J 39442 adapter  (1), tap the oil filter assembly into place with a hammer. Remove the J 36017 remover .

Transmission Case Installation


    Object Number: 38403  Size: SH

    Note: Lubricate all components as the assembly progresses. Use J 36850 transjel® lubricant or the equivalent.

  1. Apply sealant GM P/N 12345739, (Canadian P/N 10953472) or equivalent to the transmission case to adapter plate mating surface.

  2. Object Number: 2102218  Size: SH
  3. Do the following in order to install the transmission case and the select control lever assembly:
  4. 2.1. Shift the transmission into NEUTRAL in order to keep the 3rd/4th shift shaft from engaging.
    2.2. Install the select control lever assembly (2), through the transmission case opening, while sliding the transmission case (1) onto the gear clusters and the shift rail components.
    2.3. Install the select control lever assembly pin (3).

    Object Number: 350592  Size: SH
  5. Apply threadlock GM P/N 12346004, (Canadian P/N 10953480) or equivalent to the threads of the shift lever guide bolts.
  6. Caution: Refer to Fastener Caution in the Preface section.


    Object Number: 2102304  Size: SH

    Note: In order to align the shift interlock plate slot with the shift lever guide bolt holes, pull up on the 5th/6th and reverse shift rail assembly while installing the shift lever guide bolts.

  7. Install the shift lever guide bolts while pulling up on 5th/6th and reverse shift rail assembly. Tighten the bolts to 27 N·m (20 Ib ft).

  8. Object Number: 2102214  Size: SH
  9. Install the clutch housing to transmission case bolts and tighten to 48 N·m (36 Ib ft).

  10. Object Number: 2102217  Size: SH
  11. Install the magnets into the transmission case.

  12. Object Number: 2102212  Size: SH
  13. Install the shift detent assembly and tighten to 40 N·m (30 Ib ft).

  14. Object Number: 2102211  Size: SH
  15. Using DT 49293 socket , install the gear select/skip shift solenoid and tighten to 40 N·m (30 Ib ft).

5th/6th Speed Driven Gear Installation


    Object Number: 1887546  Size: SH
  1. Install two spacers, caged needle bearing, and 6th driven gear.

  2. Object Number: 1887543  Size: SH
  3. Install the speed drive gear inner cone, speed drive gear friction cone, and synchronizer blocking ring.

  4. Object Number: 2178188  Size: SH
  5. Install the synchronizer hub assembly (2) using J 38205-1 tube  (1).

  6. Object Number: 1887538  Size: SH
  7. Install the following components:
  8. • drive gear inner cone
    • drive gear friction cone
    • synchronizer blocking ring
    • synchronizer inserts
    • synchronizer sleeve
    • 5th/6th shift fork

    Object Number: 2102305  Size: SH
  9. Install the 5th/6th speed driven gear using the J 39441-30 installer  (2) and J 39441-20 adapter  (1). The smaller outside diameter (OD) of the gear faces down.

Reverse Shift Fork Installation


    Object Number: 1887535  Size: SH
  1. Install the 5th/6th speed shift fork retainer ring.

  2. Object Number: 1887537  Size: SH
  3. Install the retainer clip to the countershaft.

  4. Object Number: 1887536  Size: SH
  5. Install the spacer to the countershaft.

  6. Object Number: 1887534  Size: SH
  7. Install the needle bearing to the countershaft.

  8. Object Number: 1887533  Size: SH
  9. Install the gear to the countershaft.

  10. Object Number: 1887531  Size: SH
  11. Install the countershaft retainer and spacer.

  12. Object Number: 2178189  Size: SH
  13. Install the countershaft gear.

  14. Object Number: 1887622  Size: SH
  15. Install the countershaft retainer ring.

  16. Object Number: 2102207  Size: SH
  17. Install the two piece thrust washer.
  18. Install the locking ring.
  19. Install the reverse shift fork and the synchronizer.

  20. Object Number: 2102206  Size: SH
  21. Install a NEW shift fork retainer ring.
  22. Install the reverse synchronizer retainer ring.

Reverse Speed Gear Installation


    Object Number: 2102205  Size: SH
  1. Install the following parts in order:
  2. 1.1. The reverse gear blocking ring assembly (5), including the following components:
            • Reverse gear inner ring (6)
            • Reverse gear outer ring (7)
            • Reverse gear blocking ring (8)
    1.2. The caged needle bearing (4)
    1.3. The reverse speed gear (3)
    1.4. The thrust washer (2)
    1.5. The retainer ring (1)

    Object Number: 2102203  Size: SH
  3. Install the following parts in order:
  4. 2.1. The spacer
    2.2. The roller bearing
    2.3. The spacer
    2.4. The roller bearing retainer ring

    Object Number: 2102202  Size: SH
  5. Install the following parts in order:
  6. • The locking ball
    • The speed sensor rotor
    • The snap ring

    Object Number: 2102200  Size: SH
  7. Install the extension housing main shaft bearing race.
  8. Install the shift shaft extension.
  9. Install NEW shift guide roll pin.

  10. Object Number: 2102199  Size: SH
  11. Lift up on the shift shaft extension while installing the shift detent roller, spring and plug. Tighten the plug to 24 N·m (18 lb in).

Extension Housing Assembly Installation


    Object Number: 38416  Size: SH
  1. Apply sealant GM P/N 12345739, (Canadian P/N 10953472) or equivalent to the extension housing to the transmission case mating surface.

  2. Object Number: 38712  Size: SH
  3. Apply thread sealer GM P/N 12346004, (Canadian P/N 10953480) or equivalent to the top 2 extension housing bolts.

  4. Object Number: 2102198  Size: SH

    Note: Align the 5th/6th shift shaft to the extension housing bore in order to install the extension housing.

  5. Install the extension housing.
  6. Install the extension housing bolts and tighten to 48 N·m (36 lb ft).

  7. Object Number: 2187742  Size: SH
  8. Install the propshaft O-ring (1).

  9. Object Number: 2187583  Size: SH
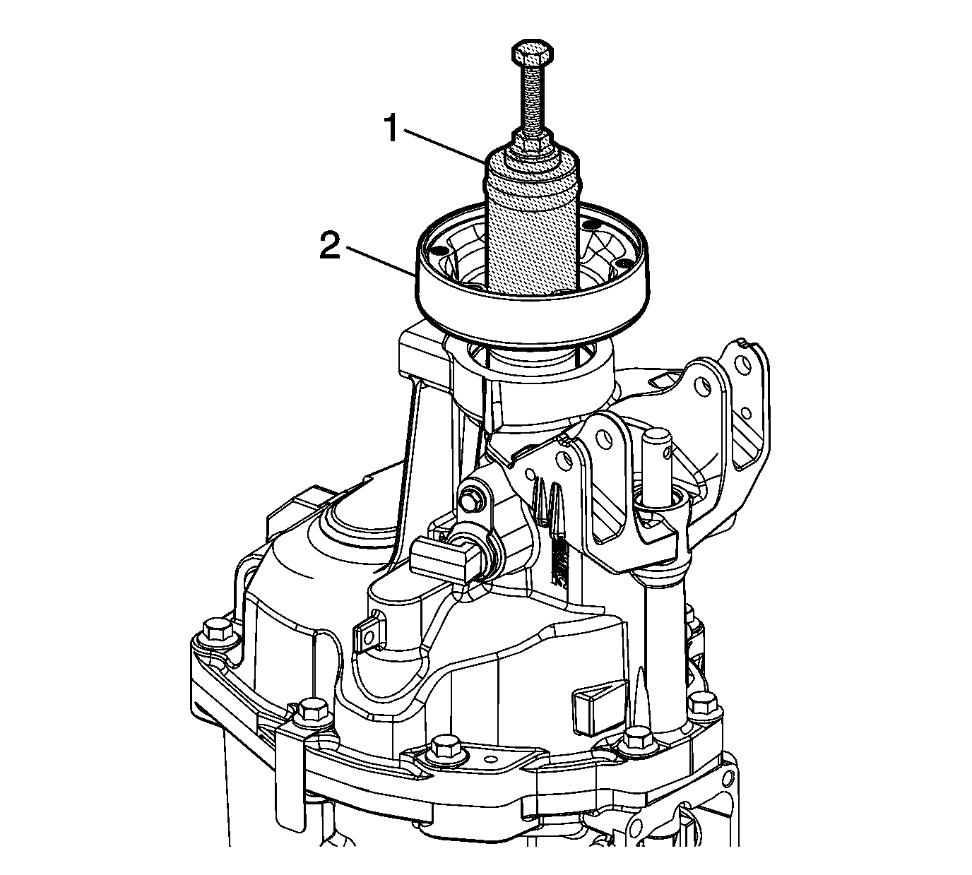
  10. Install the propshaft transmission yoke (2). Install J 39441-30 installer  (1) onto the transmission yoke. Turn the bolt to install the transmission yoke into the mainshaft.

  11. Object Number: 2187584  Size: SH
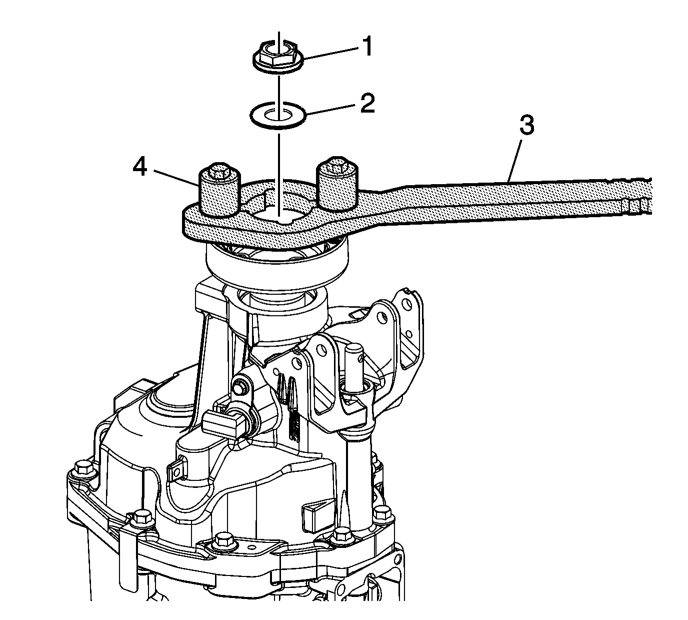
  12. Install the propshaft washer (2) and nut (1).
  13. Use the J 08614A holder  (3) and J 08614-20 bolts  (4) to hold the propshaft transmission yoke. Tighten the nut (1) to 136 N·m (100 lb ft)

  14. Object Number: 2102195  Size: SH
  15. Install the shifter cover plate.
  16. Install the shifter cover plate bolts and tighten to 20 N·m (15 lb ft).

  17. Object Number: 2102194  Size: SH
  18. Remove the DT 47678 flange  (2) and DT 47678-10 adapter .
  19. Remove the DT 47678 flange and DT 47678-10 adapter from J 3289-20 fixture  (1).