GM Service Manual Online
For 1990-2009 cars only

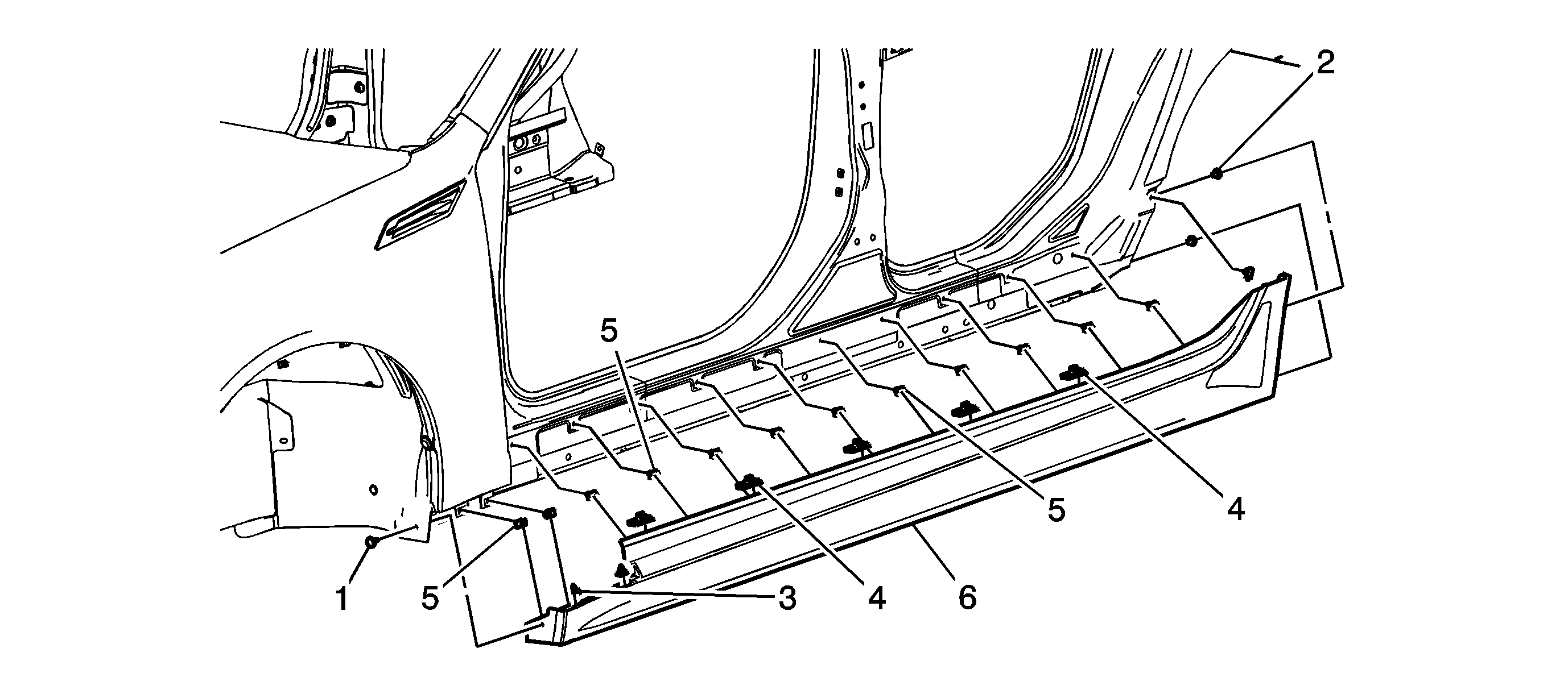
Rocker Panel Molding Replacement CTS


Object Number: 1970522  Size: MF

Callout

Component Name

Preliminary Procedure

  1. The CTS lower rocker panels are a paint to match replacement part. Prior to servicing the lower rocker panels refer to the following information:
  2. • How to Identify Plastic Parts. Refer to How to Identify Plastic Parts.
    • Plastic Identification and Refinishing Systems. Refer to Plastic Identification and Refinishing Systems.
  3. Open both doors on one side in order to remove the lower rocker molding.
  4. Raise and support the vehicle. Refer to Lifting and Jacking the Vehicle.
  5. Remove the mud guards, (if equipped).

1

Front Wheelhouse Liner Retainer

2

Rear Wheelhouse Retainer (Qty: 3)

3

Rocker Panel Lower Retainer (Qty: 5)

Tip
Disengage the lower retainers prior to releasing the upper flange retainers.

4

Lower Fender Retainer

5

Rear Front Wheelhouse Retainer

6

Rocker Flange Retainer (Qty: 10)

Tip
Release the ten retainers and remove the rocker panel molding from the lower rocker panel flange.

7

Rocker Panel Molding

Rocker Panel Molding Replacement CTS-V


Object Number: 2150387  Size: SF

Callout

Component Name

Preliminary Procedure

  1. The CTS-V lower rocker panels are a paint to match replacement part. Prior to servicing the lower rocker panels refer to the following information:
  2. • How to Identify Plastic Parts. Refer to How to Identify Plastic Parts.
    • Plastic Identification and Refinishing Systems. Refer to Plastic Identification and Refinishing Systems.
  3. Open both doors on one side in order to remove the lower rocker molding.
  4. Raise and support the vehicle. Refer to Lifting and Jacking the Vehicle.
  5. Remove the mud guards, (if equipped).

1

Front Wheelhouse Liner Retainer

2

Rear Wheelhouse Retainer (Qty: 2)

3

Front Fender Lower Flange Retainer (Qty: 2)

Tip
Disengage the lower retainers prior to releasing the upper flange retainers.

4

Lower Rocker Panel Retainer (Qty: 5)

Tip
Use a trim type release tool in order to separate the retainers from the lower bodyside outer frame.

5

Upper Rocker Panel Retainer (Qty: 13)

Tip
Use a trim type release tool in order to separate the retainers from the upper bodyside outer frame.

6

Rocker Panel Molding Assembly

Tip
Replace any damaged or broken retainer clips as needed.