GM Service Manual Online
For 1990-2009 cars only

Removal Procedure

  1. Remove the headliner. Refer to Headlining Trim Panel Replacement.

  2. Object Number: 2193061  Size: SH

    Caution: Use care when removing the cardboard roof insulator. Excessive pressure can cause dents in the roof panel.

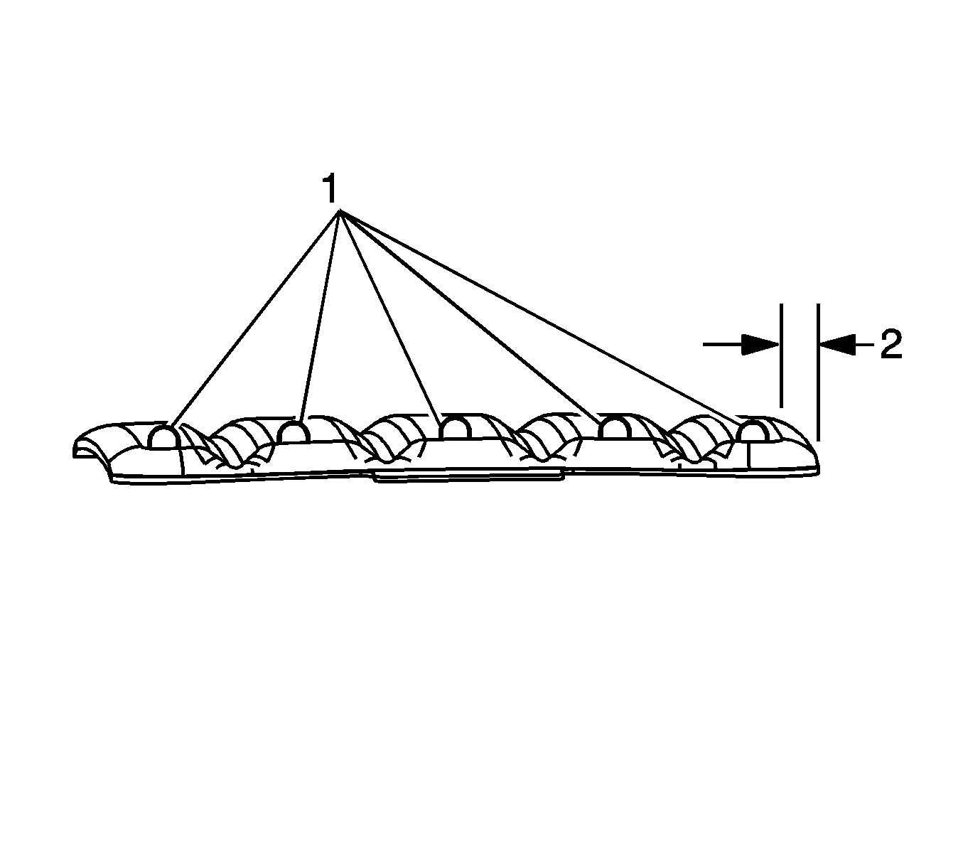
  3. Starting in one corner of the cardboard, pulling downward, cut the adhesive beads (1) using a sharp putty knife or equivalent.
  4. Note: It is not necessary to remove all of the old adhesive from the roof panel.

  5. Cut off the majority of the loose adhesive beads.
  6. Remove the cardboard roof insulator.

Installation Procedure

    Note: Installation of a new cardboard roof insulator is necessary to ensure the acoustical integrity of the roof system. Use adhesive GM P/N 12378192.


    Object Number: 107685  Size: SH
  1. Apply 6 mm (1/4 in) to 11 mm (1/2 in) high (2) beads of adhesive 15 mm (5/8 in) wide (1).

  2. Object Number: 2193451  Size: SH
  3. Apply the adhesive in the locations marked on the cardboard insulator (1).
  4. Note: The cardboard roof insulator must be installed within five minutes of adhesive application.

  5. Place the cardboard roof insulator to the inner roof panel.
  6. Note: Gluing the headliner to the cardboard roof insulator during installation is not required.

  7. Install the headliner. Refer to Headlining Trim Panel Replacement for non sunroof only.