GM Service Manual Online
For 1990-2009 cars only

Object Number: 2022688  Size: MF

Callout

Component Name

Preliminary Procedure

Remove the instrument compartment assembly. Refer to Instrument Panel Compartment Replacement.

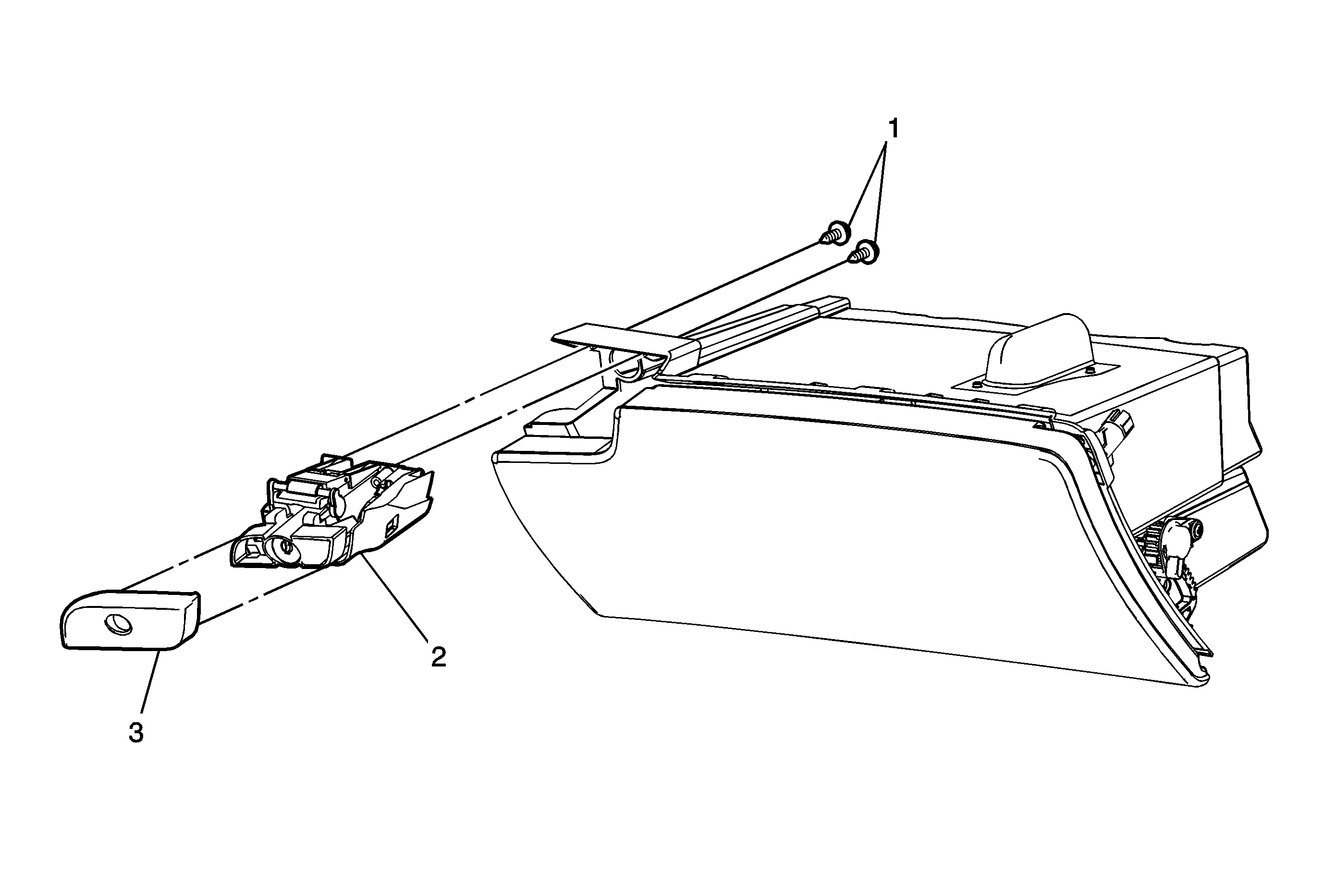
1

Instrument Panel Compartment Door Latch Screw (Qty: 2)

Caution: Refer to Fastener Caution in the Preface section.

Tighten
2.5 N·m (22 lb in)

2

Instrument Panel Compartment Door Latch Assembly

3

Instrument Panel Compartment Door Latch Trim

Procedure

Unsnap the instrument panel compartment door latch trim from the latch assembly.