GM Service Manual Online
For 1990-2009 cars only

Power Steering Cooler Pipe/Hose Replacement V6 Left Hand Drive

Removal Procedure

  1. Remove the fuel injector sight shield. Refer to Fuel Injector Sight Shield Replacement.
  2. Remove as much power steering fluid from the remote power steering fluid reservoir as possible.
  3. Remove the front air deflector. Refer to Front Air Deflector Replacement.
  4. Remove the front compartment lower noise shield. Refer to Front Compartment Lower Noise Shield Replacement.
  5. Place drain pans under the vehicle as needed.

  6. Object Number: 2030445  Size: SH
  7. Separate the power steering reservoir inlet hose (1) and power steering gear outlet hose (1) from the power steering cooler hose.

  8. Object Number: 2030444  Size: SH
  9. Remove the power steering fluid cooler bracket bolt (1).

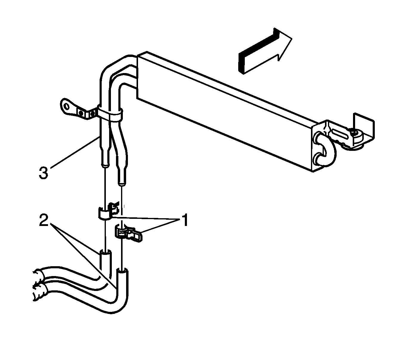
  10. Object Number: 2029078  Size: SH
  11. Disconnect the power steering cooler hose clamps (1) and hoses (2) from the power steering fluid cooler (3).
  12. Remove the power steering cooler hose from the vehicle.

Installation Procedure

  1. Position the power steering cooler hose to the vehicle.

  2. Object Number: 2029078  Size: SH
  3. Connect the power steering cooler hoses (2) and clamps (1) to the power steering fluid cooler (3).
  4. Caution: Refer to Fastener Caution in the Preface section.


    Object Number: 2030444  Size: SH
  5. Install the power steering fluid cooler bracket bolt (1) and tighten to 10 N·m (89 lb in).

  6. Object Number: 2030445  Size: SH
  7. Connect the power steering reservoir inlet hose (1) and power steering gear outlet hose (1) to the power steering cooler hose.
  8. Clean any excess fluid from the vehicle and remove the drain pans.
  9. Install the front compartment lower noise shield. Refer to Front Compartment Lower Noise Shield Replacement.
  10. Install the front air deflector. Refer to Front Air Deflector Replacement.
  11. Fill and bleed the power steering system. Refer to Power Steering System Bleeding.
  12. Install the fuel injector sight shield. Refer to Fuel Injector Sight Shield Replacement.

Power Steering Cooler Pipe/Hose Replacement Right Hand Drive

Removal Procedure

  1. Remove the fuel injector sight shield. Refer to Fuel Injector Sight Shield Replacement.
  2. Remove as much power steering fluid from the remote power steering fluid reservoir as possible.
  3. Remove the front air deflector. Refer to Front Air Deflector Replacement.
  4. Remove the front compartment lower noise shield. Refer to Front Compartment Lower Noise Shield Replacement.
  5. Place drain pans under the vehicle as needed.

  6. Object Number: 2099154  Size: SH
  7. Remove the power steering cooler hose (1) from the remote power steering fluid reservoir.

  8. Object Number: 2099153  Size: SH
  9. Separate the power steering gear outlet hose (1) from the power steering cooler hose.

  10. Object Number: 2030444  Size: SH
  11. Remove the power steering fluid cooler bracket bolt (1).

  12. Object Number: 2029078  Size: SH
  13. Disconnect the power steering cooler hose clamps (1) and hoses (2) from the power steering fluid cooler (3).
  14. Remove the power steering cooler hose from the vehicle.

Installation Procedure

  1. Position the power steering cooler hose to the vehicle.

  2. Object Number: 2029078  Size: SH
  3. Connect the power steering cooler hoses (2) and clamps (1) to the power steering fluid cooler (3).
  4. Caution: Refer to Fastener Caution in the Preface section.


    Object Number: 2030444  Size: SH
  5. Install the power steering fluid cooler bracket bolt (1) and tighten to 10 N·m (89 lb in).

  6. Object Number: 2099153  Size: SH
  7. Connect the power steering reservoir inlet hose (1) and power steering gear outlet hose (1) to the power steering cooler hose.

  8. Object Number: 2099154  Size: SH
  9. Install the power steering cooler hose (1) to the remote power steering fluid reservoir.
  10. Clean any excess fluid from the vehicle and remove the drain pans.
  11. Install the front compartment lower noise shield. Refer to Front Compartment Lower Noise Shield Replacement.
  12. Install the front air deflector. Refer to Front Air Deflector Replacement.
  13. Fill and bleed the power steering system. Refer to Power Steering System Bleeding.
  14. Install the fuel injector sight shield. Refer to Fuel Injector Sight Shield Replacement.