GM Service Manual Online
For 1990-2009 cars only
Figure 1:

Front Seats


Object Number: 1992914  Size: LF
(1)Passenger Seat
(2)Seat Belt Pretensioner/Seat Belt Switch - Driver
(3)Driver Seat
(4)Seat Belt Pretensioner/Seat Belt Switch - Passenger
(5)Seat Lumbar Horizontal Motor - Passenger (AL2)
(6)Seat Recline Motor - Passenger (AH8)
(7)Seat Lumbar Horizontal Motor - Driver (AL2)
(8)Seat Recline Motor - Driver
(9)Seat Lumbar Adjuster Switch - Driver (AL2)
(10)Seat Adjuster Switch - Driver
(11)Seat Rear Vertical Motor - Driver
(12)Memory Seat Module (MSM) (A45)
(13)Accent Lamp - Driver Seat (TSQ)
(14)Seat Front Vertical Motor - Driver
(15)Seat Horizontal Motor - Driver
(16)Seat Front Vertical Motor - Passenger (AH8)
(17)Accent Lamp - Passenger Seat (TSQ)
(18)Seat Horizontal Motor - Passenger (AH8/AL2)
(19)Seat Rear Vertical Motor - Passenger (AH8)
Figure 2:

Top of Front Windshield


Object Number: 1992907  Size: LF
(1)Navigation and Traffic Data Antenna (U2X)
(2)Inside Rearview Mirror (ISRVM)
(3)Accent Lamp - Overhead Console (TSQ)
Figure 3:

Headliner (CF5/-CF5)


Object Number: 1992911  Size: LF
(1)Courtesy/Reading Lamp - Left Rear
(2)Rear Parking Assist (RPA) Display (UD7)
(3)Courtesy/Reading Lamp - Right Rear
(4)Courtesy/Reading Lamp - Left Front
(5)Sunroof Shade Switch (C3U)
(6)Garage Door Opener (GDO) (UG1)
(7)Courtesy/Reading Lamp - Right Front
(8)Sunshade - Right
(9)Vanity Lamps - Right Front
(10)Sunroof Switch (C3U)
(11)Noise Compensation Microphone (UQS)
(12)Cellular/Navigation Microphone (UE1/WXS)
(13)Vanity Lamps - Left Front
(14)Sunshade - Left
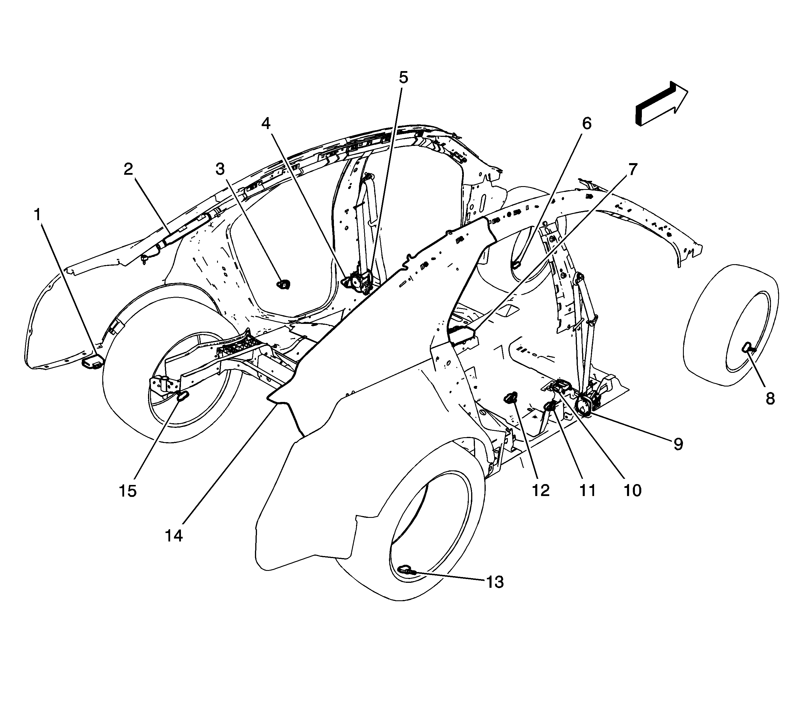
Figure 4:

Safety and Security Components


Object Number: 1993458  Size: LF
(1)Tire Pressure Module (UH3)
(2)Inflatable Restraint Roof Rail Module - Driver
(3)Inflatable Restraint Side Impact Sensor (SIS) - Left Rear
(4)Inflatable Restraint Side Impact Sensor (SIS) - Left Front
(5)Seat Belt Pretensioner - Driver
(6)Tire Pressure Sensor - Left Front
(7)Inflatable Restraint Sensing and Diagnostic Module (SDM)
(8)Tire Pressure Sensor - Right Front
(9)Seat Belt Pretensioner - Passenger
(10)Yaw Rate and Lateral Acceleration Sensor
(11)Inflatable Restraint Side Impact Sensor (SIS) - Right Front
(12)Inflatable Restraint Side Impact Sensor (SIS) - Right Rear
(13)Tire Pressure Sensor - Right Rear
(14)Inflatable Restraint Roof Rail Module - Passenger
(15)Tire Pressure Sensor - Left Rear
Figure 5:

Rear Shelf and Roof Antenna Components


Object Number: 1993006  Size: LF
(1)Audio Amplifier (UQA/UQS)
(2)Radio Antenna Module
(3)Rear Object Sensor Control Module (UD7)
(4)Speaker - Right Rear Compartment (UQS)
(5)Speaker - Rear Subwoofer (UQA/UQS)
(6)Data Link Resistor (UE1)
(7)Vehicle Communication Interface Module (VCIM) (UE1)
(8)Speaker - Left Rear Compartment (UQS)
(9)Electronic Compass Module
Figure 6:

Rear Window/Shelf Components - Export


Object Number: 1990609  Size: LF
(1)Television Antenna Amplifier 1 (U2X/U2Y)
(2)Television Antenna Amplifier 2 (U2X/U2Y)
(3)Television Antenna Amplifier 3 (U2X/U2Y)
(4)Television Antenna Amplifier 4 (U2X/U2Y)
(5)Television Rear Glass Antenna (U2X/U2Y)
(6)Rear Object Sensor Control Module (UD7)
(7)Speaker - Right Rear Compartment (UQS)
(8)Remote Control Door Lock Receiver (RCDLR) (UHA/UHF)
(9)Speaker - Rear Subwoofer (UQA/UQS)
(10)Data Link Resistor (UE1)
(11)Radio Antenna Module
(12)Speaker - Left Rear Compartment (UQS)
(13)Television Antenna Module (U2X/U2Y)
(14)Electronic Compass Module