GM Service Manual Online
For 1990-2009 cars only
Figure 1:

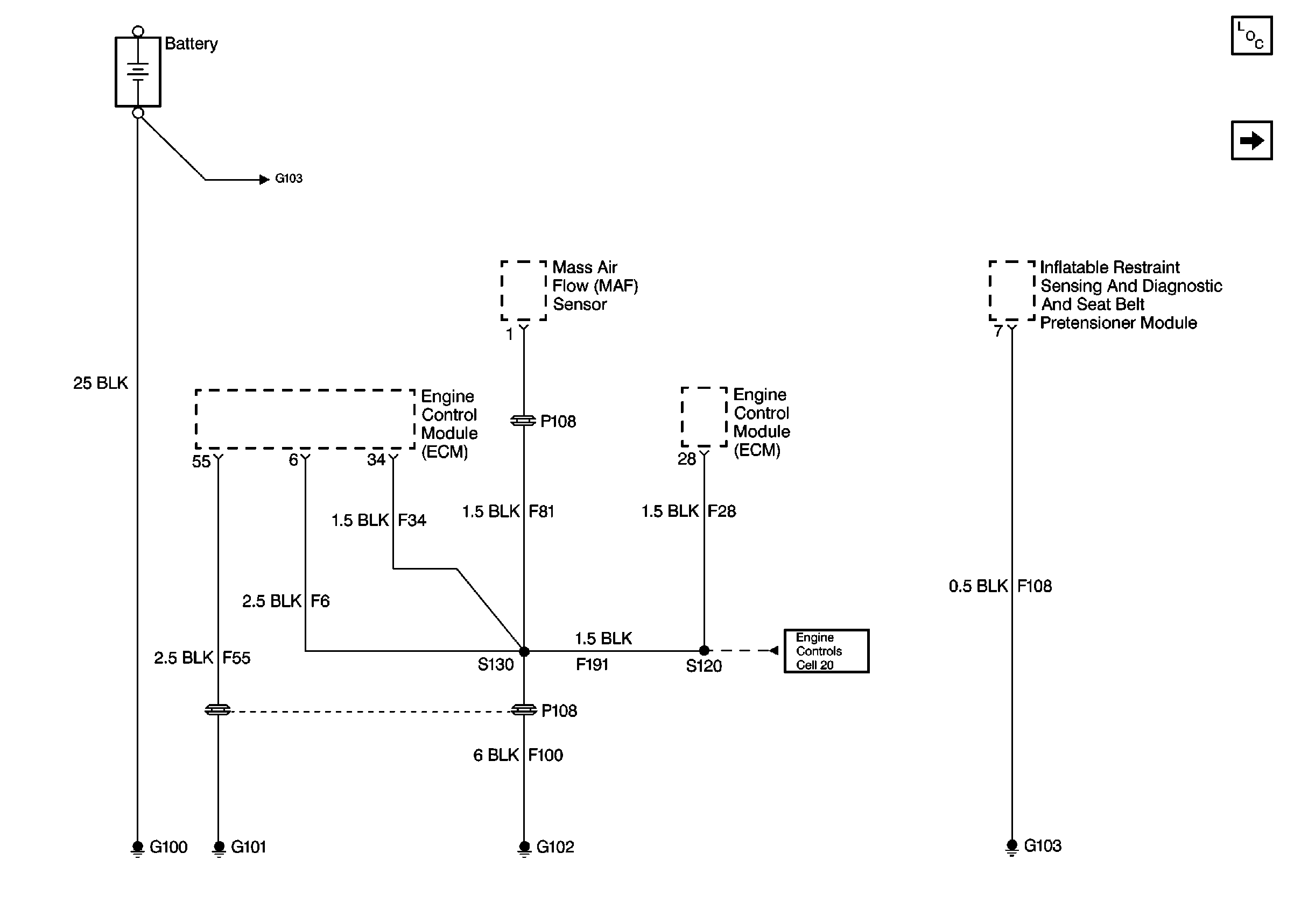
Cell 14 Battery, ECM and Mass Air Flow Sensor


Object Number: 260475  Size: FS
Power and Grounding Components
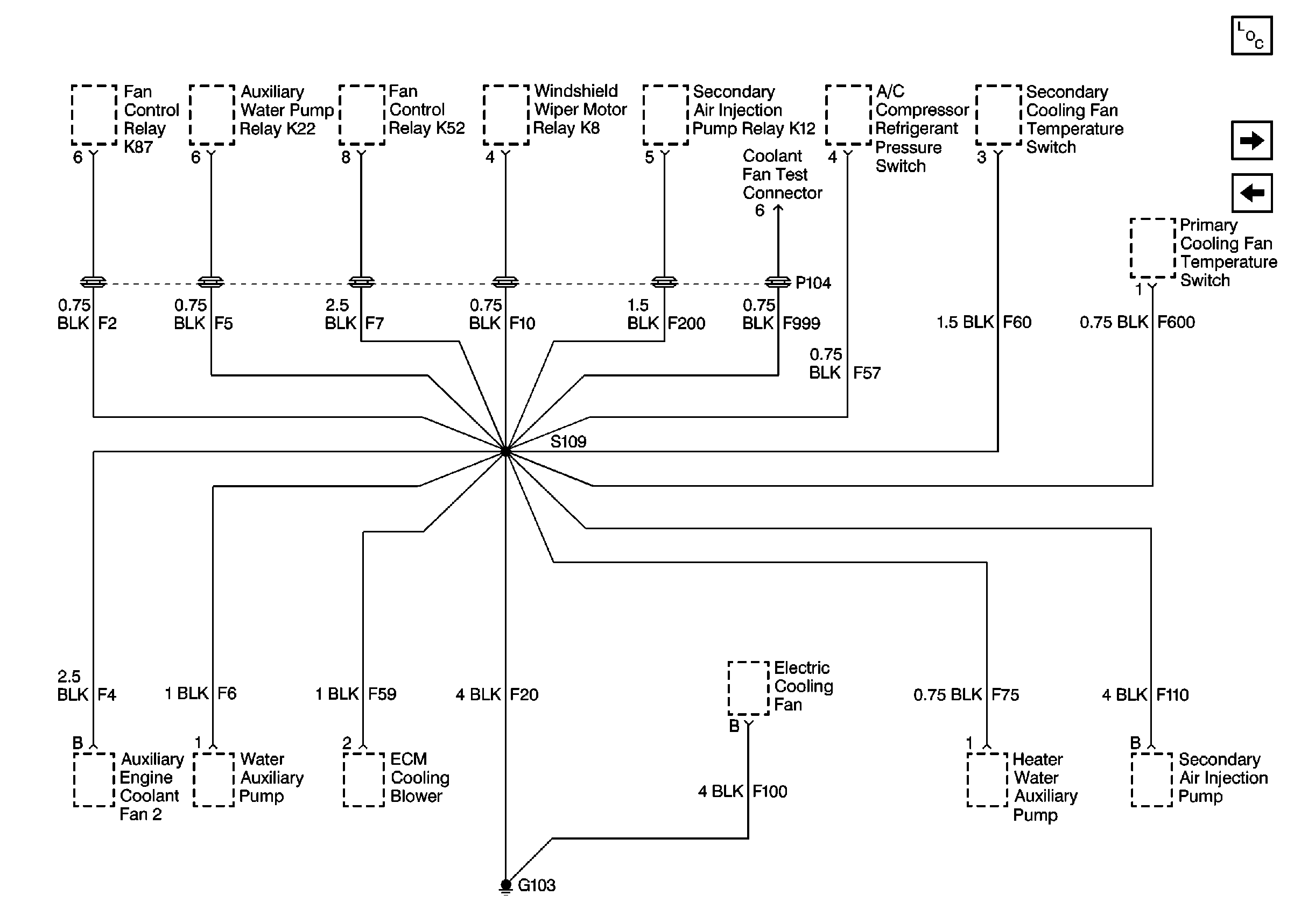
Cell 14 ECM Cooling Blower, Fan Control Relays, and Electric Cooling Fan
Engine Controls Schematics
Figure 2:

Cell 14 ECM Cooling Blower, Fan Control Relays, and Electric Cooling Fan


Object Number: 260476  Size: FS
Power and Grounding Components
Cell 14 Exterior Lamps, Inside Rear View Mirror, and ALC Sensor
Cell 14 Battery, ECM and Mass Air Flow Sensor
Figure 3:

Cell 14 Exterior Lamps, Inside Rear View Mirror, and ALC Sensor


Object Number: 260477  Size: FS
Power and Grounding Components
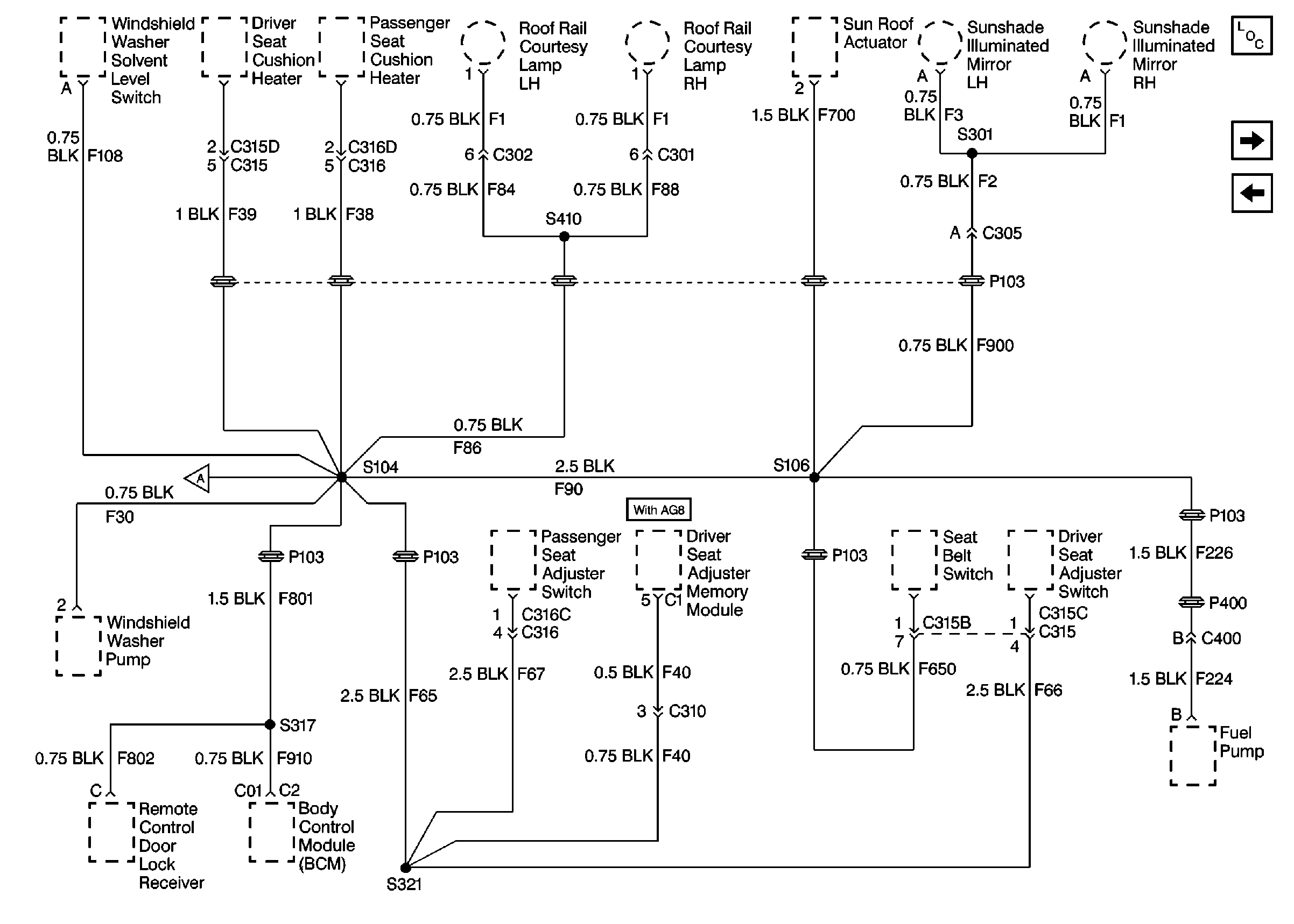
Cell 14 WSW Pump, RCDLR, BCM, and Sun Roof Actuator
Cell 14 ECM Cooling Blower, Fan Control Relays, and Electric Cooling Fan
Figure 4:

Cell 14 WSW Pump, RCDLR, BCM, and Sun Roof Actuator


Object Number: 260479  Size: FS
Power and Grounding Components
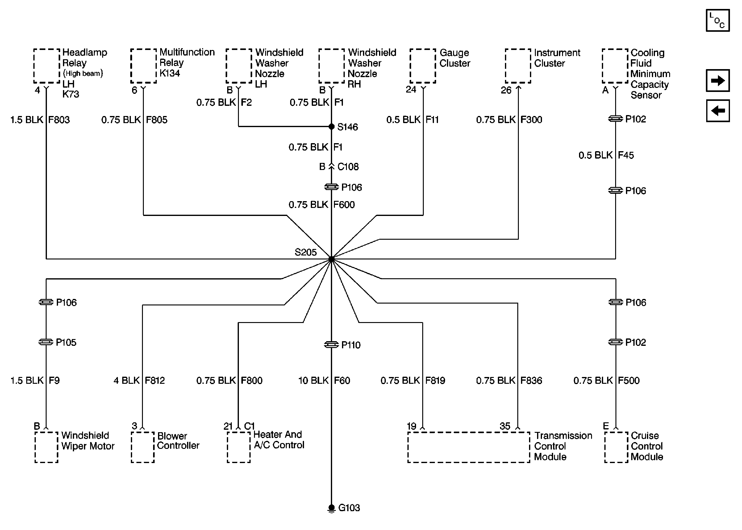
Cell 14 Blower Controller, TCM, Cruise Control Module, and Heater and A/C Control
Cell 14 Exterior Lamps, Inside Rear View Mirror, and ALC Sensor
Figure 5:

Cell 14 Blower Controller, TCM, Cruise Control Module, and Heater and A/C Control


Object Number: 260480  Size: FS
Power and Grounding Components
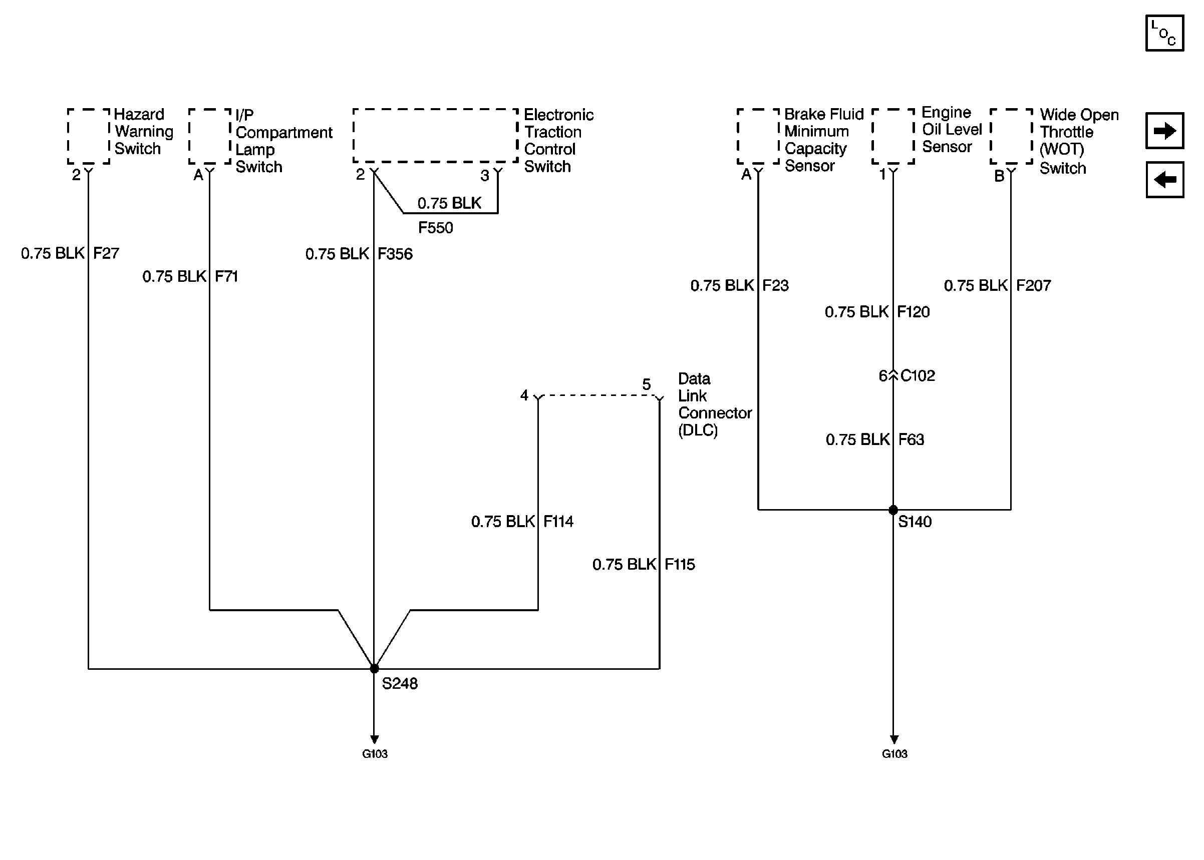
Cell 14 Hazard Warning Switch and Electronic Traction Control Switch
Cell 14 WSW Pump, RCDLR, BCM, and Sun Roof Actuator
Figure 6:

Cell 14 Hazard Warning Switch and Electronic Traction Control Switch


Object Number: 260481  Size: FS
Power and Grounding Components
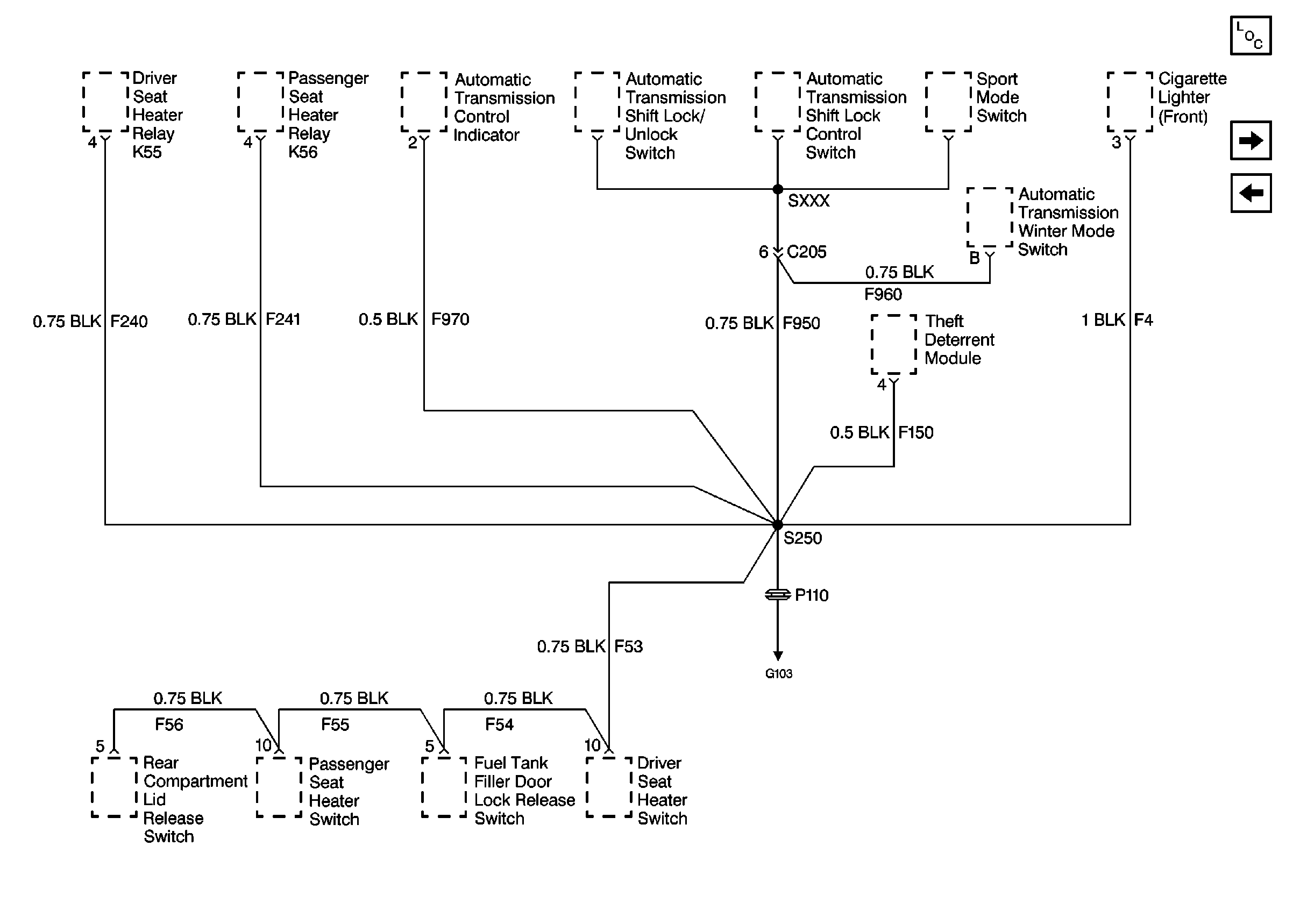
Cell 14 Automatic Transmission Control Indicator and Transmission Control Selector Switch
Cell 14 Blower Controller, TCM, Cruise Control Module, and Heater and A/C Control
Figure 7:

Cell 14 Automatic Transmission Control Indicator and Transmission Control Selector Switch


Object Number: 260482  Size: FS
Power and Grounding Components
Cell 14 Gauge and Instrument Cluster and Headlamp Switch
Cell 14 Hazard Warning Switch and Electronic Traction Control Switch
Figure 8:

Cell 14 Gauge and Instrument Cluster and Headlamp Switch


Object Number: 260483  Size: FS
Power and Grounding Components
Cell 14 Door Lock Switch and Outside Remote Control Rear View Mirror Switch
Cell 14 Automatic Transmission Control Indicator and Transmission Control Selector Switch
Figure 9:

Cell 14 Door Lock Switch and Outside Remote Control Rear View Mirror Switch


Object Number: 260486  Size: FS
Power and Grounding Components
Cell 14 Window Regulator Motors and RH Outside Rear View Mirror
Cell 14 Gauge and Instrument Cluster and Headlamp Switch
Figure 10:

Cell 14 Window Regulator Motors and RH Outside Rear View Mirror


Object Number: 260487  Size: FS
Power and Grounding Components
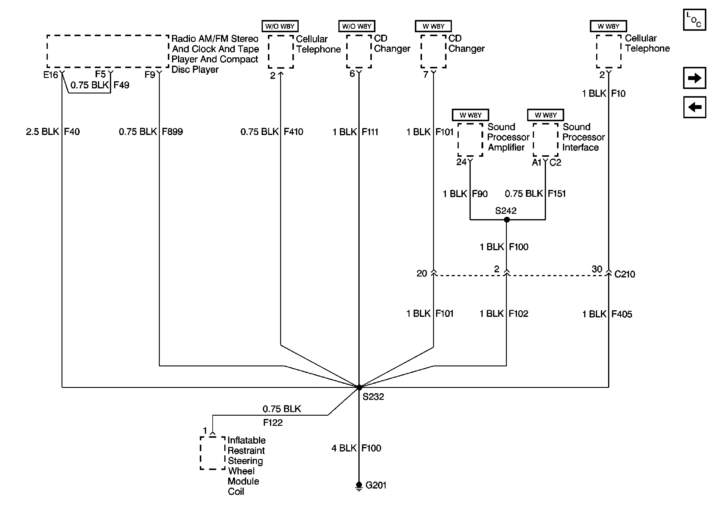
Cell 14 Radio, CD Changer, Cellular Telephone and Sound Processor Interface
Cell 14 Door Lock Switch and Outside Remote Control Rear View Mirror Switch
Figure 11:

Cell 14 Radio, CD Changer, Cellular Telephone and Sound Processor Interface


Object Number: 260489  Size: FS
Power and Grounding Components
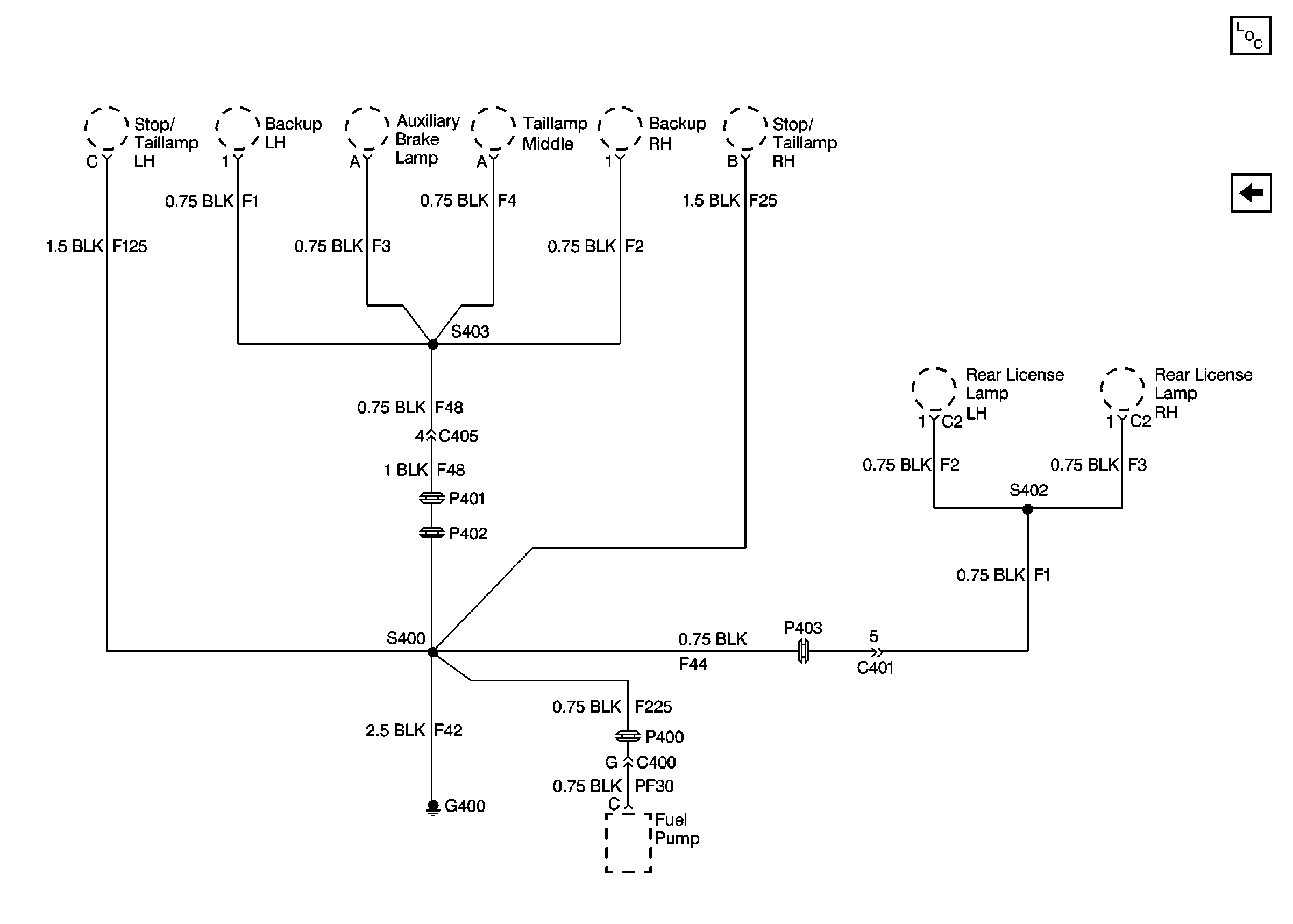
Cell 14 Rear Exterior Lamps and Fuel Pump
Cell 14 Window Regulator Motors and RH Outside Rear View Mirror
Figure 12:

Cell 14 Rear Exterior Lamps and Fuel Pump


Object Number: 260490  Size: FS
Power and Grounding Components
Cell 14 Radio, CD Changer, Cellular Telephone and Sound Processor Interface