GM Service Manual Online
For 1990-2009 cars only
Makes
🢒
Cadillac
🢒
1997
🢒
Catera
🢒
Body and Accessories
🢒
Stationary Windows
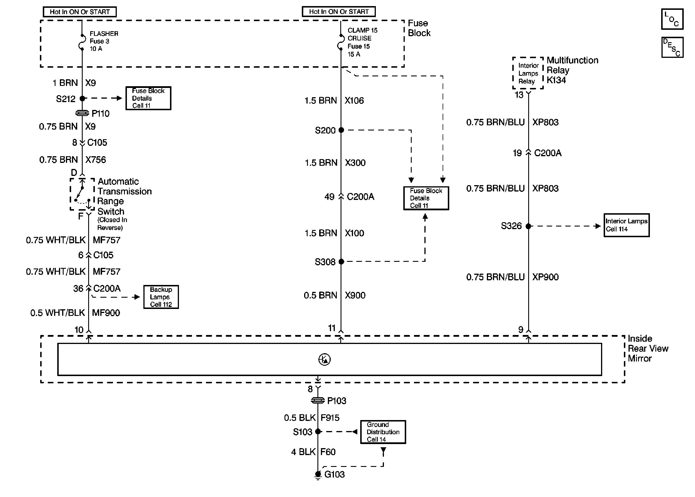
🢒 Automatic Day-Night Mirrors Schematics
Cell 148
Stationary Windows Components
Automatic Day-Night Mirrors Circuit Description
Fuse Block Schematics Schematics
Fuse Block Schematics Schematics
Ground Distribution Schematics
Backup Lamp Schematics
Interior Lights Schematics