GM Service Manual Online
For 1990-2009 cars only

Sun Roof Operation

The sunroof is powered by 12 volts, and features a glass panel with a manually operated sunshade. It is electrically operated from a potentiometer switch, that is located in the overhead console (center). The sunroof is equipped with a pinch guard for safety. Refer to Pinch Guard.

To open the sunroof, turn the ignition switch to the RUN position, then turn the sunroof rotary type switch to the rearward position. The glass panel will retract and slide rearward into the storage space between the roof panel and the headliner. As the glass retracts, the wind deflector extends above the roof line.

To close sunroof, turn the potentiometer switch in the forward position until the glass completely closes, retracting the wind deflector and sealing against the roof opening flange. If the operator turns the rotary type switch past the forward position, after the glass has completely closed. The rear of the glass panel will rise to the vent position. To close the glass, turn the rotary switch to the forward position again and the glass will lower and reseal to the roof opening. The sunroof potentiometer switch allows the sunroof be set to many positions.

Manual Sunroof Operation

In event of a power failure, the sunroof panel may be opened or closed by using the special tool (screwdriver) that has been provided in the tool kit in the rear compartment (with the jack). There is a cover on the rear of the overhead console (center), which is easily removed. This will allow manual cranking of the motor and drive gear. After each interruption of power, the motor must be reprogrammed.

Sunroof Control Switch

The sunroof is equipped with a potentiometer which allows you to select many different sunroof opening positions. The potentiometer module is non serviceable, and is made in conjunction with the motor. The scan tool is also available to diagnose and check the function of the sunroof potentiometer module. If the motor is removed it must be reprogrammed.

Reprogramming Control Functions

As optional equipment the vehicle many have a sunroof. The electrically controlled sunroof is adjustable and has a transparent glass top with a tilting feature. There is a pinch guard protector built into the system. Preselection switch (rotary knob) allows the glass panel to be adjusted to any position. If the preselection switch (rotary knob) is actuated while the glass panel is moving or if several adjustment changes are made on the preselection switch (rotary knob) immediately after one another, the glass panel obeys the last command only. If the preselection switch (rotary knob) is turned past the glass panel closed position before another position, the glass panel goes to last selected position without first closing.

When the battery is disconnected or power is lost to the programmer, these steps must be followed to reprogram the sunroof. If after programming, the sunroof opens again each time it is Closed, the reprogramming procedure must be repeated, up to three times.

    • Ignition in RUN position.
    • Place preselection switch (rotary knob) in the closed position and press in on switch for 3 seconds after glass panel closes.
    •  Place preselection switch (rotary knob) in the Vent position and press in switch and hold for seconds after glass panel reaches Vent position.
    • Place preselection switch (rotary knob) in the Full Open position and press in on switch and hold for 3 seconds after glass panel reaches Full Open position.
    • Place preselection switch (rotary knob) in the Closed position and press in on switch for 3 seconds after glass panel closes.

Pinch Guard


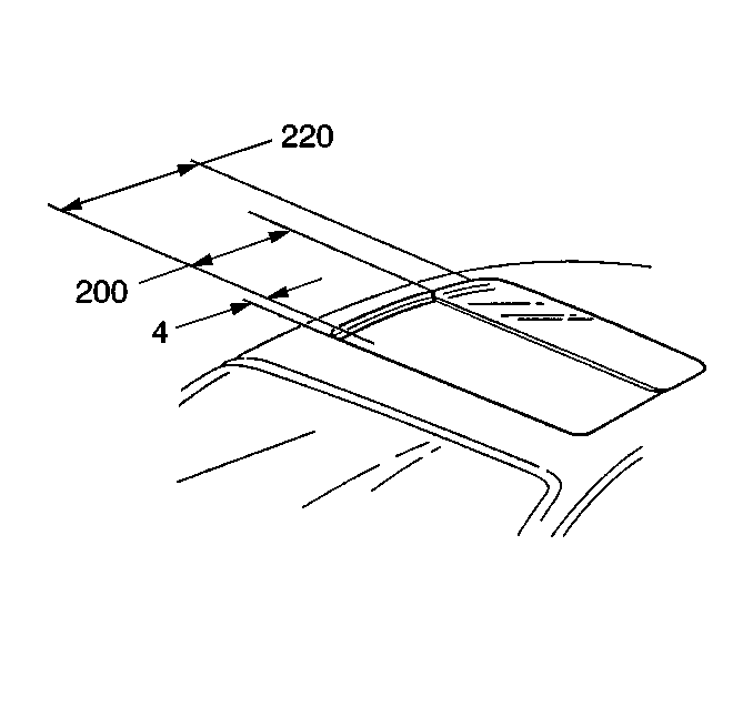
    Object Number: 168403  Size: SH
  1. Pinch guard is in a effect when the glass panel is open:
  2. • The pinch guard is effective in an opening width of 4-200 mm (0.15 in to 8 in).
    • If an obstruction is met, the glass panel returns to an opening width of 220 mm (8.5 in).

    Object Number: 168409  Size: SH
  3. Pinch guard with tilted glass panel:
  4. • The pinch guard is effective when the glass panel is tilted 4-40 mm (0.15 to 1.5 in).
    • If an obstruction is met, the glass panel returns to the glass panel fully tilted position.
    • The pinch guard can be overruled with the ignition switched to RUN position, to bring the glass panel into the closed position, by placing the (rotary knob) in the closed position and pressing knob.

Closing Function

Closing of the glass panel can be prevented before the ignition is switch to the OFF position by tapping the preselection switch (rotary knob). At the closing point, the sunroof motor operates at decreased speed.

Memory Function

If the glass panel is in a different position as was specified on the preselection switch rotary knob (e.g. if the glass panel was closed by the central door locking system), it can be moved to the desired position with the ignition switch in the RUN position by and tapping the preselection switch rotary knob.