GM Service Manual Online
For 1990-2009 cars only
Figure 1:

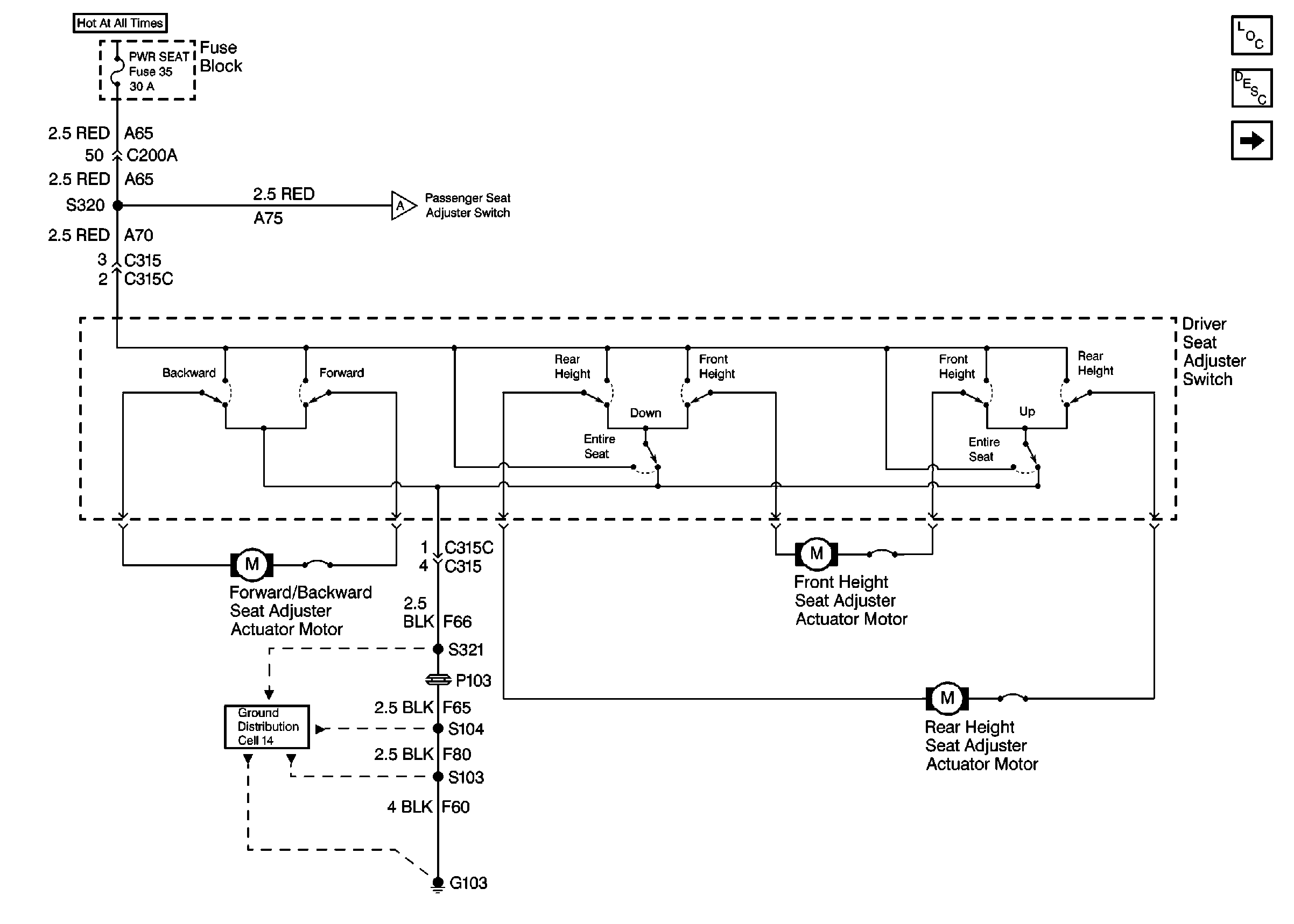
Cell 140 Driver Seat Adjuster Switch and Actuator Motors Without Memory


Object Number: 246012  Size: FS
Power Seat Systems Components
Power Seats Circuit Description
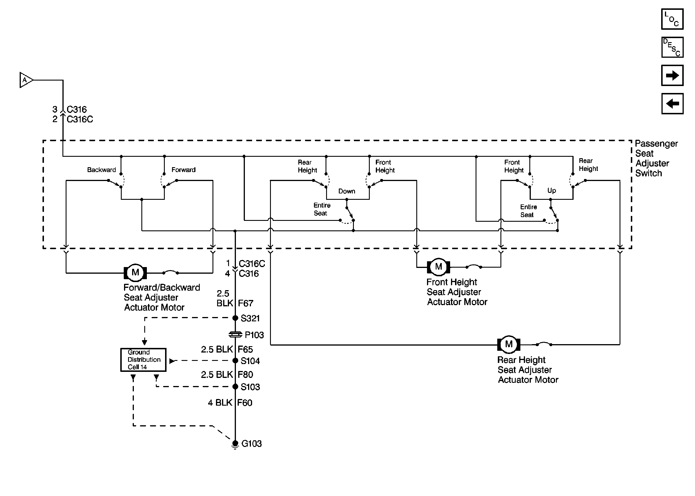
Cell 140 Passenger Seat Adjuster Switch and Actuator Motors Without Memory
Ground Distribution Schematics
Figure 2:

Cell 140 Passenger Seat Adjuster Switch and Actuator Motors Without Memory


Object Number: 246013  Size: FS
Power Seat Systems Components
Power Seats Circuit Description
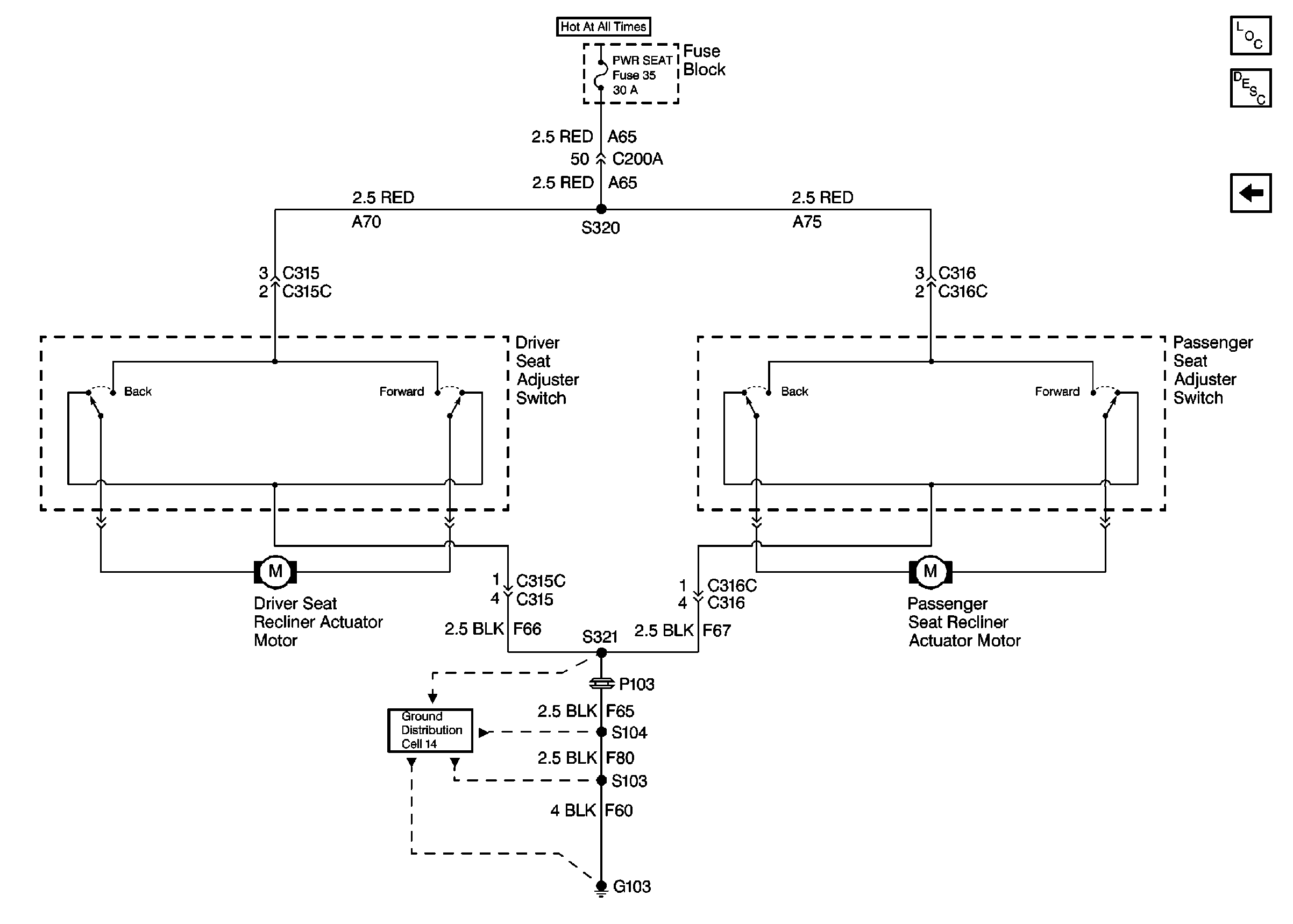
Cell 140 Driver and Passenger Seat Recliner Actuator Motors Without Memory
Cell 140 Driver Seat Adjuster Switch and Actuator Motors Without Memory
Ground Distribution Schematics
Figure 3:

Cell 140 Driver and Passenger Seat Recliner Actuator Motors Without Memory


Object Number: 246014  Size: FS
Power Seat Systems Components
Power Seats Circuit Description
Cell 140 Passenger Seat Adjuster Switch and Actuator Motors Without Memory
Ground Distribution Schematics