GM Service Manual Online
For 1990-2009 cars only
Makes
🢒
Cadillac
🢒
1997
🢒
Catera
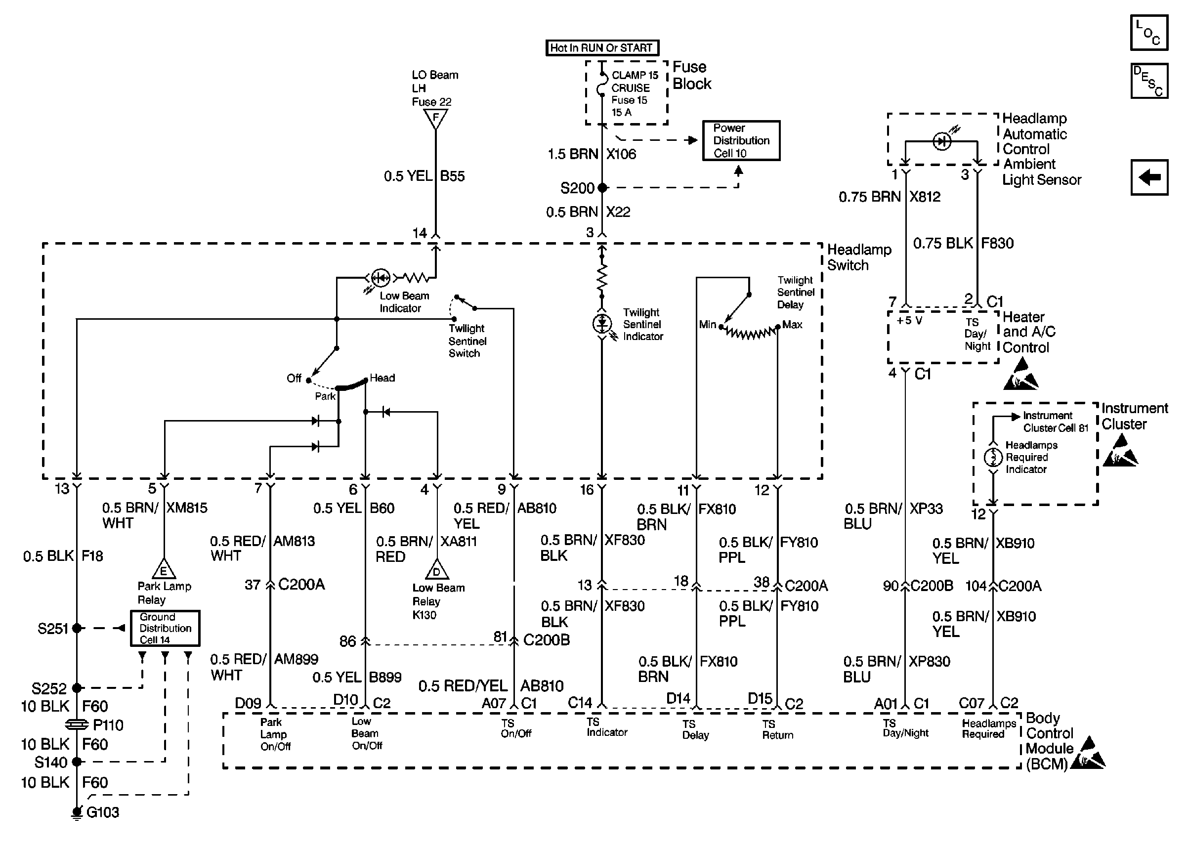
🢒 Cell 102 Headlamp Switch, BCM, Heater and A/C Control, and Instrument Cluster
Cell 102 Headlamp Switch, BCM, Heater and A/C Control, and Instrument Cluster
Cell 102 Headlamp Switch, BCM, Heater and A/C Control, and Instrument Cluster
Lighting Systems Components
Headlights/Daytime Running Lights (DRL) Circuit Description
Cell 102 Fuse Block, BCM, Headlamps, and Park/Turn Signal Lamps
Cell 102 Fuse Block, BCM, Headlamps, and Park/Turn Signal Lamps
Cell 102 Fuse Block, BCM, Headlamps, and Park/Turn Signal Lamps
Cell 102 Fuse Block, BCM, Headlamps, and Park/Turn Signal Lamps
Cell 10 Fuse Block, Cruise Control, Heater Relays, Instrument Cluster, and Headlamp Switch
Handling Electrostatic Discharge Sensitive Parts Notice
Handling Electrostatic Discharge Sensitive Parts Notice
Handling Electrostatic Discharge Sensitive Parts Notice
Ground Distribution Schematics