GM Service Manual Online
For 1990-2009 cars only
Makes
🢒
Cadillac
🢒
1997
🢒
Catera
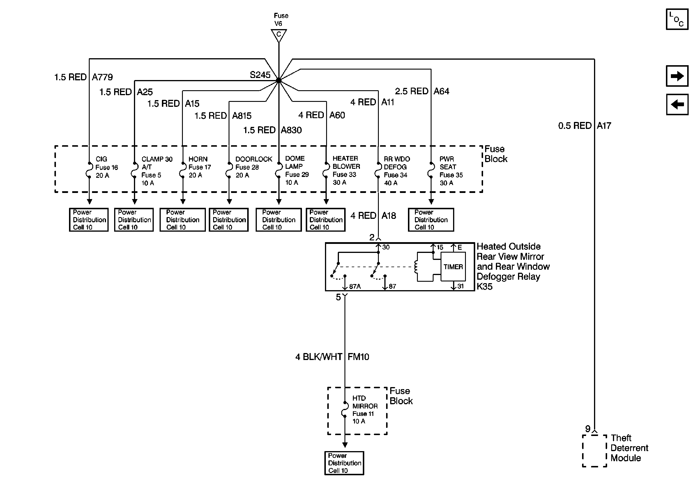
🢒 Cell 10 Fuse Block, Heated Outside Rear View Mirror and Rear Defogger Relay
Cell 10 Fuse Block, Heated Outside Rear View Mirror and Rear Defogger Relay
Cell 10 Fuse Block, Heated Outside Rear View Mirror and Rear Defogger Relay
Power and Grounding Components
Cell 10 Fuse Block, Window Regulator Motors and Automatic Transmission Switches
Cell 10 Ignition Switch and Fuse Block
Cell 10 Power Distribution Fuse Block
Cell 10 Fuse Block, Horns, Fuel Pump, EBTCM, LH Headlamp and DRL Relays
Cell 10 Fuse Block, Heater Relays, TCM, Rear Window Regulator Motors, and Rear Sunshade
Cell 10 Fuse Block, Horns, Fuel Pump, EBTCM, LH Headlamp and DRL Relays
Cell 10 Fuse Block, ALC Sensor, Door Lock Relay K135, and Multifunction Relay
Cell 10 Fuse Block, ALC Sensor, Door Lock Relay K135, and Multifunction Relay
Cell 10 Fuse Block, Turn Signal Switch, Blower Control, and A/C Compressor Relay
Cell 10 Fuse Block, Turn Signal Switch, Blower Control, and A/C Compressor Relay
Cell 10 Fuse Block, LH and RH Outside Rear View Mirro, DLC, and Gauge Cluster