GM Service Manual Online
For 1990-2009 cars only
Makes
🢒
Cadillac
🢒
1997
🢒
Catera
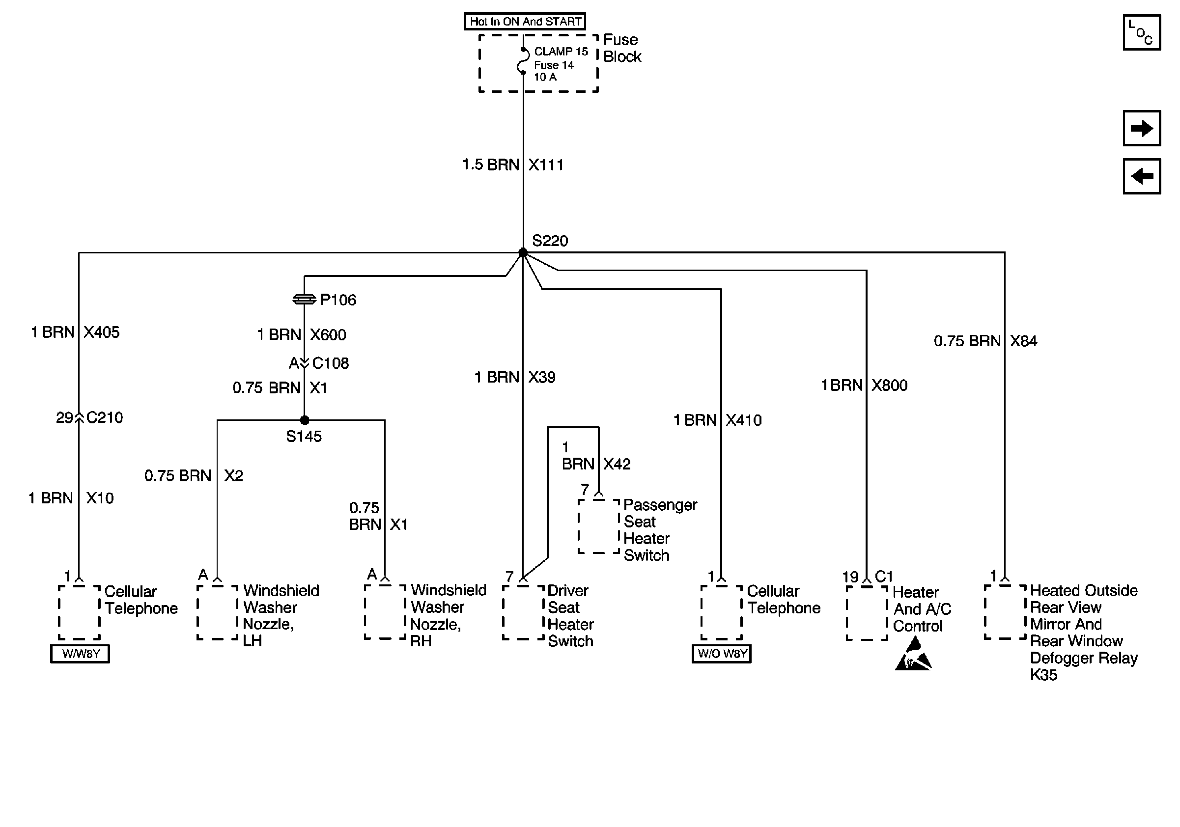
🢒 Cell 10 Fuse Block, Heater Switches, Cell Phone, WSW Nozzles, and Heater A/C control
Cell 10 Fuse Block, Heater Switches, Cell Phone, WSW Nozzles, and Heater A/C control
Cell 10 Fuse Block, Heater Switches, Cell Phone, WSW Nozzles, and Heater A/C control
Power and Grounding Components
Cell 10 Fuse Block, Cruise Control, Heater Relays, Instrument Cluster, and Headlamp Switch
Cell 10 Fuse Block, LH and RH Outside Rear View Mirro, DLC, and Gauge Cluster
Cell 10 Ignition Switch and Fuse Block
Handling ESD Sensitive Parts Notice