GM Service Manual Online
For 1990-2009 cars only

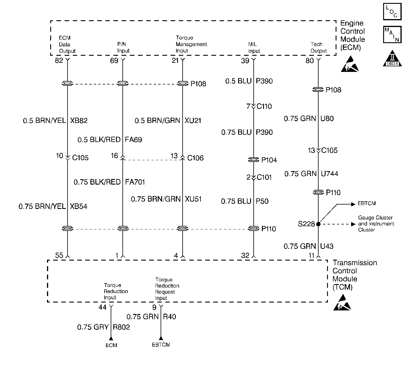
Object Number: 70489  Size: LF
Automatic Transmission Controls Schematics
Automatic Transmission Components
OBD II Symbol Description Notice
Handling ESD Sensitive Parts Notice
Handling ESD Sensitive Parts Notice

Circuit Description

If the ABS/Traction Control System detects the excessive wheel spin, the ABS controller sends a signal to the ECM requesting reduced engine torque. The ECM reduces engine torque by retarding spark timing in response to this signal. This signal also travels to the TCM. The TCM monitors this signal in order to prevent redundant requests for torque reduction which could result in excessive spark retard. The Traction Control Torque Reduction Request Circuit is pulled up to B+ within the ABS controller. The ABS controller induces a signal on the circuit by Pulse Width Modulating the circuit to ground. The signal frequency is constant at approximately 100 Hz. The requested amount of timing retard passes over to the TCM by varying the duty cycle of this signal.

Conditions For Running The DTC

Tests continuously

Conditions for Setting the DTC

    • The TCM detects an open, short to ground or power on the Traction Control Torque Reduction Request Circuit.
    • Conditions meet for 65 ms

Action Taken When the DTC Sets

    • The MIL/STL will not illuminate.
    • The TCM memory stores the DTC at the time of the first failure.
    • Traction Control disables.

Conditions for Clearing the MIL/DTC

    • A History DTC clears after forty consecutive warm-up cycles, if no failures report by this diagnostic or any other non-emission related diagnostic.
    • TCM battery voltage interrupts.
    • The scan tool clears the MIL/DTC.

Diagnostic Aids

For any test that requires probing the TCM harness connector or a component harness connector, use the Connector Test Adapter Kit J 35616 . Using this kit will prevent damage to the harness connector terminals.

Check for the following conditions:

    • Poor connections at the TCM or at the component. Inspect the harness connectors for any backed out terminals, improper mating, broken locks, improperly formed or damaged terminals, and poor terminal to wire connection. Refer to Engine Electrical, Troubleshooting Procedures, Checking Terminal Contact for proper procedure.
    • Damaged harness. Inspect the wiring harness for damage. If the harness appears to be OK, observe the scan tool while moving any related connectors and any wiring harnesses. A change in the display may help in order to locate the fault.

Test Description

The number(s) below refer to the step number(s) on the Diagnostic Table.

  1. Check the circuit for the following conditions which may cause an intermittent problem:

    • Poor connections at the ECM or TCM. Inspect harness connectors for any backed out terminals, improper mating, broken locks, improperly formed or damaged terminals, and poor terminal to wire connection. Refer to Engine Electrical, Troubleshooting Procedures, Checking Terminal Contact for proper procedure.
    • Misrouted harness. Inspect the harness in order to ensure that the harness does not route too close to any high voltage wires such as spark plug leads, or too close to high current devices such as the alternator, electric motors, solenoids etc.
    • Damaged harness. Inspect the wiring harness for damage. If the harness appears to be OK, observe the scan tool while moving any related connectors and any wiring harnesses. A change in the display may help to locate the fault.

DTC P1844 - Traction Control Torque Reduction Request Circuit

Step

Action

Value(s)

Yes

No

1

Was the Powertrain On-Board Diagnostic (OBD) System Check performed?

--

Go to Step 2

Go to Powertrain On Board Diagnostic (OBD) System Check

2

  1. Turn off the ignition.
  2. Disconnect the TCM.
  3. Turn on the ignition with the engine off.
  4. Use the DVM J 39200 in order to measure the voltage on the Traction Control Torque Reduction Request Circuit at the TCM harness connector.

Does the DVM indicate the specified voltage?

B+

Go to Step 6

Go to Step 3

3

  1. Turn off the ignition.
  2. Disconnect the ECM.
  3. Turn on the ignition with the engine off.
  4. Use the DVM J 39200 in order to measure the voltage on the Traction Control Torque Reduction Request Circuit at the TCM harness connector.

Does the DVM indicate the specified voltage?

B+

Go to Step 11

Go to Step 4

4

  1. Turn off the ignition.
  2. Disconnect the ABS controller.
  3. Use the DVM J 39200 in order to check the harness for continuity on the Traction Control Torque Reduction Request Circuit from the ABS controller to the TCM and from the ABS controller to the ECM.

Is the continuity indicated?

--

Go to Step 5

Go to Step 7

5

Use the DVM J 39200 in order to check the continuity between the Traction Control Torque Reduction Request Circuit and ground.

Is the continuity indicated?

--

Go to Step 8

Go to Step 10

6

Use the test light J 34142-B connected to ground in order to probe the Traction Control Torque Reduction Request Circuit at the TCM harness connector.

Does the test light illuminate?

--

Go to Step 9

Go to Step 12

7

Repair the open or high resistance request circuit.

Is the action complete?

--

Go to Step 13

--

8

Repair the request circuit shorted to ground.

Is the action complete?

--

Go to Step 13

--

9

Repair the request circuit shorted to B+.

Is the action complete?

--

Go to Step 13

--

10

Check the ABS harness connector for a poor connection or poor terminal tension. Refer to Engine Electrical, Troubleshooting Procedures, Checking Terminal Contact for the proper procedure.

Was a problem found and corrected?

--

Go to Step 13

Go to Antilock Brake System (ABS)

11

Important: This vehicle is equipped with a Theft Deterrent System which interfaces with the Engine Control Module (ECM). Program the new ECM with the frequency code of the theft deterrent module currently on the vehicle.

Replace the ECM. Refer to Engine Controls, On Vehicle Service, ECM.

Is the action complete?

--

Go to Step 13

--

12

Check the TCM harness connector for a poor connection or poor terminal tension. Refer to Engine Electrical, Troubleshooting Procedures, Checking Terminal Contact for proper procedure.

Was a problem found and corrected?

--

Go to Step 13

Go to Test Description

13

  1. Clear the DTCs with the scan tool.
  2. Turn off the ignition for 15 seconds.
  3. Start the engine.
  4. Operate the vehicle within the conditions required for this diagnostic to run. Refer to Conditions for Running the DTC.
  5. Check for any DTCs.

Is DTC P1844 set?

--

Go to Step 2

Go to Step 14

14

Were there any additional DTCs noted during the Powertrain or Transmission OBD System Check that have not been diagnosed?

--

Go to the applicable DTC table

Go to Step 15

15

Does the Transmission now function properly?

--

System OK

Go to Functional Test