GM Service Manual Online
For 1990-2009 cars only

Object Number: 241203  Size: LF
Body Control Module Components
Cell 51: BCM Power, Ground and DLC
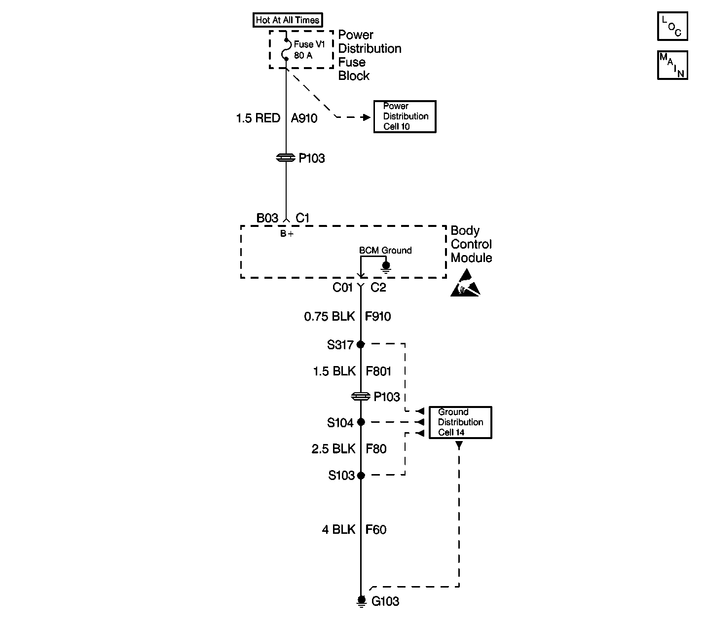
Cell 10 Power Distribution Fuse Block
Handling ESD Sensitive Parts Notice
Ground Distribution Schematics

Circuit Description

Battery voltage is supplied to the Body Control Module (BCM) at terminal B3. The BCM uses this power supply to perform most of its functions. The BCM constantly monitors the battery voltage at terminal B3.

Conditions for Setting the DTC

Battery voltage is tested every 300 ms. The fault code is set when the voltage is above 15.5 Volts for 1200 ms.

Action Taken When the DTC Sets

Stores a DTC B1982 in the BCM memory.

Conditions for Clearing the DTC

    • The BCM no longer detects an overvoltage condition (less that 15.0 Volts) at terminal B3 for 1200 ms.
    • The use of a Scan Tool.
    • A history DTC will clear after 50 consecutive ignition cycles if the condition for the fault is no longer present.

Diagnostic Aids

    • Check for an over-charge condition in the charging system.
    • Check the power circuits to the BCM for tight clean connections.
    • Check the ground circuits to the BCM for tight clean connections.

Test Description

The following numbers refer to the step numbers on the diagnostic table:

  1. The use of the scan tool tests the voltage available at BCM terminal B3.

  2. After testing the system voltage, test the BCM again to see if the DTC resets.

Step

Action

Value(s)

Yes

No

1

Did you perform the BCM Diagnostic System Check performed?

--

Go to Step 2

Go to BCM Diagnostic System Check

2

  1. Connect the scan tool to the Data Link Connector (DLC).
  2. Select Data from the menu.
  3. Start the engine.
  4. Note the battery voltage displayed on the scan tool.

Is the voltage above 15.0 volts?

--

Go to Step 3

Go to Step 4

3

Repair the charging system. Refer to Starting and Charging System Check in Engine Electrical.

Is the repair complete?

--

Go to BCM Diagnostic System Check

--

4

  1. Use the scan tool in order to clear DTCs.
  2. Retest for DTC B1982.

Is a current DTC B1982 set?

--

Go to Step 5

Go to Step 6

5

After confirming system voltage is not above 15.0 volts, replace the BCM. Refer to Body Control Module Replacement.

Is the replacement complete?

--

Go to BCM Diagnostic System Check

--

6

Verify BCM operation by turning on the headlamps, interior lamps, cycle the door locks, etc.

Is the BCM operating properly?

--

System OK

--