GM Service Manual Online
For 1990-2009 cars only

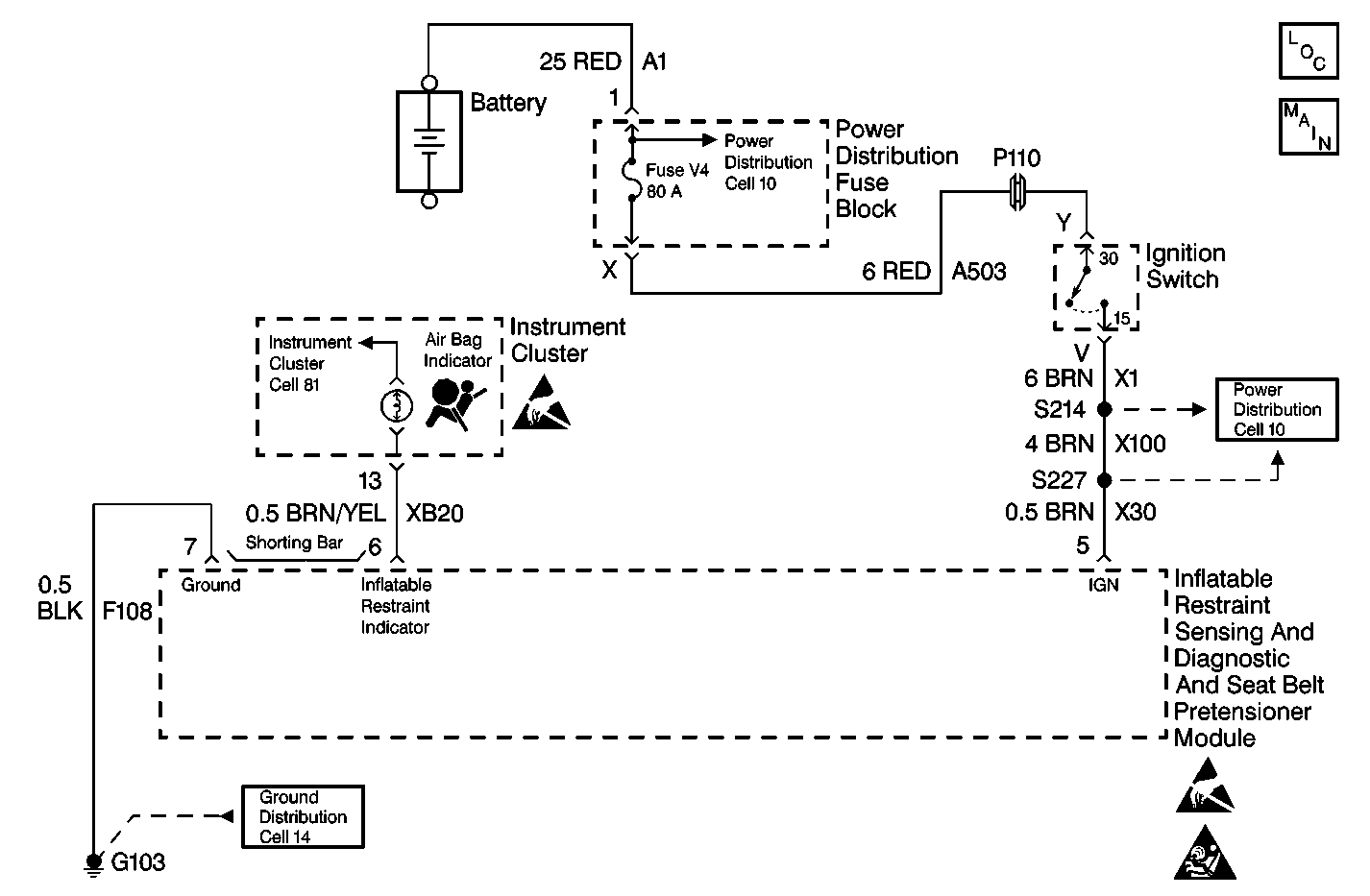
Object Number: 255457  Size: MF
SIR Components
SIR Schematics
Handling ESD Sensitive Parts Notice
Handling ESD Sensitive Parts Notice
SIR Caution

Circuit Description

The starter switch applies system voltage to the Ignition input, terminal 5, when the ignition switch is first turned ON. The ignition voltage is applied from the inflatable restraint Sensing and Diagnostic and Seat Belt Pretensioner Module (SDM) to the AIR BAG warning lamp which is connected to the inflatable restraint Indicator, terminal 6. The SDM responds by flashing the AIR BAG warning lamp seven times. The AIR BAG warning lamp will come ON solid if the Ignition is outside of the normal operating voltage range.

Diagnostic Aids

The SDM harness connector must be properly connected to the SDM in order to disable the shorting bar from terminal 6 to terminal 7 inside the SDM harness connector.

When measurements are requested in this table, use J 39200 Digital Multimeter with the correct terminal adapter from J 35616 Connector Test Adapter Kit. When a check for proper connection is requested, refer to Intermittents and Poor Connections . When a wire, connector or terminal repair is requested, use J-38125 Terminal Repair Kit and refer to Wiring Repair .

Test Description

The numbers below refer to step numbers on the diagnostic table.

  1. This test checks for sufficient IGNITION voltage applied to the SDM.

  2. This test checks for excessive IGNITION voltage applied to the SDM.

  3. This test checks for a correctly connected SDM harness connector.

  4. This test determines if the SDM is turning ON the AIR BAG warning lamp.

  5. This test determines whether the malfunction is a short-to-ground in CKT XB20 or a short between CKT XB20 and CKT F108.

  6. This test determines whether the malfunction is an open circuit in the IGNITION feed circuit.

  7. This checks whether a short-to-ground circuit in the IGNITION feed circuit.

AIR BAG Warning Lamp Comes On Steady

Step

Action

Value(s)

Yes

No

1

Was the SIR Diagnostic System Check performed?

--

Go to Step 2

Go to SIR Diagnostic System Check

2

  1. Turn the ignition switch to the OFF position.
  2. Connect a scan tool to the data link connector. Follow the directions in the instruction manual of the scan tool.
  3. Turn the ignition switch to the ON position.
  4. Request the SIR data list display.

Is the IGNITION more than the specified value?

9.0 V

Go to Step 3

Go to Step 12

3

  1. Set the parking brake.
  2. Start the engine.
  3. Use the scan tool to read the SIR data list.

Is the IGNITION more than the specified value?

16.0 V

Go to Battery Is Undercharged or Overcharged

Go to Step 4

4

  1. Turn the ignition switch to the OFF position.
  2. Wait one minute until the SDM energy reserve capacitors have discharged.
  3. Disconnect the negative cable of the battery. Refer to

    Caution: Unless directed otherwise, the ignition and start switch must be in the OFF or LOCK position, and all electrical loads must be OFF before servicing any electrical component. Disconnect the negative battery cable to prevent an electrical spark should a tool or equipment come in contact with an exposed electrical terminal. Failure to follow these precautions may result in personal injury and/or damage to the vehicle or its components.

    .
  4. Inspect the inflatable restraint Sensing and Diagnostic and Seat Belt Pretensioner Module (SDM) harness connector.

Is the harness connector properly connected and is the CPA locked in the correct position?

--

Go to Step 6

Go to Step 5

5

  1. Properly connect the SDM harness connector to the SDM.
  2. Lock the CPA in the correct position.

Is the SDM harness connector properly connected to the SDM and is the CPA locked in the correct position?

--

Go to SIR Diagnostic System Check

--

6

  1. Disconnect the SDM harness connector CPA.
  2. Disconnect the SDM harness connector from the SDM.
  3. Insert the J 42113 Shorting Bar Tool into the SDM harness connector terminal above terminal 6 and 7. This opens the short circuit bridge between terminals 6 and 7.
  4. Turn the ignition switch to the ON position.

Does the AIR BAG warning lamp come ON steady?

--

Go to Step 7

Go to Integrity Check

7

  1. Turn the ignition switch to the OFF position.
  2. Disconnect the instrument cluster. Refer to Instrument Panel, Gauges and Console.
  3. Measure the resistance from the SDM harness connector terminal 6 to ground.

Is the resistance reading less than the specified value?

OL

Go to Step 8

Go to Step 11

8

  1. Disconnect the CKT F108 from ground (G103).
  2. Disconnect the instrument cluster. Refer to Instrument Panel, Gauges and Console.
  3. Measure the resistance from the SDM harness connector terminal 6 to ground.

Is the resistance reading less than the specified value?

OL

Go to Step 9

Go to Step 10

9

Repair a short to ground condition in CKT XB20.

Is the repair complete?

--

Go to Step 19

--

10

Repair a short from CKT XB20 to CKT F108. Carefully inspect CKT F108 for cutting or chafing along its entire length.

Is the repair complete?

--

Go to Step 19

--

11

Service the instrument cluster.

Is the repair complete?

--

Go to Step 19

--

12

  1. Turn the ignition switch to the OFF position.
  2. Wait one minute until the SDM energy reserve capacitors have discharged.
  3. Disconnect the ignition switch.
  4. Inspect the connection at the ignition switch terminal V.

Is the ignition switch terminal V damaged or corroded?

--

Go to Step 13

Go to Step 14

13

Repair the connection at the ignition switch terminal V.

Is the repair complete?

--

Go to Step 19

--

14

  1. Disconnect the SDM harness connector CPA and disconnect the SDM harness connector from the SDM.
  2. Use the J 39200 Digital Multimeter to measure the resistance from the ignition switch terminal V to terminal 5 of the SDM harness connector.

Is the resistance reading within the specified values?

0-2 ohms

Go to Step 16

Go to Step 15

15

Repair an open circuit or repair a high resistance condition between the ignition switch terminal V and terminal 5 of the SDM harness connector.

Is the repair complete?

--

Go to Step 19

--

16

Use the J 39200 Digital Multimeter to measure the resistance from the ignition switch terminal V to ground.

Is the resistance reading less than the specified value?

OL

Go to Step 17

Go to Step 18

17

Repair a short to ground condition between the ignition switch terminal V and terminal 5 of the SDM harness connector.

Is the repair complete?

--

Go to Step 19

--

18

Replace the ignition switch.

Is the replacement complete?

--

Go to Step 19

--

19

Reconnect all the SIR system components. Ensure all components are properly mounted.

Is all the SIR components reconnected and is all the SIR components properly mounted?

--

Go to SIR Diagnostic System Check

--