GM Service Manual Online
For 1990-2009 cars only

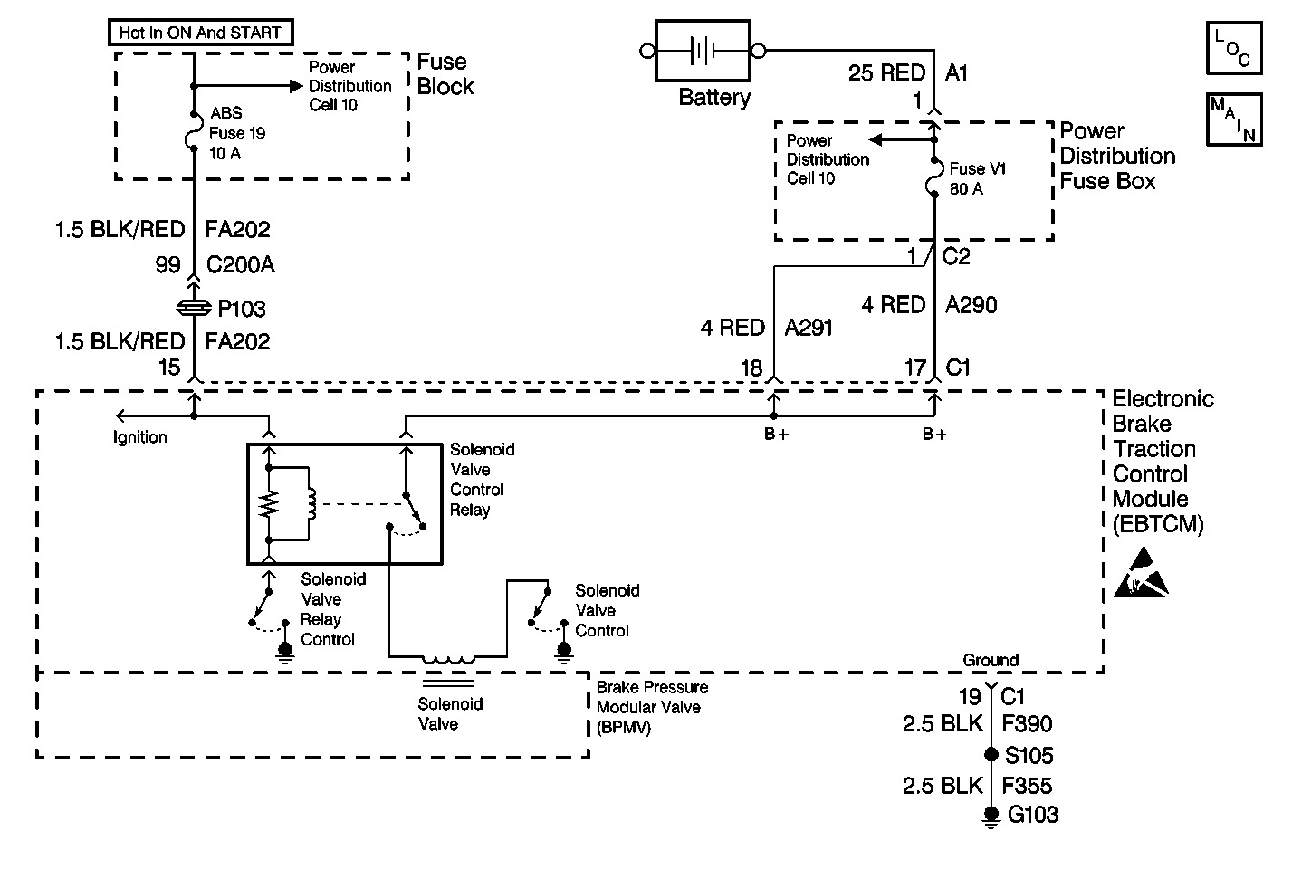
Object Number: 416452  Size: MF
ABS Components
Cell 44 EBTCM Power and Ground, BPMV, and DLC

Circuit Description

The solenoid valve relay supplies power to the solenoid valve coils in the EBTCM. The solenoid valve relay, located in the EBTCM, is activated whenever the ignition switch is in the ON position and no faults are present. The solenoid valve relay remains engaged until the ignition is turned OFF or a failure is detected.

Conditions for Setting the DTC

    • DTC C0121 will set anytime the solenoid valve relay is commanded on and the EBTCM does not see battery voltage at the solenoid valves.
    •  DTC C0121 will set anytime the EBTCM commands the solenoid valve relay off and battery voltage is still present at the solenoid valves.

Action Taken When the DTC Sets

    • A malfunction DTC stores.
    • The ABS/TCS disables.
    • The amber ABS/TCS indicator(s) turn on.

Conditions for Clearing the DTC

    • The condition responsible for setting the DTC no longer exists and the scan tool Clear DTCs function is used.
    • 100 ignition cycles pass with no DTC(s) detected.

Diagnostic Aids

    • It is very important that a thorough inspection of the wiring and connectors be performed. Failure to carefully and fully inspect wiring and connectors may result in misdiagnosis, causing part replacement with reappearance of the malfunction.
    • Thoroughly inspect any circuitry that may be causing the complaint for the following conditions:
       - Backed out terminals
       - Improper mating
       - Broken locks
       - Improperly formed or damaged terminals
       - Poor terminal-to-wiring connections
       - Physical damage to the wiring harness
    • The following conditions may cause an intermittent malfunction:
       - A poor connection
       - Rubbed-through wire insulation
       - A broken wire inside the insulation
    • If an intermittent malfunction exists refer to Intermittents and Poor Connections Diagnosis in Wiring Systems for further diagnosis.
    • The solenoid valve relay is an integral part of the EBTCM and is not serviced separately.

Test Description

The numbers below refer to step numbers on the diagnostic table.

  1. This step checks for a short to ground in CKTs A291 or A290.

  2. This step checks for an open in CKTs A291 and A290.

DTC C0121 Valve Relay Circuit Malfunction

Step

Action

Value(s)

Yes

No

1

Was the Diagnostic System Check performed?

--

Go to Step 2

Go to Diagnostic System Check - ABS

2

Inspect the 80A Fuse V1 Maxifuse® in the Power Distribution Fuse Box.

Is the fuse OK?

--

Go to Step 5

Go to Step 3

3

  1. Install a new 80A Fuse V1 Maxifuse®.
  2. Turn the ignition switch from the OFF to ON position, engine OFF.
  3. Using a scan tool in ABS/TCS Special Functions attempt to run the AUTOMATED test.
  4. Recheck the fuse.

Is the fuse OK?

--

Go to Step 10

Go to Step 4

4

  1. Turn the Ignition switch to the OFF position.
  2. Remove the Fuse V1 Maxifuse®.
  3. Disconnect the EBTCM connector C1.
  4. Connect the J 39700 Universal Pinout Box using the J 39700-280 cable adapter to the EBTCM harness connector only.
  5. Using J 39200 DMM, measure the resistance between terminals 18 and 19 of J 39700 .

Is the resistance within the range specified in the value(s) column?

OL (infinite)

Go to Step 7

Go to Step 8

5

  1. Replace the Fuse V1 Maxifuse®.
  2. Using J 39200 DMM, measure the voltage between the Fuse V4 test terminals and a good ground.

Is the voltage within the range specified in the value(s) column?

Battery volts

Go to Step 6

Go to Power Distribution Schematics in Wiring Systems

6

Using J 39200 DMM, measure the voltage at terminal 18 and 17 of J 39700 .

Is the voltage within the range specified in the value(s) column at both terminals?

Battery volts

Go to Step 7

Go to Step 9

7

Replace EBTCM. Refer to Electronic Brake and Traction Control Module Replacement .

Is the replacement complete?

--

Go to Diagnostic System Check - ABS

--

8

Repair short to ground in CKT A291 or A290. Refer to Wiring Repairs in Wiring Systems.

Is the repair complete?

--

Go to Step 10

--

9

Repair open in CKT A291 and A290. Refer to Wiring Repairs in Wiring Systems.

Is the repair complete?

--

Go to Step 10

--

10

  1. Reconnect all previously disconnected components.
  2. Using a scan tool clear the DTC.
  3. Remove the scan tool from the DLC.
  4. Carefully drive the vehicle above 12 Km/h (8 mph) for several minutes.

Does the DTC reset as a current DTC?

--

Go to Step 2

Go to Diagnostic System Check - ABS