GM Service Manual Online
For 1990-2009 cars only

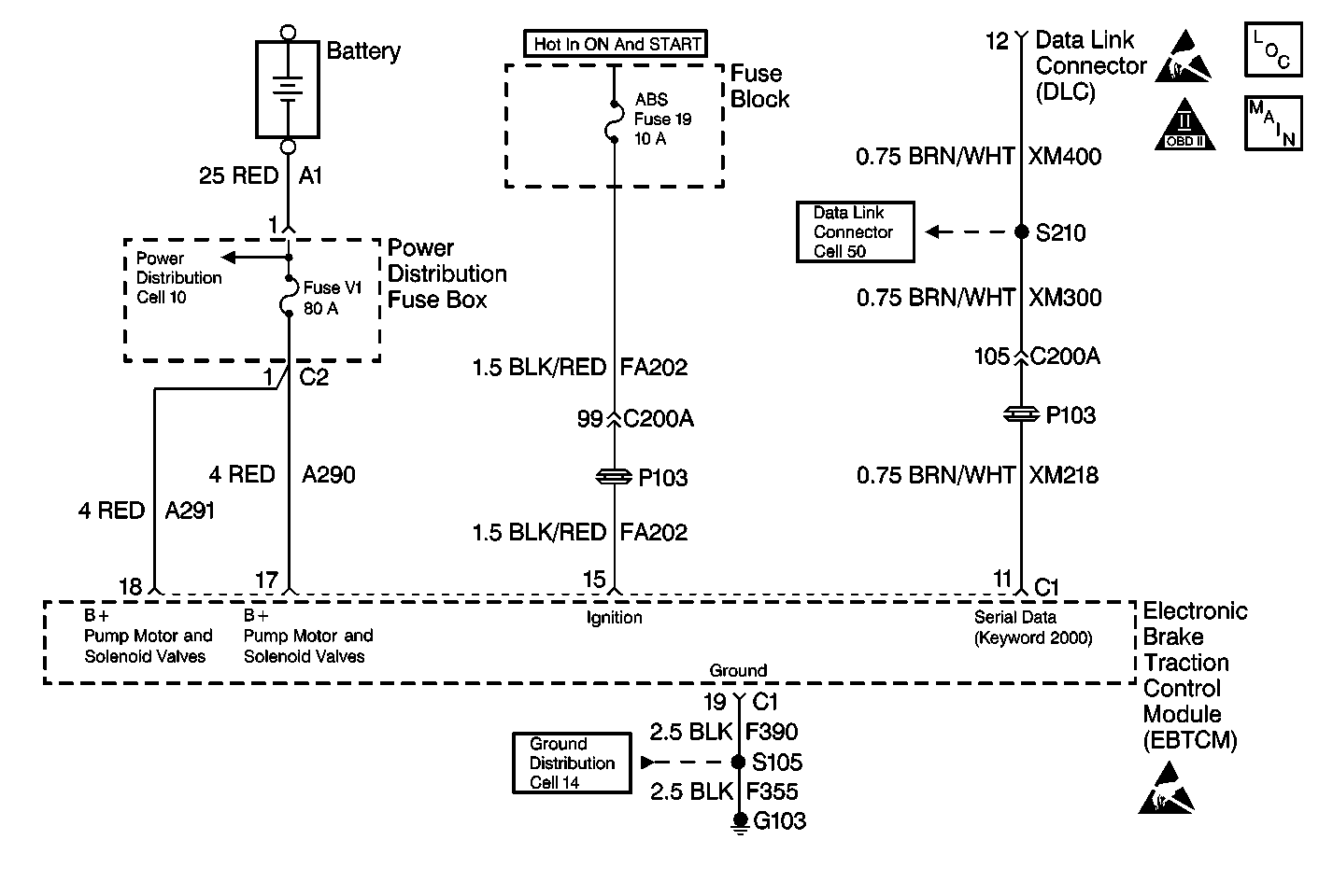
Object Number: 416444  Size: MF
ABS Components
Cell 44 EBTCM Power and Ground, BPMV, and DLC

Circuit Description

The EBTCM is required to operate within a specified range of voltage to function properly. During ABS and TCS operation, there are current requirements that will cause the voltage to drop. Because of this, voltage is monitored out of ABS/TCS control to indicate a good charging system condition, and also during ABS/TCS control when voltage may drop significantly. The EBTCM also monitors for high voltage conditions which could damage the EBTCM.

Conditions for Setting the DTC

    • The EBTCM ignition operating voltage at terminal 15 falls below 9.4 volts out of ABS/TCS control, or 8.8 volts during ABS/TCS control.
    • The EBTCM ignition operating voltage at terminal 15 rises above 17.4 volts.
    • The low voltage or the high voltage is detected for more than 500 milliseconds with the vehicle speed above 6 km/h (3.6 mph).

Action Taken When the DTC Sets

    • A malfunction DTC is stored.
    • The ABS and the TC indicator lamps are turned on.
    • The ABS/TCS is disabled.

Conditions for Clearing the DTC

    • The condition for the DTC is no longer present, the scan tool Clear DTCs function is used.
    • 100 ignition cycles have passed with no DTC(s) detected.

Diagnostic Aids

    • It is very important that a thorough inspection of the wiring and connectors be performed. Failure to carefully and fully inspect wiring and connectors may result in misdiagnosis, causing part replacement with reappearance of the malfunction.
    • Thoroughly inspect any circuitry that may be causing the complaint for the following conditions:
       - Backed out terminals
       - Improper mating
       - Broken locks
       - Improperly formed or damaged terminals
       - Poor terminal-to-wiring connections
       - Physical damage to the wiring harness
    • The following conditions may cause an intermittent malfunction:
       - A poor connection
       - Rubbed-through wire insulation
       - A broken wire inside the insulation
    • If an intermittent malfunction exists refer to Intermittents and Poor Connections Diagnosis in Wiring Systems for further diagnosis.

Test Description

The number(s) below refer to the step number(s) on the diagnostic table.

  1. This step checks if the voltage is above the maximum of the range.

  2. This step checks if the voltage is below the minimum of the range.

  3. This step checks for the integrity of the ground circuit.

DTC C0800 Device Power #1 Circuit Malfunction

Step

Action

Value(s)

Yes

No

1

Was a Diagnostic System Check performed?

--

Go to Step 2

Go to Diagnostic System Check - ABS

2

  1. Turn all the accessories off.
  2. Install a scan tool.
  3. Start the engine.
  4. Use the scan tool to monitor the battery voltage while running the engine at approximately 2000 RPM.

Is the monitored battery voltage within the specified range?

0-17.4 V

Go to Step 4

Go to Step 3

3

Use a J 39200 DMM to measure the voltage between the battery positive terminal and ground.

Is the voltage within the specified range?

0-17.4 V

Go to Step 5

Go to Charging System Check in Engine Electrical

4

Continue to monitor the battery voltage with the scan tool while running the engine at approximately 2000 RPM.

Is the monitored battery voltage within the specified range?

0-9.4 V

Go to Step 6

Go to Step 5

5

  1. Turn the ignition switch to the OFF position.
  2. Disconnect the scan tool if still connected.
  3. Test drive the vehicle above 6 km/h (3.5 mph).

Did DTC C0800 reset?

--

Go to Step 13

Go to Diagnostic System Check - ABS

6

Use a J 39200 DMM to measure the voltage between the battery positive terminal and ground.

Is the voltage within the specified range?

0-9.4 V

Go to Charging System Check in Engine Electrical

Go to Step 7

7

  1. Disconnect the EBTCM connector from the EBTCM.
  2. Install the J 39700 Universal Pinout Box with the J 39700-280 Cable Adapter to the EBTCM harness only.
  3. Use a J 39200 DMM to measure the resistance between the J 39700 terminal 19 and a good ground.

Is the resistance within the specified range?

0-5ohms

Go to Step 9

Go to Step 8

8

Repair open or high resistance in the ground circuit. Refer to Wiring Repairs in Wiring Systems.

Is the repair complete?

--

Go to Diagnostic System Check - ABS

--

9

  1. Turn the ignition switch to the ON position with the engine off.
  2. Use a J 39200 DMM to measure the voltage between the J 39700 terminal 15 and 19.

Is the voltage within the specified range?

Above 9.4 Volts

Go to Step 12

Go to Step 10

10

  1. Remove ABS Fuse 19 from the Fuse Block.
  2. Use a J 39200 DMM to measure the resistance between the fuse block test terminal on the EBTCM side and the J 39700 terminal 15.

Is the resistance within the specified range?

0-5ohms

Go to Charging System Check in Engine Electrical

Go to Step 11

11

Repair high resistance in CKT FA202. Refer to Wiring Repairs in Wiring Systems.

Is the repair complete?

--

Go to Diagnostic System Check - ABS

--

12

  1. Turn the ignition switch to the OFF position.
  2. Reconnect the EBTCM connector.
  3. Disconnect the scan tool if the scan tool is still connected.
  4. Test drive the vehicle above 6 km/h (3.5 mph).

Did DTC C0800 reset?

--

Go to Step 13

Go to Diagnostic System Check - ABS

13

Replace the EBTCM. Refer to Electronic Brake and Traction Control Module Replacement .

Is the repair complete?

--

Go to Diagnostic System Check - ABS

--