GM Service Manual Online
For 1990-2009 cars only

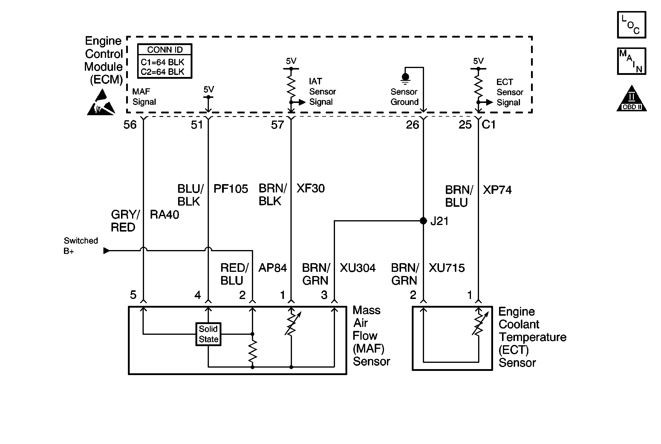
Object Number: 414212  Size: MF
Engine Controls Components
Cell 20: Air Injection Pump, MAF and ECT Sensors
OBD II Symbol Description Notice
Handling ESD Sensitive Parts Notice

Circuit Description

The mass air flow (MAF) sensor has a switched battery feed, a ground, and a signal circuit.

The MAF sensor used on this vehicle is a hot film type and is used to measure the air flow rate. The MAF output voltage is a function of the current required to keep the air flow sensing element at a fixed temperature. The air flowing through the sensor cools the sensing element. The amount of cooling is proportional to the amount of the air flow. As the air flow increases, more current is required in order to maintain the hot film at a constant temperature. The MAF sensor converts the changes in current to a voltage signal read by the ECM. The ECM calculates the air flow based on this signal.

The ECM monitors the MAF sensor signal voltage and can determine if the sensor signal voltage is too low, too high, not indicating the expected airflow for a given operating condition, or that the signal appears to be stuck based on the lack of normal signal fluctuations expected during engine operation.

Conditions for Running the DTC

    • The battery voltage is more than 11 volts.
    • One or both of the following DTCs not set: P1220, or P1120.
    • The engine speed is more than 500 RPM.

Conditions for Setting the DTC

The MAF signal indicates an airflow outside of a calculated range for a given RPM for at least 0.1 second.

Action Taken When the DTC Sets

    • The ECM illuminates the malfunction indicator lamp (MIL) and records the operating conditions in the Freeze Frame on the second consecutive drive trip that the diagnostic runs and fails.
    • The ECM will calculate the airflow from the other sensor inputs.

Conditions for Clearing the MIL/DTC

    • The ECM turns OFF the MIL after three consecutive drive trips that the diagnostic runs and passes.
    • A History DTC clears after forty consecutive warm-up cycles in which no failures are reported by this diagnostic or any other emission related diagnostic.
    • The ECM battery voltage is interrupted.
    • The scan tool clears the MIL/DTC.

Diagnostic Aids

Notice: Using the J 35616-A Connector Test Adapter Kit will prevent damage to the harness connector terminals.

Use the Connector Test Adapter Kit J 35616 for any test that requires probing the ECM harness connector or a component harness connector. Using this kit will prevent damage to the harness connector terminals.

Check for the following conditions:

    • A plugged intake air duct or a dirty air filter element
    • Poor connections at the ECM or at the component--Inspect the harness connectors for any of the following conditions:
       - Improper mating
       - Broken locks
       - Improperly formed or damaged terminals
       - A poor terminal to wire connection
       - Refer to Engine Control Module Diagnosis for the proper procedure.
    • A damaged harness--Inspect the wiring harness for damage. If the harness appears to be OK, observe the scan tool while moving the related connectors and the wiring harnesses. A change in the display may help in order to locate the fault.
        If the sensor signal is only affected when the harness is moved near a component, and there is no problem with the harness or connections, the component may be damaged.

Refer to Symptoms Preliminary Checks for the intermittents.

Test Description

The numbers below refer to the step numbers on the diagnostic table.

  1. Monitoring the mass air flow (MAF) sensor input will determine whether the fault is present now or intermittent.

  2. Using the Freeze Frame data may aid in locating an intermittent condition. If the DTC cannot be duplicated, review the information in the Freeze Frame. Try to operate the vehicle within the same Freeze Frame conditions, the RPM, the MAF, the vehicle speed, the temperature etc., that were noted. This process may help to recreate the malfunction.

  3. Do not use B+ as a power source for this test, as this can damage the ECM.

  4. The scan tool display should go to the maximum value for this parameter, about 72 grams per second.

  5. The MAF sensor and the intake air temperature (IAT) sensor are to be replaced as an assembly. They are not serviced separately.

  6. Perform the Idle Learn Procedure when replacing the ECM or throttle body.

DTC P0100 - Mass Air Flow (MAF) Sensor Circuit

Step

Action

Values

Yes

No

1

Did you perform the Powertrain On-Board Diagnostic (OBD) System Check?

--

Go to Step 2

Go to Powertrain On Board Diagnostic (OBD) System Check

2

Start and idle the engine.

Is the mass air flow above the specified value?

39 g/s

Go to Step 7

Go to Step 3

3

  1. Allow the engine to idle to the specified temperature.
  2. With the engine idling, use the scan tool in order to monitor the MAF display.

Is the mass air flow below the specified value?

85-5°C (185-203°F)

1.1 g/s

Go to Step 8

Go to Step 4

4

Inspect for the following conditions:

    • Objects blocking the MAF sensor inlet screen
    • Intake manifold vacuum leaks
    • Vacuum leaks at the throttle body
    • Air leaks in the intake duct system between the MAF sensor and the throttle body
    • An improperly functioning crankcase ventilation system
    • A loose or missing engine oil fill cap
    • An unseated engine oil dipstick

Did you find and correct a problem?

--

Go to Step 27

Go to Step 5

5

Move the harness and the related connectors while using the scan tool in order to monitor the MAF display.

Does the harness movement affect the mass air flow?

--

Go to Step 16

Go to Step 6

6

  1. Turn ON the ignition with the engine OFF.
  2. Review the Freeze Frame data for this DTC and note the parameters.
  3. Clear the DTCs.
  4. Turn OFF the ignition for 15 seconds.
  5. Start the engine.
  6. Operate the vehicle within the conditions required for this diagnostic to run, and as close to the conditions that are recorded in the Freeze Frame as possible. Refer to Conditions for Running the DTC.
  7. Check for any DTCs.

Is this DTC set?

--

Go to Step 23

Go to Step 28

7

  1. Disconnect the MAF sensor connector.
  2. Ensure the engine remains idling.

Does the scan tool indicate the specified air flow?

0.0 g/s

Go to Step 9

Go to Step 11

8

  1. Turn ON the ignition leaving the engine OFF.
  2. Disconnect the MAF sensor.
  3. Using a J 39200 digital multimeter (DMM), connect one lead to the MAF 5 volt reference circuit and the other lead to a known good ground.

Does the DMM read within the specified range?

4.7-5.2 V

Go to Step 12

Go to Step 17

9

IMPORTANT: Do Not substitute B+ for the 5 V reference voltage.

Probe the signal return circuit in the MAF sensor harness connector with the J 34142-B test lamp connected to the 5 V reference circuit.

Does the test lamp illuminate?

--

Go to Step 24

Go to Step 10

10

  1. Turn OFF the ignition.
  2. Disconnect the ECM.
  3. Use the J 39200 DMM in order to check the harness for continuity on the MAF sensor signal return circuit from the ECM harness connector to the MAF sensor harness connector.

Is continuity indicated?

--

Go to Step 25

Go to Step 18

11

  1. Turn OFF the ignition.
  2. Disconnect the ECM.
  3. Turn ON the ignition leaving the engine OFF.
  4. Measure the voltage on the signal circuit in the MAF sensor harness connector with the J 39200 DMM.

Is there a voltage present?

--

Go to Step 19

Go to Step 26

12

  1. Start and idle the engine.
  2. Probe the MAF sensor signal circuit in the MAF sensor harness connector with the J 34142-B test lamp connected to B+.
  3. The engine may stall. Restart the engine if necessary.

Does the scan tool indicate MAF more than the specified value?

72 g/s

Go to Step 13

Go to Step 14

13

Probe the MAF sensor B+ supply circuit in the MAF sensor harness connector with the J 34142-B test lamp connected to a ground.

Does the test lamp illuminate?

--

Go to Step 23

Go to Step 20

14

  1. Turn OFF the ignition.
  2. Disconnect the ECM.
  3. Use the J 39200 DMM in order to check the harness for continuity on the MAF sensor signal circuit from the ECM harness connector to the MAF sensor harness connector.

Is continuity indicated?

--

Go to Step 15

Go to Step 21

15

Use the J 39200 DMM in order to check for continuity between the MAF sensor signal circuit and ground.

Is continuity indicated?

--

Go to Step 22

Go to Step 25

16

Repair the harness/connections as necessary.

Is the action complete?

--

Go to Step 27

--

17

  1. Test the 5 V reference circuit for an open or shorted to ground condition if the voltage observed in Step 8 was less than the value range specified.
  2. Test the 5 V reference circuit for a short to battery voltage if the voltage observed in Step 8 was more than the value range specified.
  3. Repair wiring as necessary.

Was a wiring repair made?

--

Go to Step 27

Go to Step 25

18

Repair open or high resistance in the signal return circuit.

Is the action completed?

--

Go to Step 27

--

19

Repair the signal circuit that is shorted to voltage.

Is the action completed?

--

Go to Step 27

--

20

Repair the open/high resistance in the switched B+ circuit.

Is the action completed?

--

Go to Step 27

--

21

Repair the open/high resistance in the signal circuit.

Is the action completed?

--

Go to Step 27

--

22

Repair the signal circuit shorted to ground.

Is the action completed?

--

Go to Step 27

--

23

Check for a poor connection or poor terminal tension at the MAF sensor harness connector. Refer to Electrical Diagnosis in Engine Electrical, and Troubleshooting Procedures for the proper procedure. Also, refer to Checking Terminal Contact in Engine Control Module Diagnosis .

Did you find and correct a problem?

--

Go to Step 27

Go to Step 24

24

Replace the MAF sensor.

Is the action completed?

--

Go to Step 27

--

25

Check for a poor connection or poor terminal tension at the ECM harness connector. Refer to Electrical Diagnosis in Engine Electrical, and Troubleshooting Procedures for the proper procedure. Also, refer to Checking Terminal Contact in Engine Control Module Diagnosis .

Did you find and correct a problem?

--

Go to Step 27

Go to Step 26

26

Important: This vehicle is equipped with a Theft Deterrent System which interfaces with the Engine Control Module (ECM). Program the new ECM with the frequency code of the theft deterrent module that is currently on the vehicle.

Replace the ECM. Refer to Engine Control Module Replacement/Programming .

Is the action complete?

--

Go to Step 27

--

27

  1. Using a scan tool, clear the DTCs.
  2. Turn the ignition OFF for 15 seconds.
  3. Start the engine.
  4. Allow the engine to idle until the engine reaches the normal operating temperature.
  5. Select DTC and the Specific DTC function.
  6. Enter the DTC number that was set.
  7. Operate the vehicle within the Conditions for Running this DTC until the scan tool indicates that the diagnostic Ran.

Does the scan tool indicate that the diagnostic Passed?

--

Go to Step 28

Go to Step 28

28

Were there any additional DTCs noted during the Powertrain OBD System Check that have not been diagnosed?

--

Go to the applicable DTC table

System OK