GM Service Manual Online
For 1990-2009 cars only

Removal Procedure

  1. Release the parking brake, if applied.
  2. Important: Replace the parking brake shoes in complete axle sets only.

  3. Raise and suitably support the vehicle. Refer to Lifting and Jacking the Vehicle in General Information.
  4. Remove the brake caliper. Refer to Rear Brake Caliper Replacement in Disc Brakes.

  5. Object Number: 219671  Size: SH
  6. Remove the rotor set screw (1).
  7. Remove the brake rotor.

  8. Object Number: 219667  Size: SH
  9. Remove the parking brake cable return spring (2) from the parking brake lever (3) and backing plate.
  10. Remove the parking brake cable (3) from the parking brake lever (1).

  11. Object Number: 219673  Size: SH
  12. Use brake spring pliers (2) to remove the parking brake shoe upper return spring (3).

  13. Object Number: 219675  Size: SH
  14. Remove the parking brake adjuster (1).

  15. Object Number: 219676  Size: SH
  16. Use brake spring pliers (2) to remove the parking brake shoe lower return spring (1).
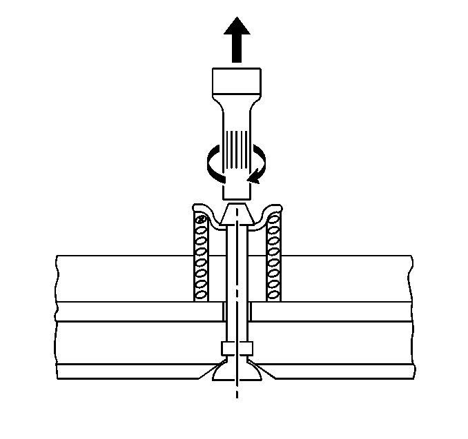
  17. Rotate the wheel bearing hub flange to the largest cutout over the parking brake shoe retaining pin.

  18. Object Number: 389516  Size: SH
  19. Remove the brake shoe spring retaining cup.
  20. Remove the parking brake shoe retaining spring.
  21. Repeat steps for the opposing brake shoe retaining spring, retainer, and pin removal.
  22. Remove the parking brake shoes.

  23. Object Number: 219678  Size: SH
  24. Remove the parking brake lever strut (1) and pivot pin (2).
  25. Remove the parking brake lever.
  26. Clean all the removed components.
  27. Inspect all the removed components for wear and/or damage.

  28. Object Number: 389514  Size: SH
  29. Replace any worn and/or damaged parts.

Installation Procedure

Notice: Lubricate the shoe pads and adjusting screw threads with a thin coat of Lubricant Silicone Grease GM P/N 18010908 or equivalent. DO NOT allow lubricant to contact brake linings.

  1. Lubricate the parking brake adjuster threads.
  2. Install the parking brake shoe.
  3. Rotate the wheel bearing hub flange to the largest cutout over the parking brake shoe retaining pin.

  4. Object Number: 389512  Size: SH
  5. Install the parking brake shoe retainer spring (1).
  6. Install the parking brake shoe retainer cup.
  7. Repeat steps to install the opposing brake shoe.
  8. Install the parking brake lever.

  9. Object Number: 389514  Size: SH
  10. Install the parking brake lever strut with the pivot pin.

  11. Object Number: 219676  Size: SH
  12. Use brake spring pliers (2) to install the parking brake shoe lower return spring.

  13. Object Number: 219675  Size: SH
  14. Install the self adjuster (1).

  15. Object Number: 219673  Size: SH
  16. Use brake spring pliers (2) to install the parking brake shoe upper return spring (1).
  17. Extend the parking brake adjuster until the brake shoes just contact the brake drum.
  18. Install the brake rotor.

  19. Object Number: 219667  Size: SH
  20. Install the parking brake cable (1) onto the parking brake lever (3).
  21. Install the parking brake cable return spring (2) to the parking brake lever (3) and the brake backing plate.

  22. Object Number: 219671  Size: SH

    Notice: Use the correct fastener in the correct location. Replacement fasteners must be the correct part number for that application. Fasteners requiring replacement or fasteners requiring the use of thread locking compound or sealant are identified in the service procedure. Do not use paints, lubricants, or corrosion inhibitors on fasteners or fastener joint surfaces unless specified. These coatings affect fastener torque and joint clamping force and may damage the fastener. Use the correct tightening sequence and specifications when installing fasteners in order to avoid damage to parts and systems.

  23. Install the brake rotor set screw (1).
  24. Tighten
    Tighten the brake rotor set screw to 4 N·m (35 lb in).

  25. Install the brake caliper. Refer to Rear Brake Caliper Replacement in Disc Brakes.
  26. Repeat the above procedure for the opposite side of the vehicle.
  27. Test the parking brake operation. Refer to Parking Brake Lever Adjustment .