GM Service Manual Online
For 1990-2009 cars only

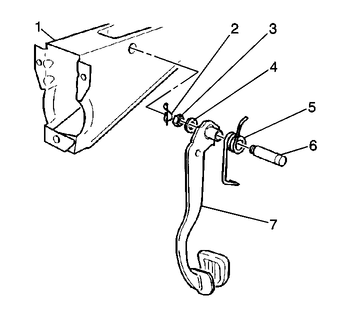
Removal Procedure

  1. Remove the brake pedal bracket assembly. Refer to Brake Pedal Bracket Replacement .

  2. Object Number: 219485  Size: SH
  3. Clamp the brake pedal bracket (1) in a vice.
  4. Remove the retaining spring (2).
  5. Remove the nut (3) from the brake pedal axle (6).
  6. Remove the washer (4).
  7. Use a drift to carefully drive the brake pedal axle (6) out of the brake pedal bracket (1).
  8. Remove the brake pedal arm (7) with brake pedal return spring (5) from the brake pedal bracket (1).
  9. Inspect all the components for wear.

Installation Procedure


    Object Number: 219485  Size: SH
  1. Attach the brake pedal return spring (5) to the brake pedal arm (7).
  2. Install the brake pedal arm (7) in the brake pedal bracket (1).
  3. Install the brake pedal axle (6) into the brake pedal bracket (1).
  4. Important: Lubricate the brake pedal axle (6) before assembly.

  5. Install the washer (4) to the pedal axle (6).
  6. Notice: Use the correct fastener in the correct location. Replacement fasteners must be the correct part number for that application. Fasteners requiring replacement or fasteners requiring the use of thread locking compound or sealant are identified in the service procedure. Do not use paints, lubricants, or corrosion inhibitors on fasteners or fastener joint surfaces unless specified. These coatings affect fastener torque and joint clamping force and may damage the fastener. Use the correct tightening sequence and specifications when installing fasteners in order to avoid damage to parts and systems.

  7. Install the nut (3) to the brake pedal axle (6).
  8. Tighten
    Tighten the nut (3) to 18 N·m (13 lb ft).

  9. Install the retaining spring (2).
  10. Remove the brake pedal bracket (1) from the vice.
  11. Install the brake pedal bracket assembly. Refer to Brake Pedal Bracket Replacement .