GM Service Manual Online
For 1990-2009 cars only
Makes
🢒
Cadillac
🢒
2000
🢒
Catera
🢒
Body and Accessories
🢒
Cruise Control
🢒 Cruise Control Schematics
Figure
1:
Stop Lamp Switch, Cruise Control and Cruise Control Release Switches
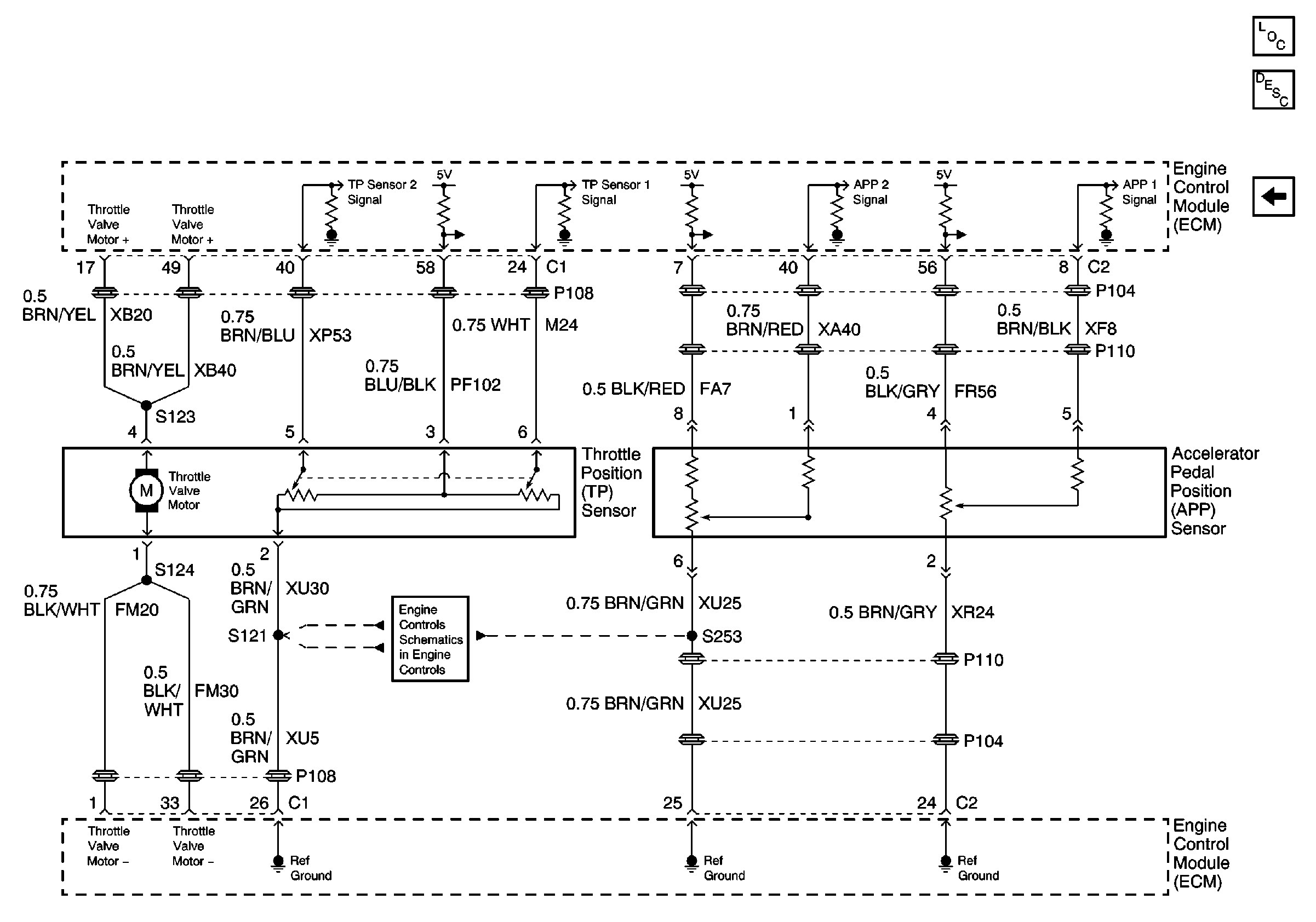
Figure
2:
TP Sensor and APP Sensor