GM Service Manual Online
For 1990-2009 cars only

Removal Procedure


    Object Number: 161476  Size: SH

    Important: The cover cannot be removed until the mirror is removed for the windshield support.

  1. Perform the following steps to remove the inside rearview mirror (automatic memory):
  2. 1.1. Rock the mirror from side to side.

            Notice: Do NOT pull rearward on the rearview mirror while installing or removing the mirror. Damage to the support or to the windshield may occur.

    1.2. Carefully pull the mirror down firmly.

    Object Number: 161478  Size: SH
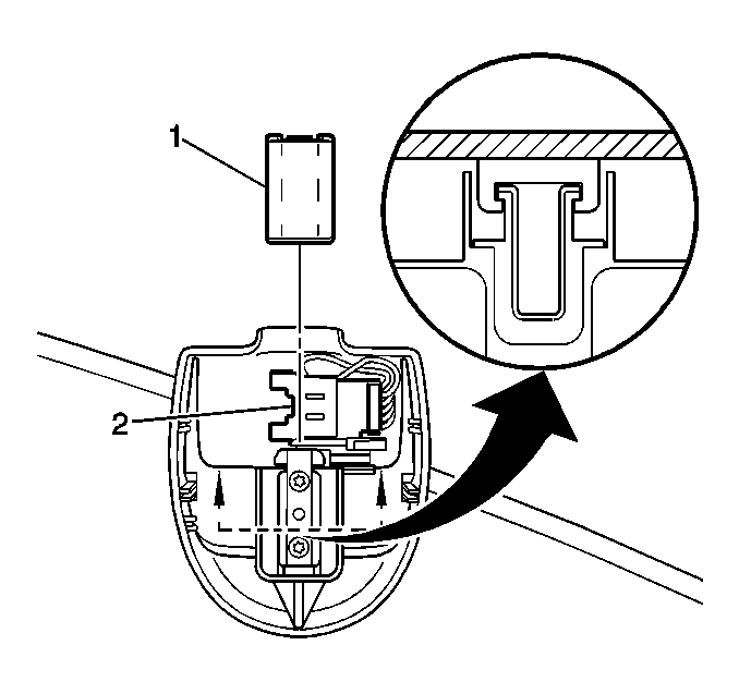
  3. Remove the inside rearview mirror electrical connector (2).
  4. Remove the inside rearview mirror support (1).
  5. Unsnap the inside rearview mirror base cover.

Installation Procedure


    Object Number: 161478  Size: SH
  1. Install the inside rearview mirror base cover.
  2. Install the inside rearview mirror electrical connector (2).

  3. Object Number: 161480  Size: SH
  4. Perform the following steps to install the inside rearview mirror:
  5. 3.1. Center the bottom of the inside rearview mirror to the lower part of the support.

            Notice: Do NOT pull rearward on the rearview mirror while installing or removing the mirror. Damage to the support or to the windshield may occur.

    3.2. Rock the inside rearview mirror from side to side while pushing upward firmly. Take care not to damage the windshield.
    3.3. An audible click is heard when the inside rearview mirror is fully seated.

    Object Number: 161479  Size: SH
  6. Snap the inside rearview mirror base cover to the inside rearview mirror.