GM Service Manual Online
For 1990-2009 cars only
Makes
🢒
Cadillac
🢒
2000
🢒
Catera
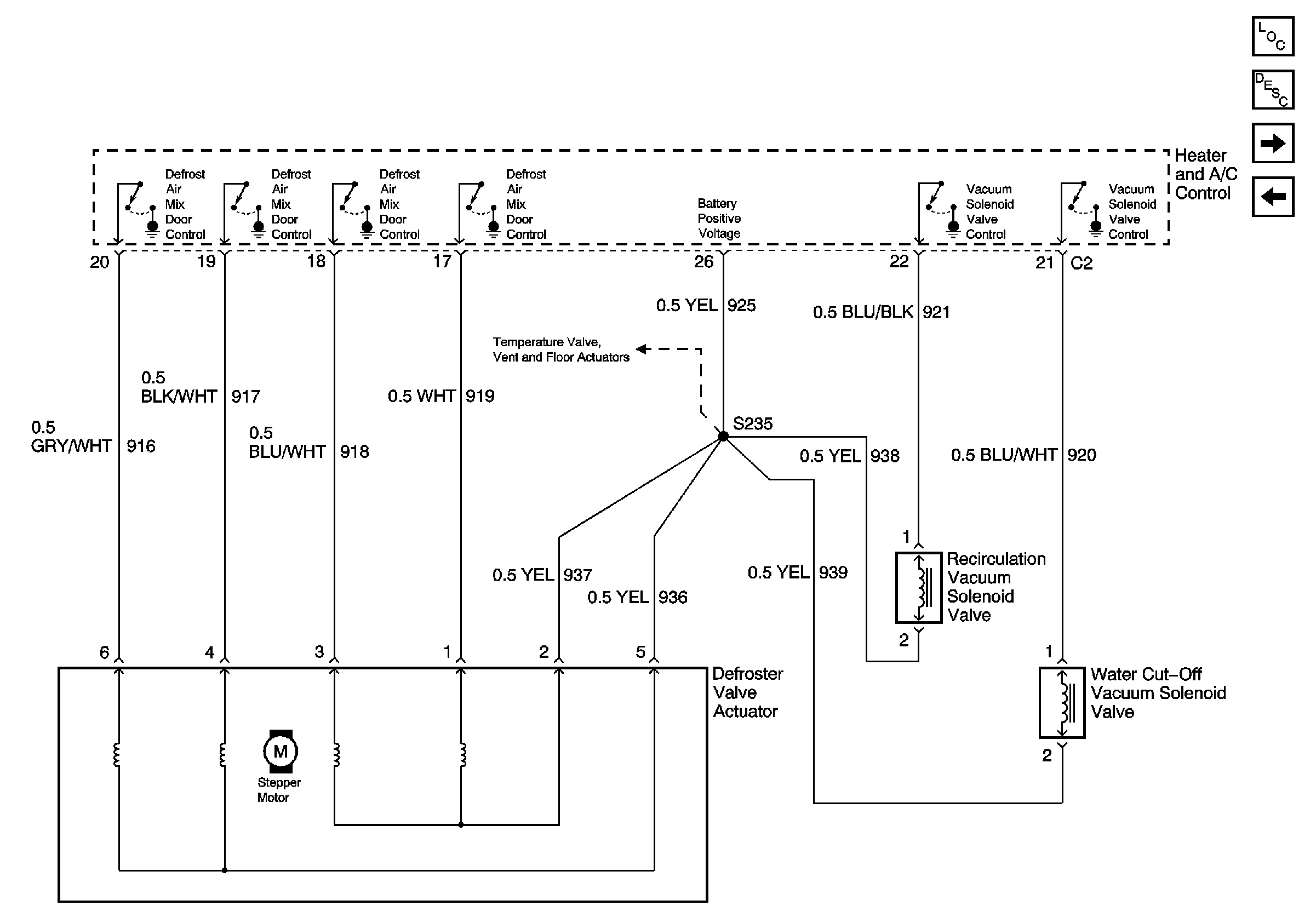
🢒 Defrost Actuator, Recirc and Water Cut-Off Vacuum Solenoid ValvEs
Defrost Actuator, Recirc and Water Cut-Off Vacuum Solenoid ValvEs
HVAC Defrost Valve Actuator and Vacuum Solenoid Valves