GM Service Manual Online
For 1990-2009 cars only
Makes
🢒
Cadillac
🢒
2000
🢒
Catera
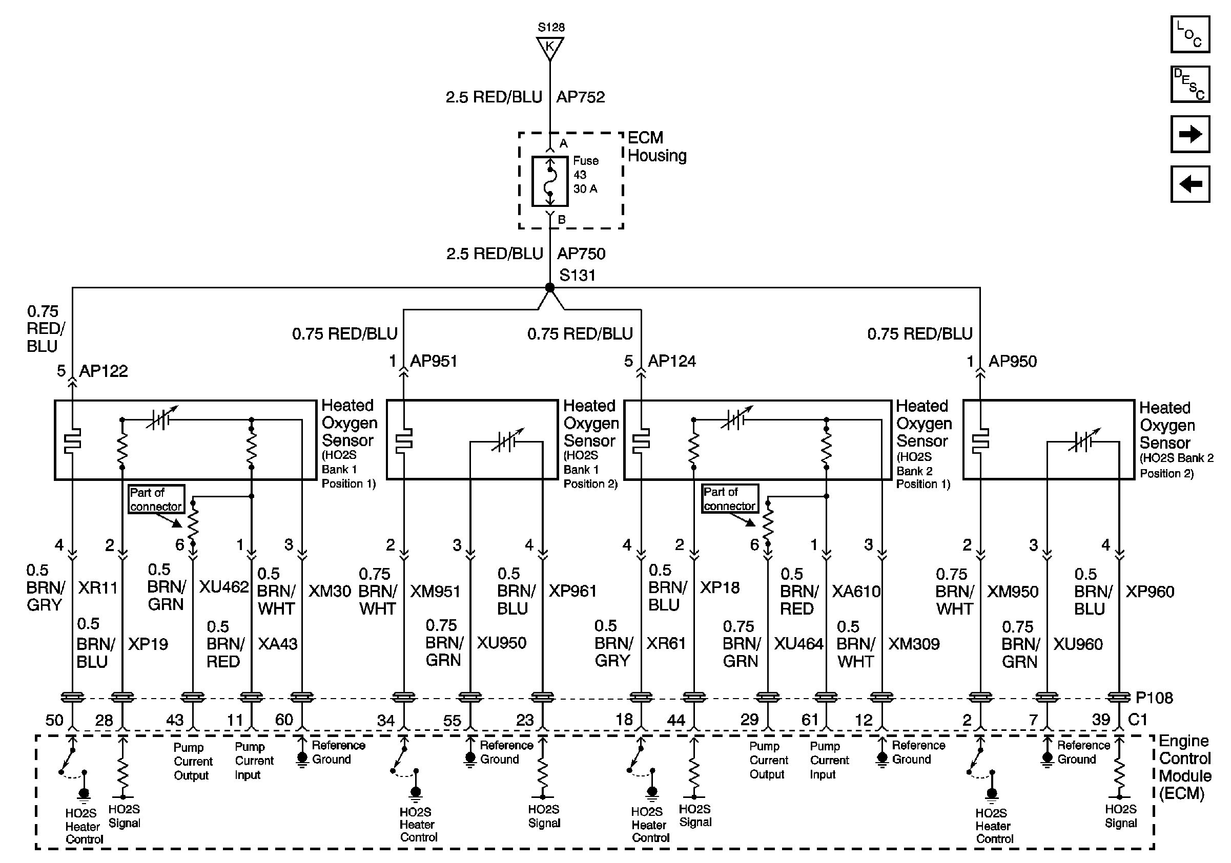
🢒 Heated Oxygen Sensors
Heated Oxygen Sensors
Heated Oxygen Sensors
Master Electrical Component List
Information Sensors
EVAP Tank, Purge and Intake Plenum, Resonance Solenoid Valves
Air Injection Pump, Air Injection Pump Relay K12, MAF and ECT Sensors