GM Service Manual Online
For 1990-2009 cars only

Circuit Description

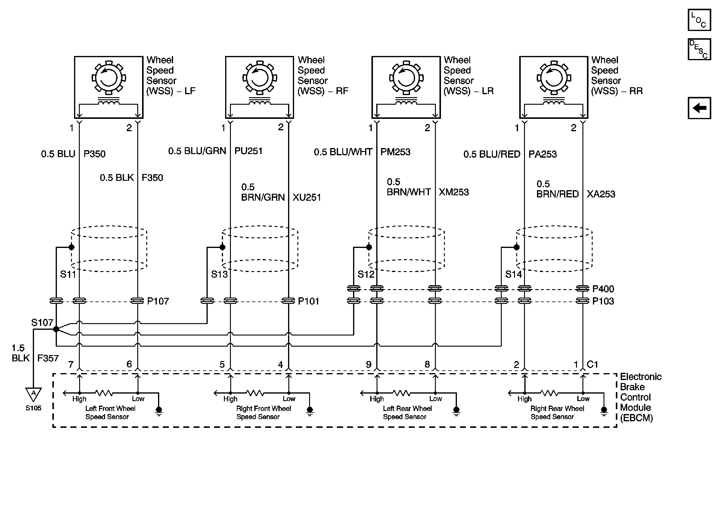
The speed sensor used on this vehicle is a single point magnetic pickup. This sensor produces an AC signal that the EBCM uses the frequency from to calculate the wheel speed.

Conditions for Setting the DTC

    • The EBCM detects a deviation between the left and right rear wheel speeds of greater than 6 km/h (3.75 mph) at a vehicle speed of less than 100 Km/h (62 mph).
    • The EBCM detects a deviation between the left and right front wheel speeds of greater than 10 Km/h (6.25 mph) at a vehicle speed of less than 100 Km/h (62 mph).
    • The EBCM detects a deviation between the left and right rear wheel speeds of greater than 6 % of the vehicle speed at greater than 100 km/h (62 mph).
    • The EBCM detects a deviation between the left and right front wheel speeds of greater than 4 km/h (2.5 mph) plus 6 % of the vehicle speed at greater than 100 km/h (62 mph).

This DTC will set when the EBCM cannot specifically identify which wheel speed sensor is causing the malfunction. If the EBCM can identify a specific wheel speed sensor causing the malfunction, the DTC associated with the sensor (DTC C0035, DTC C0040, DTC C0045, or DTC C0050) will be set.

Action Taken When the DTC Sets

    • A malfunction DTC stores.
    • The ABS/TCS disables.
    • The amber ABS/TCS indicator(s) turn on.

Conditions for Clearing the DTC

    • The condition responsible for setting the DTC no longer exists and the scan tool Clear DTCs function is used.
    • 100 ignition cycles pass with no DTC(s) detected.

Diagnostic Aids

    • It is very important that a thorough inspection of the wiring and connectors be performed. Failure to carefully and fully inspect wiring and connectors may result in misdiagnosis, causing part replacement with reappearance of the malfunction.
    • Thoroughly inspect any circuitry that may be causing the complaint for the following conditions:
       - Backed out terminals
       - Improper mating
       - Broken locks
       - Improperly formed or damaged terminals
       - Poor terminal-to-wiring connections
       - Physical damage to the wiring harness
    • The following conditions may cause an intermittent malfunction:
       - A poor connection
       - Rubbed-through wire insulation
       - A broken wire inside the insulation
    • If the customer's comments reflect that the amber ABS/TCS indicator is on only during moist environmental conditions (rain, snow, vehicle wash), inspect all the wheel speed sensor circuitry for signs of water intrusion. If the DTC is not current, clear all DTCs and simulate the effects of water intrusion by using the following procedure:
        1. Spray the suspected area with a five percent saltwater solution.

Add two teaspoons of salt to twelve ounces of water to make a five percent saltwater solution.

        2. Test drive the vehicle over various road surfaces (bumps, turns, etc.) above 40 km/h (25 mph) for at least 30 seconds.
        3. If the DTC returns, replace the suspected harness.
    • If an intermittent malfunction exists refer to Intermittents and Poor Connections in Wiring Systems for further diagnosis.

Possible causes for DTC C0245 to set:

    • Damaged or missing teeth on one or more if the wheel speed sensor rings.
    • Large grooves or gouges, or buildup of foreign material in the gaps between the wheel speed sensor ring teeth.
    • A worn front hub bearing assembly, or worn inner axle bearing which could allow the sensor to toothed ring gap to change excessively.

Test Description

The numbers below refer to step numbers on the diagnostic table.

  1. If DTC C0245 is a history code, this step checks if a specific wheel speed Circuit DTC is set concurrently with DTC C0245.

  2. This step checks if the wheel speed sensor harness is routed in close proximity to the spark plug wires.

  3. In this step, if the scan tool can record any erroneous wheel speed sensor signals, diagnose that sensor(s) first.

DTC C0245 Wheel Speed Sensor Frequency Error

Step

Action

Value(s)

Yes

No

Schematic Reference:

Wheel Speed Sensors (WSS)


Object Number: 596310  Size: FS

1

Was the Diagnostic System Check performed?

--

Go to Step 2

Go to Diagnostic System Check - ABS

2

Is the following DTC(s) set concurrently with a history DTC C0245?

    • DTC C0035
    • DTC C0040
    • DTC C0045
    • DTC C0050

--

Go to Diagnostic Trouble Code (DTC) List for the Appropriate DTC Table

Go to Step 3

3

Inspect all of the WSS and WSS rings for physical damage.

Is physical damage of any WSS or WSS ring evident?

--

Go to Step 4

Go to Step 5

4

Replace the WSS or WSS ring. Refer to the appropriate procedure.

    •  Front Wheel Speed Sensor Replacement for front WSS
    •  Rear Wheel Speed Sensor Replacement for rear WSS
    •  Rear Wheel Speed Sensor Ring Replacement for rear WSS ring

Is the replacement complete?

--

Go to Step 12

--

5

  1. Check for Proper routing of the wheel speed sensor harnesses.
  2. Check that the wheel speed sensor harnesses are routed away from the spark plug coils.

Are the wheel speed sensor harnesses properly routed?

--

Go to Step 7

Go to Step 6

6

Reroute the wheel speed sensor harness away from the spark plug coils. Refer to Electromagnetic Interference .

Is the repair complete?

--

Go to Step 12

--

7

  1. Install a scan tool.
  2. Turn the ignition switch to the ON position.
  3. Set the scan tool to Snap Shot Auto Trigger mode and monitor the wheel speed sensors.
  4. Carefully drive the vehicle above 12 km/h (8 mph) for several minutes

Did the scan tool trigger on any of the wheel speed sensors?

--

Go to Step 8

Go to Step 9

8

Note which wheel speed sensor triggered the scan tool. Follow the appropriate Wheel Speed Sensor DTC table for the wheel speed sensor that triggered. Refer to Diagnostic Trouble Code (DTC) List .

Is the repair complete?

--

Go to Diagnostic System Check - ABS

--

9

  1. Reconnect all previously disconnected components.
  2. Using a scan tool clear the DTC.
  3. Remove the scan tool from the DLC.
  4. Carefully drive the vehicle above 12 km/h (8 mph) for several minutes.

Does the DTC reset as a current DTC?

--

Go to Step 11

Go to Step 10

10

Malfunction is intermittent. Inspect all connectors and harnesses for damage that may result in an open or high resistance when connected. Refer to Wiring Repairs in Wiring Systems.

Is the repair complete?

--

Go to Diagnostic System Check - ABS

--

11

Replace the EBCM. Refer to Electronic Brake and Traction Control Module Replacement .

Is the replacement complete?

--

Go to Diagnostic System Check - ABS

--

12

  1. Reconnect all previously disconnected components.
  2. Using a scan tool clear the DTC.
  3. Remove the scan tool from the DLC.
  4. Carefully drive the vehicle above 12 km/h (8 mph) for several minutes.

Does the DTC reset as a current DTC?

--

Go to Step 2

Go to Diagnostic System Check - ABS