GM Service Manual Online
For 1990-2009 cars only

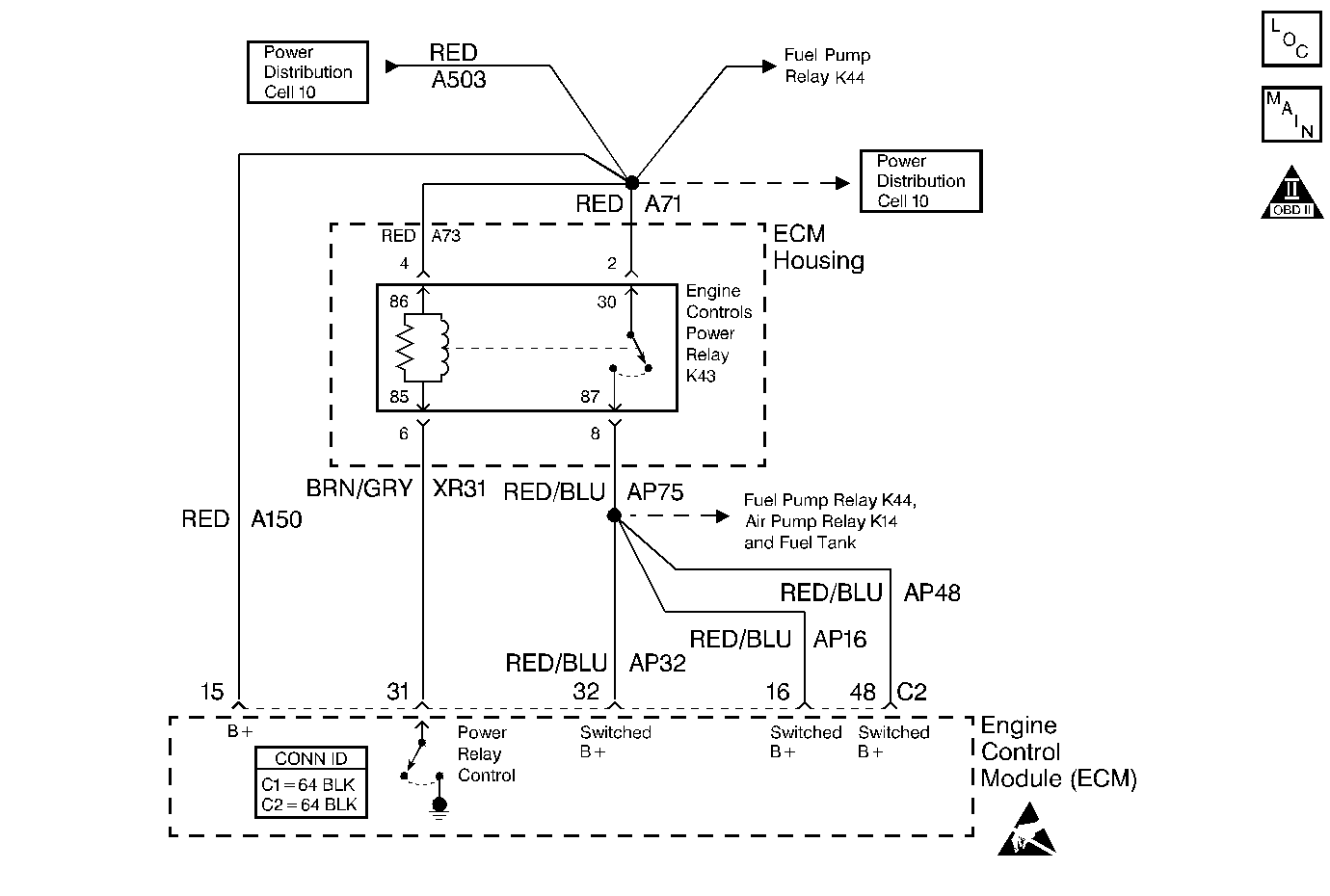
Object Number: 413947  Size: MF
Engine Controls Components
Power, Ground, VSS, and MIL
OBD II Symbol Description Notice
Handling ESD Sensitive Parts Notice

Circuit Description

The engine control module (ECM) continuously monitors the system voltage. Since voltages that are below 10.0 volts or more than 17 volts could cause an improper system operation and/or component damage, the ECM operates in a default mode if an ECM voltage DTC is set. If the system voltage is low, the ECM will raise the idle speed in order to increase the generator output. If the system voltage is high, the ECM disables most outputs in order to protect the hardware. The serial data is disrupted when the system voltage is below 10 volts or more than 16 volts. A scan tool may not display the data if the system voltage is outside of this range.

Conditions for Running the DTC

The vehicle speed is more than 0 km/h.

Conditions for Setting the DTC

The system voltage measured at the ECM is less than 10 volts for 200 ms.

OR

The system voltage measured at the ECM is more than 17 volts for 200 ms.

Action Taken When the DTC Sets

    • The ECM will not illuminate the malfunction indicator lamp (MIL).
    • The ECM will record operating conditions in Freeze Frame on the first drive trip that the diagnostic runs and fails, Fail Pending.

Conditions for Clearing the DTC

    • A History DTC clears after forty consecutive warm-up cycles if no failures report by this diagnostic or any other emission related diagnostic.
    • The scan tool clears the DTC.

Diagnostic Aids

    • An extremely low voltage, below 7.5 volts, may cause the loss of serial data and the MIL may not function. A low system voltage may cause the other DTCs to set.
    • Using the Freeze Frame data may aid in locating an intermittent condition. If the DTC cannot be duplicated, review the information in the Freeze Frame. Try to operate the vehicle within the same Freeze Frame conditions, the RPM, the MAF, the vehicle speed, the temperature, etc., that were noted. This process may help in order to recreate the malfunction.

Test Description

The numbers below refer to the step numbers on the diagnostic table.

  1. This step tests for excessive generator output. The voltage should remain less than 17.0 volts.

  2. This step tests the charging system under load at idle. The voltage should remain more than 10.0 volts.

DTC P0560 System Voltage

Step

Action

Values

Yes

No

1

Did you perform the Powertrain On-Board Diagnostic (OBD) System Check?

--

Go to Step 2

Go to Powertrain On Board Diagnostic (OBD) System Check

2

  1. Start the engine.
  2. Turn OFF all of the accessories.
  3. Raise the engine speed to at least 2500 RPM.
  4. Use a scan tool in order to measure the battery voltage.

Is the voltage more than the specified value?

17 V

Go to Step 4

Go to Step 3

3

  1. Allow the engine to idle at a normal operating temperature.
  2. Load the engine by turning on the headlights and the high blower.
  3. Use the scan tool in order to measure the battery voltage.

Is the voltage less than the specified value?

10 V

Go to Step 5

Go to Step 8

4

  1. Allow the engine to idle at a normal operating temperature.
  2. Verify that all of the accessories are off.
  3. Raise the engine speed to at least 2500 RPM.
  4. Use a digital multimeter (DMM) in order to measure the battery voltage at the battery.

Is the voltage more than the specified value?

17 V

Go to Diagnostic System Check - Engine Electrical in Engine Electrical

Go to Step 8

5

  1. Allow the engine to idle at a normal operating temperature.
  2. Load the engine by turning ON the headlights and the high blower.
  3. Use the DMM in order to measure the battery voltage at the battery.

Is the voltage less than the specified value?

10 V

Go to Diagnostic System Check - Engine Electrical in Engine Electrical

Go to Step 6

6

  1. Turn OFF the ignition.
  2. Disconnect the engine control module (ECM).
  3. Turn ON the ignition, with the engine OFF.
  4. Using the DMM in order to measure the voltage at the battery feed circuit of the ECM harness connector.

Is the voltage less than the specified value?

10 V

Go to Step 10

Go to Step 7

7

Inspect for any poor connections at the ECM. Refer to Connector Repairs in Wiring Systems.

Did you find and correct the condition?

--

Go to Step 11

Go to Step 8

8

  1. Reconnect the ECM (if previously disconnected).
  2. Clear the DTCs with the scan tool.
  3. Turn OFF the ignition for 15 seconds.
  4. Operate the vehicle within the conditions required for this diagnostic to run. Refer to Conditions for Running the DTC.
  5. Inspect for any DTCs.

Is this DTC set?

--

Go to Step 9

Go to Diagnostic Aids

9

Important: 

   • Perform the Idle Learn Procedure when replacing the ECM or the throttle body.
   • This vehicle is equipped with a theft deterrent system that interfaces with the ECM. Program the new ECM with the frequency code of the theft deterrent module that is currently on the vehicle.

Replace the ECM. Refer to Engine Control Module Replacement/Programming .

Did you complete the replacement?

--

Go to Step 11

--

10

Repair the high resistance in the battery feed circuit to the ECM. Refer to Wiring Repairs in Wiring Systems.

Did you complete the repair?

--

Go to Step 11

--

11

  1. Use the scan tool in order to clear the DTCs.
  2. Start the engine.
  3. Allow the engine to idle until the engine reaches a normal operating temperature.
  4. Select DTC and the Specific DTC function.
  5. Enter the DTC number that was set.
  6. Operate the vehicle within the Conditions for Running the DTC until the scan tool indicates that the diagnostic Ran.

Does the scan tool indicate that the diagnostic Passed?

--

Go to Step 12

Go to Step 2

12

Does the scan tool display any additional, undiagnosed DTCs?

--

Go to applicable DTC table

System OK