GM Service Manual Online
For 1990-2009 cars only

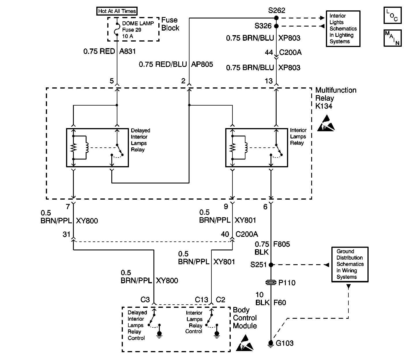
Object Number: 606461  Size: LF
Body Control Module Components
Multifunction Relay K134

Circuit Description

The delayed interior lighting (DIL) feature, a battery guard for the courtesy lamps, provides automatic shut off of all the interior lamps if they are accidently left On (inadvertent power).

The Body Control Module (BCM) deactivates the output to the DIL relay when any of the following occurs:

    • 10 minutes after the ignition switch transitions from On to Off.
    • The ignition switch is in the Start position.

The 10 minute time-out period resets anytime the BCM wakes up and any of the following states are detected:

    • Illuminated Entry i.e.
       - A door is opened or closed.
       - A RFI Class 2 message is received (driver door unlock).
       - An input (unlock) from the drivers door lock switch.
    • The trunk lid is opened or closed.
    • The interior lights are turned On from the headlamp switch.

The BCM continues to energize the DIL relay when the ignition switch is in the On position. No time-out period occurs in this position. When the DIL relay is energized it supplies power to the interior lights and the high side of the interior lamp relay coil.

Conditions for Setting the DTC

Important: DTC B1971 will not appear as a current code with the BCM awake, however it will appear as a history code. DTC B1971 will clear anytime the BCM wakes up, even if the fault is current. In order to determine if DTC B1971 is current, observe the scan tool with the ignition in the OFF position, doors closed, and all BCM inputs inactive for 10 minutes.

The BCM monitors the output to the DIL relay every second at terminal C3. The fault code sets when the commanded state doe not match the feedback for 2 seconds (open circuit, short to B+ or ground).

Action Taken When the DTC Sets

    • The BCM continues to command the requested state of the relay until it is achieved or is no longer necessary.
    • Stores a DTC B1971 in the BCM memory.

Conditions for Clearing the DTC

    • The conditions for the fault are no longer present.
    • A history DTC will clear after 50 consecutive ignition cycles if the condition for the fault is no longer present.
    • The use of the scan tool.

Diagnostic Aids

    • Check the following if a history DTC is indicated:
       - In order to determine if DTC B1971 is current, observe the scan tool with the ignition in the OFF position, doors closed, and all BCM inputs inactive for 10 minutes.
       - A damaged wiring harness. Inspect the wiring harness for damage.
       -  If the wiring harness appears to be in good condition, observe the display on the DMM while moving connectors and wiring harnesses related to the BCM.
       - Inspect the wiring harness connectors for backed out terminals, improper mating, improperly formed or damaged terminals, and poor wire terminal to wire connections.
    • For additional information, refer to Inducing Intermittent Fault Conditions in Wiring Systems.

Test Description

The following numbers refer to the step numbers on the diagnostic table:

  1. When the DIL relay is commanded On/Off the status should match the commanded state. In most cases a no change in status indicates a circuit problem.

  2. This step inspects for an open in the DOME LAMP fuse. An open fuse would indicate a short to ground in the DIL relay coil side feed circuit or the DIL relay output circuit.

  3. This test verifies that the BCM is providing ground to the DIL relay.

Step

Action

Yes

No

1

Did you perform the Lighting Systems Diagnostic System Check?

Go to Step 2

Go to Diagnostic Starting Point - Lighting Systems

2

  1. Turn ON the ignition , with the engine OFF.
  2. With a scan tool, select DELAY INTERIOR LIGHTS from the Light Test Menu in Special Functions.
  3. Press the On/Off buttons on the scan tool to change the command state from On to Off.

Does the DIL relay feedback status turn ON and OFF with each command?

Go to Diagnostic Aids

Go to Step 3

3

Check if the DOME LAMP fuse is open.

Is the DOME LAMP fuse open?

Go to Step 9

Go to Step 4

4

  1. Turn OFF the ignition.
  2. Disconnect the multifunction relay connector.
  3. Turn ON the ignition, with the engine OFF.
  4. Probe the coil side feed circuit of the DIL relay connector with a test lamp that is connected to a good ground.

Does the test lamp illuminate?

Go to Step 5

Go to Step 10

5

  1. Connect a test lamp between the control circuit of the DIL relay and the coil side feed circuit of the DIL relay.
  2. Press the ON/OFF buttons on the scan tool to change the command state from On to Off.

Does the test lamp command ON and OFF with each command?

Go to Step 13

Go to Step 6

6

Does the test lamp remain illuminated with each command?

Go to Step 11

Go to Step 7

7

Test the control circuit of the DIL relay for an open or high resistance. Refer to Circuit Testing and Wiring Repairs in Wiring Systems.

Did you find and correct the condition?

Go to Step 15

Go to Step 8

8

Test the control circuit of the DIL relay for a short to B+. Refer to Circuit Testing and Wiring Repairs in Wiring Systems.

Did you find and correct the condition?

Go to Step 15

Go to Step 14

9

Test the coil side feed of the DIL relay for a short to ground. Refer to Circuit Testing and Wiring Repairs in Wiring Systems.

Did you find and correct the condition?

Go to Step 15

Go to Step 12

10

Test the coil side feed of the DIL relay for an open or high resistance. Refer to Circuit Testing and Wiring Repairs in Wiring Systems.

Did you find and correct the condition?

Go to Step 15

--

11

Test the control circuit of the DIL relay for a short to ground. Refer to Circuit Testing and Wiring Repairs in Wiring Systems.

Did you find and correct the condition?

Go to Step 15

--

12

Test the output circuit of the DIL relay for a short to ground. Refer to Circuit Testing and Wiring Repairs in Wiring Systems.

Did you find and correct the condition?

Go to Step 15

--

13

Replace the multifunction relay.

Is the replacement complete?

Go to Step 15

--

14

Important: Perform the set up procedure for the BCM control module.

Replace the BCM. Refer to Body Control Module Replacement in Body Control System.

Is the replacement complete?

Go to Step 15

--

15

  1. Use the scan tool in order to clear any DTCs.
  2. Verify the BCM operation as in Step 2.

Does the BCM operate properly?

System OK

--