GM Service Manual Online
For 1990-2009 cars only

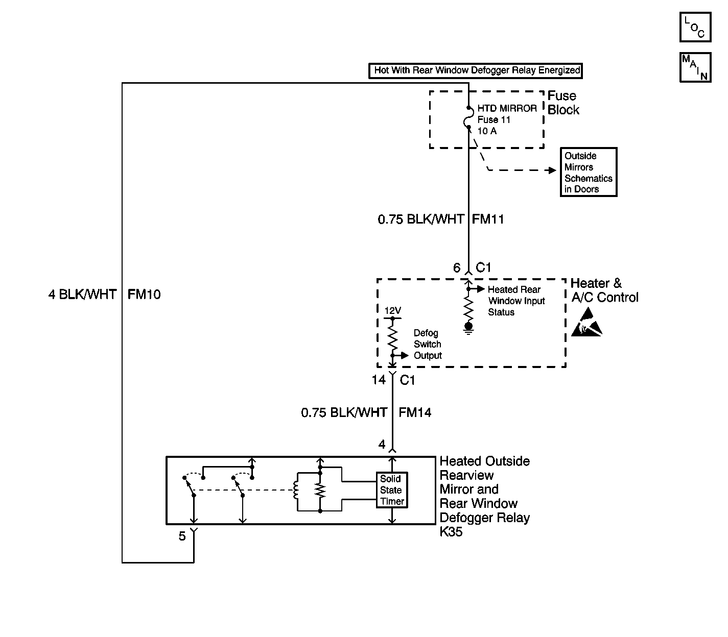
Object Number: 607183  Size: LF
Stationary Windows Components
Rear Defogger Relay and Radio Antenna Amplifier
Outside Rearview Mirror Schematics

Circuit Description

The heater and A/C control module provides between 6-8 Volts to the control circuit of the heated outside rearview mirror and rear window defogger relay. When the rear window defogger switch is depressed. The heater and A/C control module energizes the heated outside rearview mirror and rear window defogger relay by momentarily supplying battery positive voltage to the to the control circuit of the relay. The heater and A/C control module tests the control circuit of the heated outside rearview mirror and rear window defogger relay every 150 milliseconds.

Conditions for Running the DTC

    • The engine is running.
    • The rear window defogger is enabled.

Conditions for Setting the DTC

A short to ground on the control circuit of the heated outside rearview mirror and rear window defogger relay.

Action Taken When the DTC Sets

The rear window defogger is disabled.

Conditions for Clearing the DTC

    • A history DTC will clear after 20 consecutive ignition cycles if the condition for the fault is no longer present.
    • A short to ground on the control circuit of the heated outside rearview mirror and rear window defogger relay is no longer present.

Step

Action

Value(s)

Yes

No

1

Did you perform the Stationary Windows Diagnostic System Check?

--

Go to Step 2

Go to Diagnostic System Check - Stationary Windows

2

  1. Start the engine.
  2. Depress the rear window defogger switch.
  3. Observe the rear window defogger indicator on the Heater and A/C Control Module.

Does the rear window defogger indicator illuminate?

--

Go to Testing for Intermittent Conditions and Poor Connections in Wiring Systems

Go to Step 3

3

  1. Turn OFF the ignition.
  2. Disconnect the Heated Outside Rearview Mirror and Rear Window Defogger relay.
  3. Turn ON the ignition, with the engine OFF.
  4. Measure the voltage from the Heated Outside Rearview Mirror and Rear Window Defogger relay control circuit to a good ground.

Does the voltage measure within the specified range?

6 - 8 V

Go to Step 5

Go to Step 4

4

Test the control circuit of the Heated Outside Rearview Mirror and Rear Window Defogger relay for a short to ground. Refer to Circuit Testing and Wiring Repairs in Wiring Systems.

Did you find and correct the condition?

--

Go to Step 9

Go to Step 6

5

Inspect for a poor connection at the Heated Outside Rearview Mirror and Rear Window Defogger relay. Refer to Testing for Intermittent Conditions and Poor Connections and Connector Repairs in Wiring Systems.

Did you find and correct the condition?

--

Go to Step 9

Go to Step 7

6

Inspect for a poor connection at the harness connector of the Heater and A/C Control Module. Refer to Testing for Intermittent Conditions and Poor Connections and Connector Repairs in Wiring Systems.

Did you find and correct the condition?

--

Go to Step 9

Go to Step 8

7

Replace the Heated Outside Rearview Mirror and Rear Window Defogger relay.

Did you complete the replacement?

--

Go to Step 9

--

8

Replace the Heater and A/C Control Module. Refer to Control Assembly Replacement in HVAC Systems - Automatic.

Did you complete the replacement?

--

Go to Step 9

--

9

  1. Use a scan tool in order to clear the DTCs.
  2. Operate the vehicle within the Conditions for Running the DTC as specified in the supporting text.

Does the DTC reset?

--

Go to Step 2

System OK