GM Service Manual Online
For 1990-2009 cars only

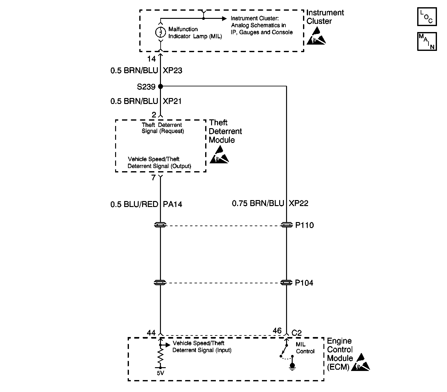
Object Number: 606801  Size: LF
Theft Deterrent System Components
Immobilizer: Power, Ground, DLC, and Vehicle Speed Input

Circuit Description

When the ignition switch is turned ON, the Engine Control Module (ECM) sends a signal over the lamp circuit to terminal 2 of the Theft Deterrent Module (Immobilizer) requesting the frequency code (imo signal).

After the Theft Deterrent Module (TDM) receives and recognizes the transponder code signal from the key, the module internally switches from the speed signal circuit and sends the imo signal to the ECM from terminal 7. The ECM receives the imo signal at terminal 44.

Conditions for Setting the DTC

    • The TDM does not receive the request signal from the ECM immediately after the ignition is switched On.
    • A short to ground in the imo request circuit.
    • An open in the imo request circuit.
    • All the above conditions must be fulfilled for at least 0.51 seconds.

Action Taken When the DTC Sets

    • The MIL does not illuminate when the conditions for setting this DTC is due to an open in the imo request circuit.
    • The TDM stores a DTC 17 and/or DTC 18 in memory.

Conditions for Clearing the DTC

    • Conditions for the fault are no longer present.
    • Using a scan tool.

Diagnostic Aids

Check the following conditions if a history or intermittent DTC is indicated:

    • A poor connection at the TDM or ECM. Inspect the wiring harness connectors for backed out terminals, improper mating, improperly formed or damaged terminals, and poor terminal to wire connections.
    • A damaged wiring harness. Inspect the wiring harness for damage. If the wiring harness appears to be in good condition, observe the display on the DMM while moving the connectors and wiring harnesses related to the TDM and ECM.
    • For additional information, refer to Inducing Intermittent Fault Conditions in Wiring Systems.

Test Description

The number(s) below refer to the step number(s) on the diagnostic table.

  1. The scan tool displays and indicates whether the Theft Deterrent Module (TDM) has received a request signal from the Engine Control Module (ECM).

  2. If the DTC continues to reset and the circuits are OK, the possibility exists that either the TDM or the ECM may be at fault. The only way to determine which one is by trail and error. Replace the TDM first.

  3. After determining that the TDM is OK, replace the ECM.

Step

Action

Value(s)

Yes

No

1

Did you perform the Theft Deterrent Diagnostic System Check?

--

Go to Step 2

Go to Diagnostic System Check - Theft Deterrent

2

  1. Install a scan tool.
  2. Select IMMOBILIZER on the scan tool.
  3. Turn ON the ignition, with the engine OFF.
  4. Select ENGINE REQUEST from the data list.

Does the scan tool display the parameter RECEIVED?

--

Go to Step 7

Go to Step 3

3

  1. Turn OFF the ignition.
  2. Disconnect the Theft Deterrent Module connector.
  3. Turn ON the ignition, with the engine OFF.
  4. Measure the voltage at terminal 2 (BRN/BLU wire).

Does the voltage measure near the specified value?

12 V

Go to Step 9

Go to Step 4

4

Test for a short to ground in CKT XP21 (BRN/BLU).

Did the test results indicate a short to ground?

--

Go to Step 5

Go to Step 6

5

Locate and repair the short to ground in CKT XP21 (BRN/BLU).

Did you complete the repair?

--

Go to Step 9

--

6

Locate and repair an open in CKT XP21 (BRN/BLU).

Did you complete the repair?

--

Go to Step 9

--

7

Check for a possible intermittent malfunction. Refer to Testing for Intermittent Conditions and Poor Connections in Wiring Systems.

Was an intermittent problem found?

--

Go to Step 8

Go to Step 9

8

Locate and repair the intermittent problem.

Is the repair complete?

--

Go to Step 9

--

9

  1. Reassemble connectors/components removed in previous steps.
  2. Install a scan tool in order to clear DTCs.
  3. Recheck for a current DTC 17 and/or 18.

Is a current DTC 17 or 18 present?

--

Go to Step 10

System OK

10

Replace the Theft Deterrent Module.

Did you complete the repair?

--

Go to Step 11

--

11

  1. Reconnect all connectors and components that were disconnected.
  2. Install the scan tool.
  3. Turn the ignition switch to the ON position.
  4. Select ENGINE REQUEST on the scan tool.

Does the scan tool display RECEIVED?

--

System OK

Go to Step 12

12

  1. Remove the previously installed theft deterrent module.
  2. Replace the ECM.
  3. Reconnect all connectors and components that were disconnected.
  4. Install a scan tool.
  5. Turn ON the ignition, with the engine OFF.
  6. Select ENGINE REQUEST on the scan tool.

Does the scan tool display RECEIVED?

--

System OK

--