GM Service Manual Online
For 1990-2009 cars only

Removal Procedure

  1. Raise and support the vehicle. Refer to Lifting and Jacking the Vehicle in General Information.

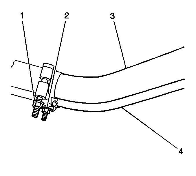
  2. Object Number: 762510  Size: SH
  3. Remove the right exhaust muffler to resonator clamp nut (1).

  4. Object Number: 762508  Size: SH
  5. Remove the muffler pipe flange bolts (1).

  6. Object Number: 231156  Size: SH
  7. Remove the exhaust hanger insulator retainers.

  8. Object Number: 231151  Size: SH
  9. Remove the hanger insulators from the support rods and the muffler.
  10. Rotate and remove the right muffler from the resonator.

Installation Procedure


    Object Number: 231151  Size: SH
  1. Install the right muffler to the resonator.
  2. Install the hanger insulators to the support rods and the muffler.

  3. Object Number: 231156  Size: SH
  4. Install the hanger insulator retainers to the support rods.

  5. Object Number: 762508  Size: SH

    Notice: Use the correct fastener in the correct location. Replacement fasteners must be the correct part number for that application. Fasteners requiring replacement or fasteners requiring the use of thread locking compound or sealant are identified in the service procedure. Do not use paints, lubricants, or corrosion inhibitors on fasteners or fastener joint surfaces unless specified. These coatings affect fastener torque and joint clamping force and may damage the fastener. Use the correct tightening sequence and specifications when installing fasteners in order to avoid damage to parts and systems.

  6. Install the muffler pipe flange bolts (1).
  7. Tighten
    Tighten the muffler pipe flange bolts (1) to 40 N·m (30 lb ft).


    Object Number: 762510  Size: SH
  8. Install the right exhaust muffler to resonator clamp nut (1).
  9. Tighten
    Tighten the right exhaust muffler to resonator clamp nut (1) to 25 N·m (18 lb ft).

  10. Inspect all exhaust system clearances.
  11. Lower the vehicle.
  12. Inspect the exhaust system for leaks.