GM Service Manual Online
For 1990-2009 cars only

Tools Required

J 41416 Ultrasonic Leak Detector

Description

The fuel tank assembly consists of an inner fuel tank, evaporative emission (EVAP) canister, ORVR system and the associated plumbing all encased within an outer fuel tank housing. The outer housing contains a tube that allows air between the inner tank and the outer housing to vent. A leak in any of the internal components of the fuel tank assembly will exit this vent. The vent is located in front of the fuel tank above the fuel filter. If a leak is detected by air exiting this vent while the EVAP system is pressurized, the fuel tank assembly will require replacement. The internal components of the fuel tank assembly are not serviceable. A similar vent for the fuel tank pressure sensor is also located in front of the fuel tank. A leak from this vent while the EVAP system is pressurized indicates the fuel tank pressure sensor is leaking.

Important: Before attempting the Fuel Tank Leak Check, place a dry chemical, Class B, fire extinguisher near the work area.

  1. Remove the fuel tank. Refer to Fuel Tank and Evaporation Emission Canister Replacement .

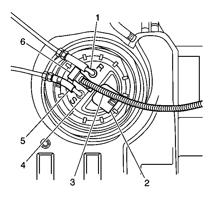
  2. Object Number: 658376  Size: SH
  3. Plug the following connections:
  4. • EVAP purge line
    • EVAP vent line
    • Fuel feed line connection (5)
  5. Install the fuel tank cap.
  6. Continuously pressurize the fuel tank at the fuel sender return connection (1) with compressed air regulated to 7-10 kPa (1-1 1/2 psi).
  7. Test for leaks with the J 41416 . Test the following areas and repair or replace as necessary:
  8. • Fuel tank outer housing vent hose
    • Fuel tank pressure (FTP) sensor vent hose
    • EVAP connections and lines
    • Fuel filler cap and neck
    • Fuel sender assembly O-ring