GM Service Manual Online
For 1990-2009 cars only

Fuel Tank

The fuel storage tank is made of high density polyethylene and is located behind the rear wheels. The fuel storage tank is held in place by two metal straps that are attached to the under body of the vehicle. The tank shape includes a sump in order to maintain a constant supply of fuel around the fuel pump strainer during low fuel conditions or during aggressive maneuvers.

The tank also contains a fuel vapor vent valve with a roll-over protection. The vent valve also features a two phase vent calibration which increases the fuel vapor flow to the canister when the operating temperatures increase the tank pressure beyond an established threshold.

On-Board Refueling Vapor Recovery (ORVR) System

The on-board refueling vapor recovery (ORVR) system is an on-board vehicle system to recover fuel vapors during the vehicle refueling operation. The flow of liquid fuel down to the fuel tank filler neck provides a liquid seal. The purpose of ORVR is to prevent refueling vapor from exiting the fuel tank filler neck. The ORVR components are listed below, with a brief description of their operation:

    • The fuel tank--The fuel tank contains the modular fuel sender, the fuel limiter vent valve, and 3 rollover valves.
    • The fuel filler pipe--The fuel filler pipe carries fuel from the fuel nozzle to the fuel tank.
    • The evaporative emission (EVAP) canister--The EVAP canister receives refueling vapor from the fuel system, stores the vapor, and releases the vapor to the engine upon demand.
    • The vapor lines--The vapor lines transport fuel vapor from the tank assembly to the EVAP canister and engine.
    • The check valve--The check valve limits fuel spit-back from the fuel tank during the refueling operation by allowing fuel flow only into the fuel tank. The check valve is located at the bottom of the fuel filler pipe.
    • The modular fuel sender assembly--The modular fuel sender assembly pumps fuel to the engine from the fuel tank. The fuel tank pressure (FTP) sensor is located on the modular fuel sender cover.
    • The fuel limiter vent valve (FLVV)--The FLVV acts as a shut-off valve. The FLVV is located in the fuel tank. This valve has the following functions:
       - Controlling the fuel tank fill level by closing the primary vent from the fuel tank
       - Preventing fuel from exiting the fuel tank via the vapor line to the canister
       - Providing fuel spillage protection in the event of a vehicle rollover by closing the vapor path from the tank to the engine
    • The pressure vacuum relief valve--The pressure vacuum relief valve provides venting of excessive fuel tank pressure and vacuum. The valve is located in the fuel filler neck.
    • The vapor recirculation line--The vapor recirculation line is used to transport vapor from the fuel tank to the top of the fill pipe during refueling to reduce vapor loading to the enhanced EVAP canister.
    • The variable orifice valve--The variable orifice valve regulates the amount of vapor allowed to enter the vapor recirculation line.

Fuel Tank Filler Pipe

In order to prevent refueling with leaded fuel, the fuel filler pipe has a built-in restrictor and a deflector. The opening in the restrictor will accept only the smaller unleaded gasoline fuel nozzle which must be fully inserted in order to bypass the deflector. The tank is vented during filling by an internal vent tube inside of the filler pipe.

Fuel Filler Cap


Object Number: 104597  Size: SH
(1)Fuel Tank Filler Cap
(2)Fuel Tank Filler Pipe
(3)Fuel Filler Door

Notice: Use a fuel tank filler pipe cap with the same features as the original when a replacement is necessary. Failure to use the correct fuel tank filler pipe cap can result in a serious malfunction of the fuel system.

The fuel tank filler pipe is equipped with a turn to vent screw on the type cap which incorporates a ratchet action in order to prevent over-tightening.

The turn to vent feature allows the fuel tank pressure relief prior to removal. Instructions for proper use are imprinted on the cap cover. A vacuum safety relief valve is incorporated into this cap.

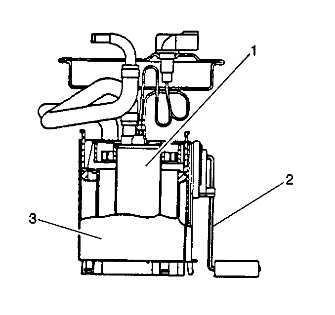
Modular Fuel Sender


Object Number: 20083  Size: SH
(1)The Fuel Pump
(2)The Fuel Gauge Float Arm
(3)The Fuel Reservoir

The modular fuel sender assembly mounts to the threaded opening of the plastic fuel tank with a multi-lipped seal and a threaded retainer (nut). The reservoir, containing the exterior inlet strainer, the electric fuel pump and the pump strainer, maintains contact with the tank bottom. This design provides:

    • Optimum fuel level in the integral fuel reservoir during all fuel tank levels and during driving conditions
    • An improved tank fuel level measuring accuracy
    • An improved coarse straining and added pump inlet filtering
    • More extensive internal fuel pump isolation for noiseless operation

The modular fuel sender assembly maintains an optimum fuel level in the reservoir (bucket). The fuel entering the reservoir is drawn in by the following components:

    • The first stage of the fuel pump through the external strainer
        and/or
    • The secondary umbrella valve
        or
    • The return fuel line, whenever the level of fuel is below the top of the reservoir

Fuel Pump

The electric fuel pump is a turbine pump which is located inside of the modular fuel sender. The electric fuel pump operation is controlled by the engine control module (ECM) through the fuel pump relay.

Fuel Sender Strainers

The strainers act as a coarse filter to perform the following functions:

    • Filter contaminants
    • Separate water from fuel
    • Provide a wicking action that helps draw fuel into the fuel pump

Fuel stoppage at the strainer indicates that the fuel tank contains an abnormal amount of sediment or water. Therefore, the fuel tank will need to be removed and cleaned, and the filter strainer should be replaced. Refer to Fuel System Cleaning .

In-Line Fuel Filter

A metal in-line filter is used in the fuel feed line near the fuel tank. The filter element is made of paper, and is designed to trap particles in the fuel that may damage the injection system.

EVAP Lines and Hoses

The EVAP line extends from the fuel tank vent valve to the EVAP canister and into the engine compartment. The EVAP line is made of nylon and connects to the EVAP canister with a fuel resistant rubber hose and quick connect fittings.

Fuel Pressure Regulator

The fuel pressure regulator is a diaphragm operated relief valve. The fuel pump pressure is on one side of the regulator, and the regulator spring pressure and the intake manifold vacuum are on the other side. The function of the fuel pressure regulator is to maintain a constant fuel pressure under all of the operating conditions. The pressure regulator DOES NOT compensate for the engine load by increasing the fuel pressure as the engine intake manifold vacuum drops. The vent on the fuel pressure regulator is connected to the bottom of the throttle body for an atmospheric vent only. The fuel pressure regulator is mounted on the fuel rail.

With the engine running at idle, the system fuel pressure at the pressure test connection should be between 275-313 kPa (40-46 psi). With the system pressurized and the pump OFF the pressure should stabilize and hold between 240-275 kPa (35-40 psi). If the pressure regulator supplies a fuel pressure which is too low or too high, a driveability condition will result.

Fuel Rail


Object Number: 61654  Size: SH
(1)The Fuel Rail
(2)The Fuel Supply Line
(3)The Fuel Return Line
(4)The Fuel Pressure Regulator

The fuel rail consists of 4 parts:

    • The pipe that carries fuel to each injector
    • The fuel pressure regulator
    • The fuel pressure test port
    • Six individual fuel injectors

The fuel rail is mounted on the intake manifold and distributes the fuel to each cylinder through the individual injectors.

The fuel is delivered from the pump through the fuel feed line to the inlet port of the fuel rail pipe. From the fuel feed inlet, fuel is directed to the rail pipe to the fuel pressure regulator. Any fuel in excess of the injector needs will flow back through the pressure regulator assembly to the outlet port of the fuel rail. The fuel then flows through the fuel return line to the fuel tank to begin the cycle again.

Fuel Injectors

The fuel injector is a solenoid device that is controlled by the ECM. When the ECM energizes the injector coil, a normally closed ball valve opens, allowing the fuel to flow past a director plate to the injector outlet. The director plate has holes that control the fuel flow, generating a dual conical spray pattern of finely atomized fuel at the injector outlet. The fuel from the outlet is directed at both of the intake valves, causing the fuel to become further vaporized before entering the combustion chamber.

The fuel injectors will cause various driveability conditions if the following conditions occur:

    • If the injectors will not open
    • If the injectors are stuck open
    • If the injectors are leaking
    • If the injectors have a low coil resistance

Throttle Body


Object Number: 21407  Size: SH
(1)O-Ring Seals

The throttle body contains a dual throttle valve which controls the amount of air that is being delivered to the engine. A coolant passage under the throttle valve heats the throttle body.

Fuel Pump Relay

The fuel pump relay allows the ECM to energize the fuel pump. The ECM enables the fuel pump whenever the crankshaft position (CKP) sensor pulses are detected.

The function of the fuel and air control system is to manage the fuel and the air delivery to each cylinder, optimizing the performance and the driveability of the engine under all driving conditions. The fuel supply is stored in the fuel tank located behind the rear wheels. The fuel sender allows retrieval of fuel from the tank and also provides information on the fuel level. An electric fuel pump contained in the modular fuel sender pumps the fuel through the nylon lines and an in-line fuel filter to the fuel rail. The pump is designed to provide the fuel at a pressure above the regulated pressure which is needed by the injectors. The fuel is then distributed through the fuel rail to six injectors inside of the intake manifold. The fuel pressure is controlled by a pressure regulator that is mounted on the fuel rail. The fuel system in this vehicle is recirculating. This means that any excess fuel that is not injected into the cylinders is sent back to the fuel tank by a separate nylon line. This removes any air and any vapors from the fuel as well as keeping the fuel cool during hot weather operation. Each fuel injector is located directly above each cylinders two intake valves. The throttle body regulates the air flow from the air cleaner into the intake manifold, which then distributes this air to each cylinders two intake valves.

Unleaded fuel must be used with all of the gasoline engines for a proper emission control system operation. Using unleaded fuel will also minimize any spark plug fouling and extend the engine oil life. Leaded fuel can damage the emission control system, and use of leaded fuel can result in loss of emission warranty coverage.

Engine Fueling

The Catera engine is fueled by six individual injectors, one for each cylinder, that are controlled by the ECM. The ECM controls each injector by energizing the injector coil for a brief period once every other engine revolution. The length of this brief period, or pulse, is carefully calculated by the ECM to deliver the correct amount of fuel for proper driveability and emissions control. The period of time when the injector is energized is called the pulse width and is measured in milliseconds, thousandths of a second.

While the engine is running, the ECM is constantly monitoring the inputs and recalculating the appropriate pulse width for each injector. The pulse width calculation is based on the injector flow rate, mass of fuel the energized injector will pass per unit of time, the desired air/fuel ratio, and actual air mass in each cylinder and is adjusted for battery voltage, short term, and long term fuel trim. The calculated pulse is timed to occur as each cylinders intake valves are closing to attain largest duration and most vaporization.

Fueling during a crank is slightly different than fueling during an engine run. As the engine begins to turn, a prime pulse may be injected to speed starting. As soon as the ECM can determine where in the firing order the engine is, the ECM begins pulsing the injectors. The pulse width during the crank is based on the coolant temperature and the engine load.

The Catera fueling system has several automatic adjustments in order to compensate for the differences in the fuel system hardware, the driving conditions, the fuel used, and the vehicle aging. The basis for the fuel control is the pulse width calculation that is described above. Included in this calculation are an adjustment for the battery voltage, the short term fuel trim, and the long term fuel trim. The battery voltage adjustment is necessary since the changes in the voltage across the injector affect the injector flow rate. The short term and the long term fuel trims are fine and gross adjustments to the pulse width that are designed in order to maximize the driveability and emissions control. These fuel trims are based on the feedback from the oxygen sensors in the exhaust stream and are only used when the fuel control system is in a Closed Loop operation.

Under certain stringent conditions, the fueling system will not energize the injectors, individually or in groups, for a period of time. This is referred to as the fuel shut-off. The fuel shut-off is used in order to improve the traction, save fuel, improve the starting, and protect the vehicle under certain extreme or abusive conditions.

In case of a major internal problem, the ECM is equipped with a back-up fuel strategy for limp in mode that will run the engine until service can be performed.

Sequential Multiport Fuel Injection

The engine control module (ECM) controls the fuel injectors based on information that the ECM receives from several information sensors. Each injector is fired individually in the engine firing order, which is called a sequential multiport fuel injection. This allows precise fuel metering to each cylinder and improves the driveability under all of the driving conditions.

The engine control module (ECM) has several operating modes for fuel control, depending on the information that has been received from the sensors.

Starting Mode

When the ECM detects reference pulses from the crankshaft position (CKP) sensor, the ECM will enable the fuel pump. The fuel pump runs and builds up pressure in the fuel system. The ECM then monitors the mass air flow (MAF), intake air temperature (IAT), engine coolant temperature (ECT), and the throttle position (TP) sensor signal in order to determine the required injector pulse width for starting.

Clear Flood Mode

If the engine is flooded with fuel during starting and will not start, the Clear Flood Mode can be manually selected. To select Clear Flood Mode, push the accelerator to wide open throttle (WOT). With this signal, the ECM will completely turn OFF the injectors and will maintain this stage as long as the ECM indicates a WOT condition with engine speed below 1,000 RPM.

Run Mode

The Run Mode has 2 conditions: Open Loop operation and Closed Loop operation. When the engine is first started and the engine speed is above 480 RPM, the system goes into an Open Loop operation. In an Open Loop operation, the ECM ignores the signals from the oxygen sensors and calculates the required injector pulse width based primarily on inputs from the mass air flow (MAF), intake air temperature (IAT) and engine coolant temperatures (ECT) sensors.

In a Closed Loop, the ECM adjusts the calculated injector pulse width for each bank of injectors based on the signals from each oxygen sensor.

Acceleration Mode

The ECM monitors the changes in the throttle position (TP) and the MAF sensor signals in order to determine when the vehicle is being accelerated. The ECM will then increase the injector pulse width in order to provide more fuel for improved driveability.

Deceleration Mode

The ECM monitors changes in TP and MAF sensor signals to determine when the vehicle is being decelerated. The ECM will then decrease injector pulse width or even shut OFF injectors for short periods to reduce exhaust emissions.

Battery Voltage Correction Mode

The ECM can compensate in order to maintain acceptable vehicle driveability when the ECM sees a low battery voltage condition. The ECM compensates by performing the following functions:

    • Increasing the injector pulse width in order to maintain the proper amount of fuel being delivered
    • Increasing the idle speed to increase the generator output

Fuel Shut-Off Mode

The ECM has the ability to completely turn OFF all of the injectors or selectively turn OFF some of the injectors when certain conditions are met. These fuel shut-off modes allow the ECM to protect the engine from damage and also to improve the vehicles driveability.

The ECM will disable all of the six injectors under the following conditions:

    • Ignition OFF--Prevents engine run-on
    • Ignition ON but no ignition reference signal--Prevents flooding or backfiring
    • A high engine speed--Above the red line
    • A high vehicle speed--Above the rated tire speed
    • The extended high speed closed throttle coastdown--Reduces the emissions and increases engine braking.

The ECM will selectively disable the injectors under the following conditions:

    • The torque management enabled--Transmission shifts or abusive maneuvers.
    • The traction control enabled--In conjunction with the front brakes applying